LEMON Manuals: Even more car manuals for everyone: 1960-2025
Home >> Toyota >> 2008 >> FJ Cruiser 4WD, Part Time >> Repair and Diagnosis >> Engine Performance >> Engine Control System >> Circuit Opening Relay >> On-Vehicle Inspection
April 5, 2026: LEMON Manuals is launched! Read the announcement.

On-Vehicle Inspection

  1. DISCONNECT CABLE FROM NEGATIVE BATTERY TERMINAL 
  2. REMOVE CIRCUIT OPENING RELAY 
    1. Remove the relay block cover upper.
    2. Fig 1: Identifying Relay Block Cover Upper And Circuit Opening Relay
      G05109011Courtesy of © TOYOTA, LICENSE AGREEMENT TMS1002
    3. Remove the circuit opening relay.
  3. INSPECT CIRCUIT OPENING RELAY 
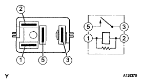
    1. Check the resistance.
      1. Using an ohmmeter, measure the resistance between the terminals.

        Standard resistance 

        STANDARD RESISTANCE

        Tester Connection Specified Condition
        3 - 5 10 kΩ or higher
        Below 1 Ω
        (Battery voltage applied to terminals 1 and 2)
        Fig 2: Identifying EFI Relay
        G05109010Courtesy of © TOYOTA, LICENSE AGREEMENT TMS1002

        If the result is not as specified, replace the circuit opening relay.

  4. INSTALL CIRCUIT OPENING RELAY 
    1. Install the circuit opening relay.
    2. Install the relay block cover upper.
  5. CONNECT CABLE TO NEGATIVE BATTERY TERMINAL 

    Torque: 3.9 N*m (40 kgf*cm, 35 in.*lbf)