LEMON Manuals: Even more car manuals for everyone: 1960-2025
Home >> Toyota >> 2008 >> Land Cruiser >> Repair and Diagnosis >> Accessories & Equipment >> Cruise Control Systems >> Cruise Control System >> Cruise Control System >> System Diagram
April 5, 2026: LEMON Manuals is launched! Read the announcement.

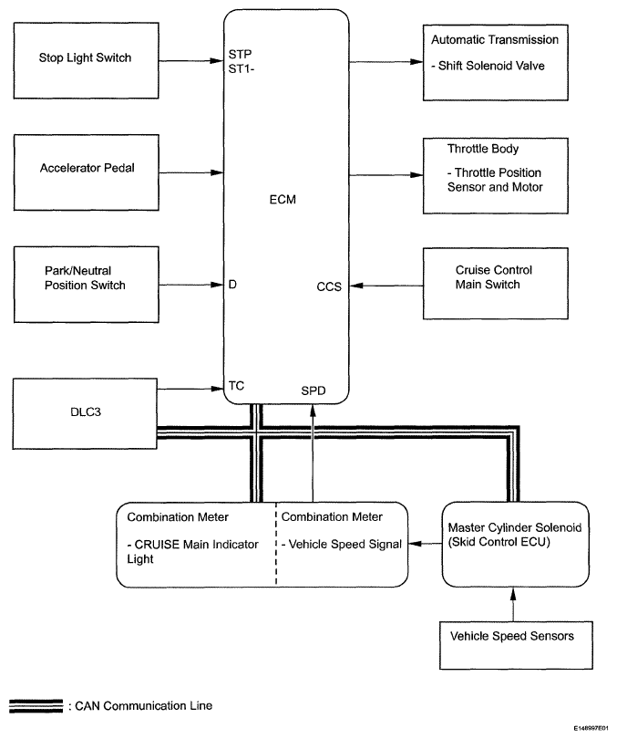
System Diagram

Fig 1: Cruise Control System Diagram
G05638354Courtesy of © TOYOTA, LICENSE AGREEMENT TMS1002

Communication Table 

COMMUNICATION LINE REFERENCE

Transmitter Receiver Signal Communication Line
ECM Combination Meter CRUISE main indicator operation signal CAN