LEMON Manuals: Even more car manuals for everyone: 1960-2025
Home >> Toyota >> 2008 >> Matrix Base, Automatic >> Repair and Diagnosis (Single Page) >> Restraints >> Air Bag, SRS >> Supplemental Restraint System >> Occupant Classification System >> DTC B1782 Rear Occupant Classification Sensor LH Circuit Malfunction >> Wiring Diagram
April 5, 2026: LEMON Manuals is launched! Read the announcement.

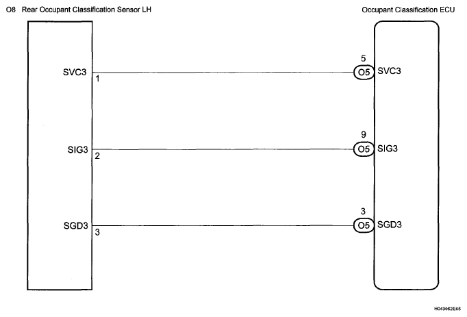
DTC B1782 Rear Occupant Classification Sensor LH Circuit Malfunction: Wiring Diagram

Fig 1: Rear Occupant Classification Sensor LH - Wiring Diagram
G05236532Courtesy of © TOYOTA, LICENSE AGREEMENT TMS1002