LEMON Manuals: Even more car manuals for everyone: 1960-2025
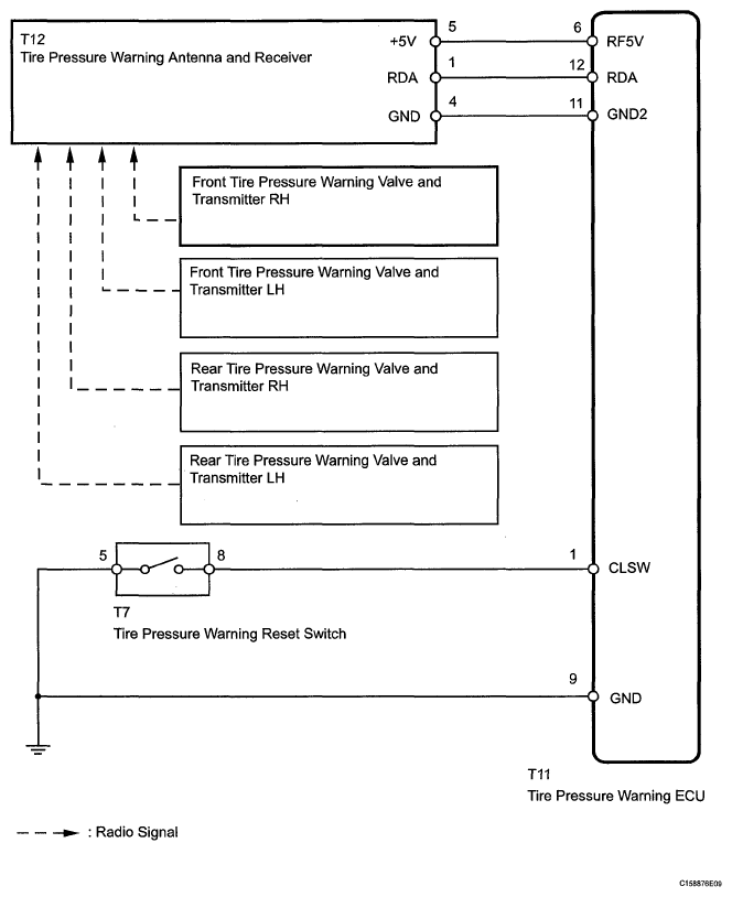
Home >> Toyota >> 2008 >> Matrix Base, Automatic >> Repair and Diagnosis (Single Page) >> Suspension >> Wheels & Tire System >> Tire And Wheel >> Tire Pressure Warning System >> DTC C2121/21 No Signal from Transmitter ID1; DTC C2122/22 No Signal from Transmitter ID2; DTC C2123/23 No Signal from Transmitter ID3; DTC C2124/24 No Signal from Transmitter ID4; DTC C2181/81 Transmitter ID1 not Received (Test Mode DTC); DTC C2182/82 Transmitter ID2 not Received (Test Mode DTC); DTC C2183/83 Transmitter ID3 not Received (Test Mode DTC); DTC C2184/84 Transmitter ID4 not Received (Test Mode DTC) >> Wiring Diagram
April 5, 2026: LEMON Manuals is launched! Read the announcement.

DTC C2121/21 No Signal from Transmitter ID1; DTC C2122/22 No Signal from Transmitter ID2; DTC C2123/23 No Signal from Transmitter ID3; DTC C2124/24 No Signal from Transmitter ID4; DTC C2181/81 Transmitter ID1 not Received (Test Mode DTC); DTC C2182/82 Transmitter ID2 not Received (Test Mode DTC); DTC C2183/83 Transmitter ID3 not Received (Test Mode DTC); DTC C2184/84 Transmitter ID4 not Received (Test Mode DTC): Wiring Diagram

Fig 1: Tire Pressure Warning Antenna And Receiver - Wiring Diagram
G05575835Courtesy of © TOYOTA, LICENSE AGREEMENT TMS1002