LEMON Manuals: Even more car manuals for everyone: 1960-2025
Home >> Toyota >> 2008 >> Matrix Base, Standard >> Repair and Diagnosis >> Brakes >> Traction Control >> Brake Control >> Vehicle Stability Control System >> TS and CG Terminal Circuit >> Inspection Procedure
April 5, 2026: LEMON Manuals is launched! Read the announcement.

Inspection Procedure

NOTE: When replacing the ABS and TRACTION actuator assembly, perform zero point calibration (See CALIBRATION  ).
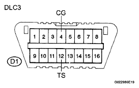
  1. INSPECT DLC3 
    1. Turn the ignition switch to the ON position.
    2. Measure the voltage according to the value(s) in the table below.

      Standard voltage 

      VOLTAGE SPECIFIED CONDITION

      Tester Connection Condition Specified Condition
      D1-12 (TS) - D1-4 (CG) IG switch ON 10 to 14 V
      Fig 1: Identifying DLC3 Connectors Terminals
      G05194961Courtesy of © TOYOTA, LICENSE AGREEMENT TMS1002

    NG:  Go to step  3

    OK: Go to next step 

  2. CHECK HARNESS AND CONNECTOR (TS of DLC3 - SKID CONTROL ECU) 
    1. Disconnect the skid control ECU connector.
    2. Fig 2: Identifying Terminal TS Of Skid Control ECU And DLC3 Connector
      G05194962Courtesy of © TOYOTA, LICENSE AGREEMENT TMS1002
    3. Measure the resistance according to the value(s) in the table below.

      Standard resistance 

      RESISTANCE SPECIFIED CONDITION

      Tester Connection Specified Condition
      S1-24 (TS) - D1-12 (TS) Below 1 Ω
    4. Measure the resistance according to the value(s) in the table below.

      Standard resistance 

      RESISTANCE SPECIFIED CONDITION

      Tester Connection Specified Condition
      S1-24 (TS) - Body ground 10 kΩ or higher

    NG: REPAIR OR REPLACE HARNESS OR CONNECTOR 

    OK: REPLACE ABS AND TRACTION ACTUATOR ASSEMBLY 

  3. CHECK HARNESS AND CONNECTOR (CG of DLC3 - BODY GROUND) 
    1. Measure the resistance according to the value(s) in the table below.

      Standard resistance 

      RESISTANCE SPECIFIED CONDITION

      Tester Connection Specified Condition
      D1-4 (CG) - Body ground Below 1 Ω
      Fig 3: Identifying Terminal CG Of DLC3 Connector
      G05194957Courtesy of © TOYOTA, LICENSE AGREEMENT TMS1002

    NG: REPAIR OR REPLACE HARNESS OR CONNECTOR 

    OK: Go to next step 

  4. CHECK HARNESS AND CONNECTOR (SKID CONTROL ECU - TS of DLC3) 
    1. Disconnect the skid control ECU connector.
    2. Fig 4: Identifying Terminal TS Of Skid Control ECU And DLC3 Connectors
      G05194962Courtesy of © TOYOTA, LICENSE AGREEMENT TMS1002
    3. Measure the resistance according to the value(s) in the table below.

      Standard resistance 

      RESISTANCE SPECIFIED CONDITION

      Tester Connection Specified Condition
      S1-24 (TS) - D1-12 (TS) Below 1 Ω
    4. Measure the resistance according to the value(s) in the table below.

      Standard resistance 

      RESISTANCE SPECIFIED CONDITION

      Tester Connection Specified Condition
      S1-24 (TS) - Body ground 10 kΩ or higher

    NG: REPAIR OR REPLACE HARNESS OR CONNECTOR 

    OK: REPLACE ABS AND TRACTION ACTUATOR ASSEMBLY