LEMON Manuals: Even more car manuals for everyone: 1960-2025
Home >> Toyota >> 2008 >> Matrix Base, Standard >> Repair and Diagnosis >> External Pages >> Different car >> Section 43 (Charging System (Service Information)) >> Generator >> Reassembly >> Reassembly
April 5, 2026: LEMON Manuals is launched! Read the announcement.

Section 43 (Charging System (Service Information)): Generator: Reassembly: Reassembly

WARNING: This page is about a different car, the 2011 Toyota Avalon. However, it is still accessible from the selected car via links, so may be relevant.
  1. INSTALL GENERATOR DRIVE END FRAME BEARING 
    1. Using SST and a press, press in a new generator drive end frame bearing.
      Fig 1: Installing Generator Drive End Frame Bearing
      GTY141627Courtesy of © TOYOTA, LICENSE AGREEMENT TMS1002
      • SST: 09950-60010 
        • 09951-00470
      • SST: 09950-70010 
        • 09951-07100
    2. Install the bearing retainer with the 4 screws.
      Fig 2: Locating Bearing Retainer Screws
      GTY192371Courtesy of © TOYOTA, LICENSE AGREEMENT TMS1002

      Torque: 2.3 N*m (23 kgf*cm, 20 in.*lbf) 

  2. INSTALL GENERATOR ROTOR ASSEMBLY 
    1. Install the generator rotor assembly and generator washer to the drive end frame.
  3. INSTALL GENERATOR COIL ASSEMBLY 
    1. Using deep socket wrench (21 mm) and a press, slowly press in the generator coil assembly.
      Fig 3: Pressing In Generator Coil Assembly
      GTY190405Courtesy of © TOYOTA, LICENSE AGREEMENT TMS1002
    2. Install the 4 bolts.
      Fig 4: Locating Generator Coil Assembly Bolts
      GTY146426Courtesy of © TOYOTA, LICENSE AGREEMENT TMS1002

      Torque: 5.8 N*m (59 kgf*cm, 51 in.*lbf) 

  4. INSTALL GENERATOR BRUSH HOLDER ASSEMBLY 
    1. While pushing the 2 brushes to the inside of the generator brush holder assembly, insert a 1.0 mm (0.039 in.) pin into the generator brush holder hole.
      Fig 5: Identifying Pin Into Generator Brush Holder Hole
      GTY191528Courtesy of © TOYOTA, LICENSE AGREEMENT TMS1002
    2. Install the brush holder assembly with the 2 screws.
      Fig 6: Locating Brush Holder Assembly Screws
      GTY135892Courtesy of © TOYOTA, LICENSE AGREEMENT TMS1002

      Torque: 1.8 N*m (18 kgf*cm, 16 in.*lbf) 

    3. Remove the pin from the brush holder assembly.
  5. INSTALL TERMINAL INSULATOR 
    1. Install the terminal insulator.
      Fig 7: Identifying Terminal Insulator
      GTY175124Courtesy of © TOYOTA, LICENSE AGREEMENT TMS1002
      NOTE:

      Pay attention to installation direction of the terminal insulator.

  6. INSTALL GENERATOR REAR END COVER 
    1. Install the end cover with the 3 nuts.
      Fig 8: Locating Generator Rear End Cover Nuts
      GTY146424Courtesy of © TOYOTA, LICENSE AGREEMENT TMS1002

      Torque: 4.6 N*m (47 kgf*cm, 41 in.*lbf) 

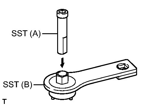
  7. REMOVE GENERATOR WITH CLUTCH PULLEY 
    1. Set SST (A) and (B).
      Fig 9: Setting SST (A) And (B)
      GTY128537Courtesy of © TOYOTA, LICENSE AGREEMENT TMS1002
      • SST: 09820-63020 
      1. Set the rotor shaft to SST (A).
      2. Mount SST (A) in a vise.
    2. Install the generator with the SST as shown in the illustration.
      Fig 10: Tightening Generator Pulley
      GTY167386Courtesy of © TOYOTA, LICENSE AGREEMENT TMS1002
    3. Turn SST (B) counterclockwise, and tighten the generator pulley.
      • SST: 09820-63020 

      Torque: 87 N*m (891 kgf*cm, 64 ft.*lbf) 

      NOTE:

      Use a torque wrench with a fulcrum length of 380 mm (14.96 in.).

    4. Remove the generator from the SST.
      NOTE:

      Check that the generator pulley rotates smoothly.

    5. Install a new generator pulley cap.