LEMON Manuals: Even more car manuals for everyone: 1960-2025
Home >> Toyota >> 2008 >> Matrix L4-1.8L (1ZZ-FE) >> Repair and Diagnosis >> Service Precautions
April 5, 2026: LEMON Manuals is launched! Read the announcement.

Repair and Diagnosis: Service Precautions








INTRODUCTION: REPAIR INSTRUCTION:

PRECAUTION

1. BASIC REPAIR HINT
(a) HINTS ON OPERATIONS









(b) JACKING UP AND SUPPORTING VEHICLE
(1) Care must be taken when jacking up and supporting the vehicle. Be sure to lift and support the vehicle at the proper locations.





(c) PRECOATED PARTS
(1) Precoated parts are bolts and nuts that are coated with a seal lock adhesive at the factory.
(2) If a precoated part is retightened, loosened or moved in any way, it must be recoated with the specified adhesive.
(3) When reusing a precoated part, clean off the old adhesive and dry the part with compressed air. Then apply new seal lock adhesive appropriate to that part.
(4) Some seal lock agents harden slowly. You may have to wait for the seal lock adhesive to harden.

(d) GASKETS
(1) When necessary, use a sealer on gaskets to prevent leaks.
(e) BOLTS, NUTS AND SCREWS
(1) Carefully follow all the specifications for tightening torques. Always use a torque wrench.
(f) FUSES





(1) When inspecting a fuse, check that the wire of the fuse is not broken.
(2) When replacing fuses, be sure that the new fuse has the correct amperage rating. Do not exceed the rating or use one with a lower rating.





(g) CLIPS
(1) The removal and installation methods of typical clips used for vehicle body parts are shown in the table below.

HINT: If clips are damaged during work, always replace the damaged clip with a new one.









(h) CLAWS
(1) The removal and installation methods of typical claws used for vehicle body parts are shown in the table below.

HINT: If claws are damaged during a procedure, always replace the damaged claws with a new caps or covers.





(i) REMOVAL AND INSTALLATION OF VACUUM HOSES





(1) To disconnect a vacuum hose, pull and twist from the end of the hose. Do not pull from the middle of the hose as this may damage the hose.





(2) When disconnecting vacuum hoses, use tags to identify where they should be reconnected.

(3) After completing any hose related repairs, double check that the vacuum hoses are properly connected. The label under the hood shows the proper layout.
(4) When using a vacuum gauge, never force the hose onto a connector that is too large. If a hose has been stretched, air may leak. Use a step-down adapter if necessary.
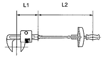
(j) TORQUE WHEN USING TORQUE WRENCH WITH EXTENSION TOOL









(1) Use the formula below to calculate special torque values for situations where SST or an extension tool is combined with the torque wrench.
Formula:
T' = L2/(L1 + L2) * T





NOTE: If an extension tool or SST is combined with a torque wrench and the wrench is used to tighten to a torque specification, the actual torque will be excessive and parts will be damaged.

2. FOR VEHICLES EQUIPPED WITH SRS AIRBAG AND SEAT BELT PRETENSIONER
The COROLLA MATRIX is equipped with a Supplemental Restraint System (SRS).

CAUTION: Failure to carry out the service operations in the correct sequence could cause the SRS to unexpectedly deploy during servicing and lead to serious injury. Furthermore, if a mistake is made when servicing SRS, it is possible that the SRS may fail to operate properly. Before servicing (including removal or installation of parts, inspection or replacement), be sure to read the following section carefully.

(a) GENERAL NOTICE
(1) As malfunctions of the SRS are difficult to confirm, the Diagnostic Trouble Codes (DTCs) become the most important source of information when troubleshooting. When troubleshooting the SRS, always check the DTCs before disconnecting the battery.
(2) Work must be started at least 90 seconds after the ignition switch is turned off and after the cable is disconnected from the negative (-) battery terminal.
The SRS is equipped with a back-up power source. If work is started within 90 seconds after turning the ignition switch off and disconnecting the cable from the negative (-) battery terminal, the SRS may deploy.
When the cable is disconnected from the negative (-) battery terminal, clock and audio system memory is erased. Before starting work, make a note of the settings of each memory system. When work is finished, reset the clock and audio system as before.

CAUTION: Never use a back-up power source (battery or other) to avoid erasing system memory. The back-up power source may inadvertently power the SRS and cause it to deploy.

(3) In minor collisions where the SRS does not deploy, the steering pad, front passenger airbag assembly, front seat side airbag assembly, curtain shield airbag assembly and front seat outer belt assembly should be inspected before further use of the vehicle.
(Disposal) for steering pad)
(Disposal) for front passenger airbag assembly)
(Front Seat Side Airbag Assembly) for front seat side airbag assembly)
(Disposal) for curtain shield airbag assembly)
(Disposal) for front seat outer belt assembly)
(4) Never use SRS parts from another vehicle. When replacing parts, use new parts.
(5) Before repairs, remove the airbag sensor assemblies if impacts are likely to be applied to the sensor during repairs.
(6) Never disassemble and attempt to repair all airbag sensor assemblies and all airbag assemblies.
1. Steering pad
2. Front passenger airbag assembly
3. Front seat side airbag assembly
4. Curtain shield airbag assembly
5. Front seat outer belt assembly

(7) Replace the airbag sensor assemblies and the airbag assemblies if: 1) damage has occurred from being dropped, or 2) cracks, dents or other defects in the case, bracket or connector are present.
(8) Do not directly expose the airbag sensor assembly or airbag assembly to hot air or flames.
(9) Use a voltmeter / ohmmeter with high impedance (minimum=10 kOhms) for troubleshooting electrical circuits.
(10) Information labels are attached to the SRS components. Follow the instructions on the labels.
(11) After work on the SRS is completed, check the SRS warning light.





(b) SPIRAL CABLE
(1) The steering wheel must be fitted correctly to the steering column with the spiral cable at the neutral position, as cable disconnection and other problems may occur. Refer to the information about correct installation of the steering wheel (Testing and Inspection).

(c) STEERING PAD
(1) Always place a removed or new steering pad surface upward as shown in the illustration. Placing the steering pad the pad surface facing down could cause a serious accident if the airbag inflates. Also, do not place anything on top of the steering pad.





(2) Never measure the resistance of the airbag squib. This may cause the airbag to inflate, which could cause serious injury.





(3) Grease or detergents of any kind should not be applied to the steering pad.
(4) Store the steering pad in an area where the ambient temperature is below 93°C (200°F), the humidity is not high and there is no electrical noise.
(5) When using electric welding anywhere on the vehicle, disconnect the center airbag sensor assembly connectors. These connectors contain shorting springs. This feature reduces the possibility of the airbag deploying due to current entering the squib wiring.
(6) When disposing of the vehicle or the steering pad by itself, the airbag should be deployed using SST before disposal (Disposal). Activate the airbag in a safe place away from electrical noise.
(d) FRONT PASSENGER AIRBAG ASSEMBLY
(1) Always place a removed or new front passenger airbag assembly with the pad surface facing upward as shown in the illustration. Placing the airbag assembly with the airbag inflation direction facing down could cause a serious accident if the airbag inflates.





(2) Never measure the resistance of the airbag squib. This may cause the airbag to inflate, which could cause serious injury.





(3) Grease or detergents of any kind should not be applied to the front passenger airbag assembly.
(4) Store the airbag assembly in an area where the ambient temperature is below 93°C (200°F), the humidity is not high and there is no electrical noise.
(5) When using electric welding anywhere on the vehicle, disconnect the center airbag sensor assembly connectors. These connectors contain shorting springs. This feature reduces the possibility of the airbag deploying due to current entering the squib wiring.
(6) When disposing of the vehicle or the airbag assembly unit by itself, the airbag should be deployed using SST before disposal (Disposal). Activate in a safe place, away from electrical noise.
(e) FRONT SEAT SIDE AIRBAG ASSEMBLY
(1) Always place a removed or new front seat side airbag assembly with the airbag inflation direction facing up.
(2) Never measure the resistance of the airbag squib. This may cause the airbag to inflate, which could cause serious injury.





(3) Grease or detergents of any kind should not be applied to the front seat side airbag assembly.
(4) Store the airbag assembly in an area where the ambient temperature is below 93°C (200°F), the humidity is not high and there is no electrical noise.
(5) When using electric welding anywhere on the vehicle, disconnect the center airbag sensor assembly connectors. These connectors contain shorting springs. This feature reduces the possibility of the airbag deploying due to current entering the squib wiring.
(6) When disposing of a vehicle or the airbag assembly unit by itself, the airbag should be deployed using SST before disposal (Front Seat Side Airbag Assembly). Activate in a safe place away from electrical noise.
(f) CURTAIN SHIELD AIRBAG ASSEMBLY
(1) Always place a removed or new curtain shield airbag assembly in a clear plastic bag, and keep it in a safe place.





CAUTION: The plastic bag is not reusable.

NOTE: Never disassemble the curtain shield airbag assembly.

(2) Never measure the resistance of the airbag squib. This may cause the airbag to inflate, which could cause serious injury.





(3) Grease or detergents of any kind should not be applied to the curtain shield airbag assembly.
(4) Store the airbag assembly in an area where the ambient temperature is below 93°C (200°F), the humidity is not high and there is no electrical noise.
(5) When using electric welding anywhere on the vehicle, disconnect the center airbag sensor assembly connectors. These connectors contain shorting springs. This feature reduces the possibility of the airbag deploying due to current entering the squib wiring.
(6) When disposing of a vehicle or the airbag assembly unit by itself, the airbag should be deployed using SST before disposal (Disposal). Activate in a safe place away from electrical noise.
(g) FRONT SEAT OUTER BELT ASSEMBLY (SEAT BELT PRETENSIONER)
(1) Never measure the resistance of the front seat outer belt. This may cause the pretensioner of the front seat outer belt to activate, which could cause serious injury.





(2) Never disassemble the front seat outer belt.
(3) Never install the front seat outer belt on another vehicle.
(4) Store the front seat outer belt in an area where the ambient temperature is below 80°C (176°F), the humidity is not high and there is no electrical noise.
(5) When using electric welding anywhere on the vehicle, disconnect the center airbag sensor assembly connectors. These connectors contain shorting springs. This feature reduces the possibility of the airbag deploying due to current entering the squib wiring.
(6) When disposing of a vehicle or the front seat outer belt unit by itself, the front seat outer belt should be activated before disposal (Disposal). Activate in a safe place away from electrical noise.
(7) As the front seat outer belt is hot after being activated, allow some time for it to cool down sufficiently before disposal. Never apply water to cool down the front seat outer belt.
(8) Grease, detergents, oil or water should not be applied to the front seat outer belt.
(h) CENTER AIRBAG SENSOR ASSEMBLY
(1) Never reuse an center airbag sensor assembly that has been involved in a collision where the SRS has deployed.
(2) The connectors to the center airbag sensor assembly should be connected or disconnected with the sensor placed on the floor. If the connectors are connected or disconnected while the center airbag sensor assembly is not placed on the floor, the SRS may activate.
(3) Work must be started at least 90 seconds after the ignition switch is turned off and the cable is disconnected from the negative (-) battery terminal, even if only loosening the set bolts of the center airbag sensor assembly.
(i) WIRE HARNESS AND CONNECTOR
(1) All the connectors in the system are a standard yellow color. If the SRS wire harness becomes disconnected or the connector becomes broken, repair or replace it.
3. ELECTRONIC CONTROL





(a) REMOVAL AND INSTALLATION OF BATTERY TERMINAL

NOTE: Certain systems need to be initialized after disconnecting and reconnecting the cable from the negative (-) battery terminal.

(1) Before performing electronic work, disconnect the cable from the negative (-) battery terminal to prevent component and wire damage caused by accidental short circuits.
(2) When disconnecting the cable, turn the ignition switch and headlight dimmer switch off and loosen the cable nut completely. Perform these operations without twisting or prying the cable. Then disconnect the cable.
(3) Clock settings, radio settings, audio system memory, DTCs and other data are erased when the cable is disconnected from the negative (-) battery terminal. Write down any necessary data before disconnecting the cable.





(b) HANDLING OF ELECTRONIC PARTS
(1) Do not open the cover or case of the ECU unless absolutely necessary. If the IC terminals are touched, the IC may be rendered inoperative by static electricity.
(2) Do not pull the wires when disconnecting electronic connectors. Pull the connector itself.
(3) Do not drop electronic components, such as sensors or relays. If they are dropped on a hard surface, they should be replaced.
(4) When cleaning the engine with steam, protect the electronic components, air filter and emission-related components from water.
(5) Never use an impact wrench to remove or install temperature switches or temperature sensors.
(6) When measuring the resistance between terminals of a wire connector, insert the tester probe carefully to prevent terminals from bending.

4. REMOVAL AND INSTALLATION OF FUEL CONTROL PARTS
(a) PLACE FOR REMOVING AND INSTALLING FUEL SYSTEM PARTS
(1) Work in a location with good air ventilation that does not have welders, grinders, drills, electric motors, stoves, or any other ignition sources.
(2) Never work in a pit or near a pit as vaporized fuel will collect in those places.
(b) REMOVING AND INSTALLING FUEL SYSTEM PARTS
(1) Prepare a fire extinguisher before starting the operation.
(2) To prevent static electricity, install a ground wire to the fuel changer, vehicle and fuel tank, do not spray the surrounding area with water. Be careful when performing work in this area, as the work surface will become slippery. Do not clean up gasoline spills with water, as this may cause the gasoline to spread, and possibly create a fire hazard.
(3) Avoid using electric motors, working lights and other electric equipments that can cause sparks or high temperatures.
(4) Avoid using iron hammers as they may create sparks.
(5) Dispose of fuel-contaminated cloth separately using a fire resistant container.
5. REMOVAL AND INSTALLATION OF ENGINE INTAKE PARTS





(a) If any metal particles enter inlet system parts, this may damage the engine.

(b) When removing and installing inlet system parts, cover the openings of the removed parts and engine openings. Use gummed tape or other suitable materials.
(c) When installing inlet system parts, check that no metal particles have entered the engine or the installed parts.
6. HANDLING OF HOSE CLAMPS





(a) Before removing the hose, check the clamp position so that it can be reinstalled in the same position.

(b) Replace any deformed or dented clamps with new ones.
(c) When reusing a hose, attach the clamp on the clamp track portion of the hose.
(d) For a spring type clamp, you may want to spread the tabs slightly after installation by pushing in the direction of the arrows as shown in the illustration.
7. FOR VEHICLES EQUIPPED WITH MOBILE COMMUNICATION SYSTEMS





(a) Install the antenna far away from the ECU and sensors of the vehicle electronic systems as possible.

(b) Install an antenna feeder at least 20 cm (7.87 in.) away from the ECU and sensors of the vehicle electronic systems. For details about ECU and sensors locations, refer to the section on the applicable components.
(c) Keep the antenna and feeder separate from other wirings as much as possible. This will prevent signals sent from the communication equipment from affecting vehicle equipment and vice-versa.
(d) Check that the antenna and feeder are correctly adjusted.
(e) Do not install any high-powered mobile communication system.
8. FOR VEHICLE EQUIPPED WITH TRACTION CONTROL (TRAC) SYSTEM
When testing with a 2 wheel drum tester such as a speedometer tester, a combination tester of the speedometer and brake, a chassis dynamometer, or when jacking up the front wheels and driving the wheels, always deactivate the TRAC system OFF before testing.

NOTE: TRAC system OFF condition can be confirmed by the "TRAC OFF" indicator light in the combination meter.

9. FOR VEHICLE EQUIPPED WITH VEHICLE STABILITY CONTROL (VSC) SYSTEM





(a) NOTICES WHEN USING DRUM TESTER
(1) Before beginning testing, disable the VSC. To disable the VSC, turn the ignition switch off and connect SST to terminals TS and CG of the DLC3.
SST: 09843-18040

- Confirm that the VSC warning light blinks.
- VSC system will be reset when the engine is restarted.
- For safety, secure the vehicle with restraint chains while using a wheel dynamometer.

(b) NOTICES OF RELATED OPERATIONS TO VSC
(1) Do not carry out unnecessary installation and removal as it might affect the adjustment of VSC related parts.
(2) Be sure to follow the instructions for work preparation and final confirmation of proper operation of the VSC system.
10. FOR VEHICLES EQUIPPED WITH CATALYTIC CONVERTER

CAUTION: If a large amount of unburned gasoline or gasoline vapors flow into the converter, it may cause overheating and create a fire hazard. To prevent this, observe the following precautions.

(a) Use only unleaded gasoline.
(b) Avoid idling the engine for more than 20 minutes.
(c) Avoid performing unnecessary spark jump tests.
(1) Perform a spark jump test only when absolutely necessary. Perform this test as rapidly as possible.
(2) While testing, never race the engine.
(d) Avoid a prolonged engine compression measurement. Engine compression measurements must be performed as rapidly as possible.
(e) Do not run the engine when the fuel tank is nearly empty. This may cause the engine to misfire and create an extra load on the converter.