LEMON Manuals: Even more car manuals for everyone: 1960-2025
Home >> Toyota >> 2008 >> Prius Base >> Repair and Diagnosis >> Engine Performance >> Testing & Diagnosis >> Engine Control System >> SFI System >> DTC P0110 Intake Air Temperature Circuit; DTC P0112 Intake Air Temperature Circuit Low Input; DTC P0113 Intake Air Temperature Circuit High Input >> Wiring Diagram
April 5, 2026: LEMON Manuals is launched! Read the announcement.

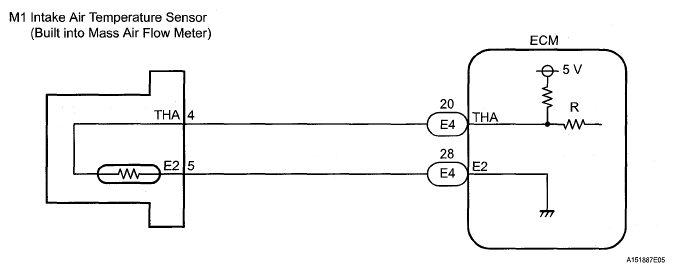
DTC P0110 Intake Air Temperature Circuit; DTC P0112 Intake Air Temperature Circuit Low Input; DTC P0113 Intake Air Temperature Circuit High Input: Wiring Diagram

Fig 1: M1 Intake Air Temperature Sensor - Wiring Diagram
G05673963Courtesy of © TOYOTA, LICENSE AGREEMENT TMS1002