LEMON Manuals: Even more car manuals for everyone: 1960-2025
Home >> Toyota >> 2008 >> Sienna LE, AWD >> Repair and Diagnosis >> Brakes >> Brakes Control Systems >> Brake Control System >> Front Speed Sensor >> Inspection
April 5, 2026: LEMON Manuals is launched! Read the announcement.

Front Speed Sensor: Inspection

  1. INSPECT FRONT SPEED SENSOR 
    1. Make sure that there is no looseness at the connector lock part and connecting part of the connector.
    2. Disconnect the speed sensor connector.
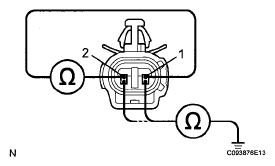
    3. Measure the resistance between terminals 1 and 2 of the speed sensor connector.

      OK: 

      Resistance: 

      0.92 to 1.22 kΩ 

    4. Measure the resistance between terminals 1 and 2 of the speed sensor connector and body ground.

      OK: 

      Resistance: 

      1 MΩ or higher 

      Fig 1: Measuring Resistance Between Terminals 1 And 2 Of Speed Sensor Connector
      G05139754Courtesy of © TOYOTA, LICENSE AGREEMENT TMS1002