LEMON Manuals: Even more car manuals for everyone: 1960-2025
Home >> Toyota >> 2009 >> Avalon Limited >> Repair and Diagnosis >> Brakes >> Traction Control >> Brake Control >> Vehicle Stability Control System >> System Diagram
April 5, 2026: LEMON Manuals is launched! Read the announcement.

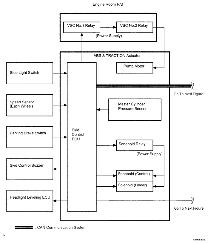
System Diagram

Fig 1: Vehicle Stability Control System Diagram (1 Of 2)
G05001492Courtesy of © TOYOTA, LICENSE AGREEMENT TMS1002
Fig 2: Vehicle Stability Control System Diagram (2 Of 2)
G05001493Courtesy of © TOYOTA, LICENSE AGREEMENT TMS1002
SIGNALS REFERENCE

Transmitting ECU (transmitter) Receiving ECU Signals Communication method
ECM Skid Control ECU
  • Shift Position signal
  • Throttle Position Signal
  • Engine Revolution Signal
CAN Communication System
Skid Control ECU ECM
  • Yaw Rate and Acceleration Signal
  • Torque Demand Signal
CAN Communication System
Skid Control ECU Combination Meter
  • ABS Warning Light ON Signal
  • VSC Warning Light ON Signal
  • Brake Warning Light ON Signal
  • SLIP Indicator Light ON Signal
  • CAN Communication System
  • Multiplex communication System