LEMON Manuals: Even more car manuals for everyone: 1960-2025
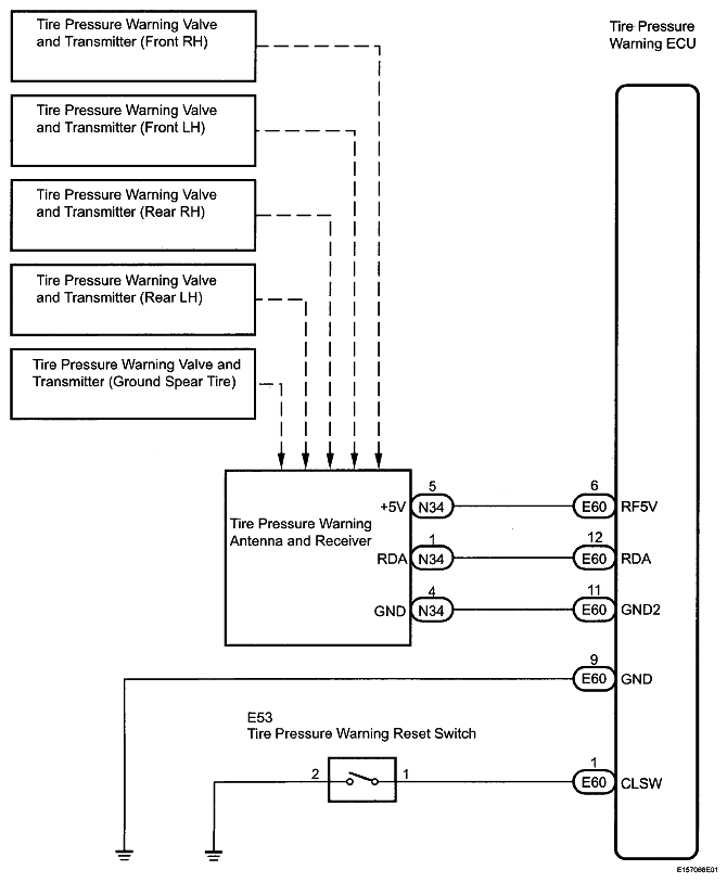
Home >> Toyota >> 2009 >> Camry Base, Standard >> Repair and Diagnosis (Single Page) >> Accessories & Equipment >> Warning Systems >> Tire & Wheel (Except Hybrid) >> Tire Pressure Warning System >> DTC C2121/21 No Signal from Transmitter ID1 in Main Mode; DTC C2122/22 No Signal from Transmitter ID2 in Main Mode; DTC C2123/23 No Signal from Transmitter ID3 in Main Mode; DTC C2124/24 No Signal from Transmitter ID4 in Main Mode; DTC C2125/25 No Signal from Transmitter ID5 in Main Mode; DTC C2181/81 Transmitter ID1 not Received (Test Mode DTC); DTC C2182/82 Transmitter ID2 not Received (Test Mode DTC); DTC C2183/83 Transmitter ID3 not Received (Test Mode DTC); DTC C2184/84 Transmitter ID4 not Received (Test Mode DTC); DTC C2185/85 Transmitter ID5 not Received (Test Mode DTC) >> Wiring Diagram
April 5, 2026: LEMON Manuals is launched! Read the announcement.

DTC C2121/21 No Signal from Transmitter ID1 in Main Mode; DTC C2122/22 No Signal from Transmitter ID2 in Main Mode; DTC C2123/23 No Signal from Transmitter ID3 in Main Mode; DTC C2124/24 No Signal from Transmitter ID4 in Main Mode; DTC C2125/25 No Signal from Transmitter ID5 in Main Mode; DTC C2181/81 Transmitter ID1 not Received (Test Mode DTC); DTC C2182/82 Transmitter ID2 not Received (Test Mode DTC); DTC C2183/83 Transmitter ID3 not Received (Test Mode DTC); DTC C2184/84 Transmitter ID4 not Received (Test Mode DTC); DTC C2185/85 Transmitter ID5 not Received (Test Mode DTC): Wiring Diagram

Fig 1: No Signal From Transmitter In Main Mode - Wiring Diagram
G05560264Courtesy of © TOYOTA, LICENSE AGREEMENT TMS1002