LEMON Manuals: Even more car manuals for everyone: 1960-2025
Home >> Toyota >> 2009 >> Corolla Base, 1.8 U, Standard >> Repair and Diagnosis >> Brakes >> Traction Control >> Brake Control/Dynamic Control System >> Vehicle Stability Control System >> Skid Control Buzzer Circuit >> Wiring Diagram
April 5, 2026: LEMON Manuals is launched! Read the announcement.

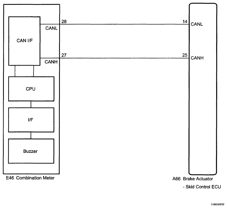
Skid Control Buzzer Circuit: Wiring Diagram

Fig 1: Skid Control Buzzer - Wiring Diagram
G06013990Courtesy of © TOYOTA, LICENSE AGREEMENT TMS1002