LEMON Manuals: Even more car manuals for everyone: 1960-2025
Home >> Toyota >> 2009 >> Corolla XRS, Standard >> Repair and Diagnosis >> Brakes >> Traction Control >> Brake Control/Dynamic Control System >> Anti-Lock Brake System >> Test Mode Procedure
April 5, 2026: LEMON Manuals is launched! Read the announcement.

Test Mode Procedure

  1. WARNING LIGHT INITIAL CHECK 
    1. Release the parking brake.
      NOTE: Before releasing the parking brake, move the shift lever to P for safety (for automatic transaxle model) or set the chocks to hold the vehicle for safety (for manual transaxle model).

      HINT:

      When the parking brake is applied or the level of the brake fluid is low, the brake warning light comes on.

    2. When the ignition switch is turned to ON, check that the ABS warning and brake warning lights come on for approximately 3 seconds.

      HINT:

      • If the skid control ECU stores any DTCs, the ABS warning and brake warning lights will come on.
      • If the indicator remains on or does not come on, proceed to troubleshooting for the light circuits listed below.
    WARNING LIGHT TROUBLE AREA REFERENCE CHART

    Trouble Area See Procedure
    ABS warning light circuit (Remains on) ABS WARNING LIGHT REMAINS ON 
    ABS warning light circuit (Does not come on) ABS WARNING LIGHT DOES NOT COME ON 
    Brake warning light circuit (Remains on) BRAKE WARNING LIGHT REMAINS ON 
    Brake warning light circuit (Does not come on) BRAKE WARNING LIGHT DOES NOT COME ON 
    Fig 1: Identifying ABS And BRAKE Warning Light
    G06013805Courtesy of © TOYOTA, LICENSE AGREEMENT TMS1002
  2. SENSOR CHECK USING TEST MODE (SIGNAL CHECK) (When Using the Techstream) 

    HINT:

    • If the ignition switch is turned from ON to ACC or off during Test Mode (signal check), DTCs recorded during the sensor check will be cleared.
    • During Test Mode (signal check), the skid control ECU records all DTCs of the sensor check function. By performing Test Mode (signal check), the codes are cleared if a normal condition is confirmed. The remaining codes are the codes where a malfunction was found.
    1. Procedure to enter Test Mode.
      1. Turn the ignition switch off.
      2. Check that the steering wheel is centered.
      3. Check that the shift lever is in P (for automatic transaxle model) or the parking brake is applied (for manual transaxle model).
      4. Connect the Techstream to the DLC3.
      5. Turn the ignition switch to ON.
      6. Turn the Techstream on.
      7. Switch the skid control ECU to Test Mode using the Techstream. Enter the following menus: Chassis / ABS/VSC/TRAC / Utility / Signal Check.
      8. Check that the ABS warning light comes on for several seconds and then blinks in Test Mode.

        HINT:

        If the ABS warning light does not blink, inspect the TS and CG terminal circuit and ABS warning light circuit.

        WARNING LIGHT TROUBLE AREA REFERENCE CHART

        Trouble Area See Procedure
        TS and CG terminal circuit TS AND CG TERMINAL CIRCUIT 
        ABS warning light circuit (Remains on) ABS WARNING LIGHT REMAINS ON 
        Fig 2: ABS Warning Light - Test Mode Blinking Pattern
        G06006556Courtesy of © TOYOTA, LICENSE AGREEMENT TMS1002
      9. Check the ABS sensors.

        HINT:

        Check that the ABS warning light is blinking in Test Mode and perform the check.

  3. SPEED SENSOR CHECK (When Using the Techstream) 
    Fig 3: ABS Warning Light - Test Mode Blinking Pattern
    G06006556Courtesy of © TOYOTA, LICENSE AGREEMENT TMS1002
    1. Drive the vehicle straight-ahead.

      Accelerate the vehicle to a speed of 45 km/h (28 mph) or more for several seconds and check that the ABS warning light goes off.

      HINT:

      • The sensor check may not be completed if wheel spin occurs.
      • The ABS warning light blinks when the sensor check has been completed and the brake pedal is depressed.
      • The ABS warning light comes on immediately after a malfunction has been detected during the speed sensor check.
    2. Stop the vehicle.
      NOTE:
      • The speed sensor check may not be completed if the speed sensor check is started while turning the steering wheel or spinning the wheels.
      • After the ABS warning light goes off, if the vehicle speed exceeds 80 km/h (50 mph), a sensor check code will be stored again. Decelerate or stop the vehicle before the speed reaches 80 km/h (50 mph).
      • If the sensor check has not been completed, the ABS warning light will blink while driving and the ABS will not operate.

      HINT:

      When the sensor check has been completed, the ABS warning light goes off while driving and blinks in the Test Mode pattern while the vehicle is stationary.

  4. END OF SENSOR CHECK (When Using the Techstream) 
    1. If the sensor check is completed, the ABS warning light blinks (Test Mode) when the vehicle stops and the ABS warning light is off while the vehicle is driving.
    Fig 4: ABS Warning Light - Test Mode Blinking Pattern
    G06006556Courtesy of © TOYOTA, LICENSE AGREEMENT TMS1002
    NOTE: If the sensor check has not been completed, the ABS warning light will blink while driving and the ABS will not operate.
  5. READ DTC OF SENSOR CHECK FUNCTION (When Using the Techstream) 
    1. Read the DTC(s) by following the Techstream screen.
      NOTE:
      • If only DTCs other than the Test Mode sensor check DTCs are displayed, repair the malfunction and clear the DTCs.
      • If the Test Mode sensor check DTCs and other DTCs are displayed or if only the Test Mode sensor check DTCs are displayed, repair the malfunction, clear the DTCs, and perform the Test Mode inspection again.

      HINT:

      See the list of DTC (See procedure "A").

    2. Turn the ignition switch off and disconnect the Techstream.
  6. SENSOR CHECK USING TEST MODE (SIGNAL CHECK) (When not Using the Techstream) 

    HINT:

    • If the ignition switch is turned from ON to ACC or off during Test Mode (signal check), DTCs recorded during the sensor check will be cleared.
    • During Test Mode (signal check), the skid control ECU records all DTCs of the sensor check function. By performing Test Mode (signal check), the codes are cleared if a normal condition is confirmed. The remaining codes are the codes where a malfunction was found.
    1. Procedure to enter Test Mode.
      1. Turn the ignition switch off.
      2. Check that the steering wheel is centered.
      3. Check that the shift lever is in P (for automatic transaxle model) or the parking brake is applied (for manual transaxle model).
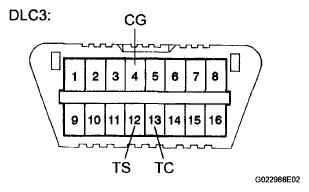
      4. Using SST, connect terminals TS and CG of the DLC3.

        SST 09843-18040 

      5. Turn the ignition switch to ON.
        Fig 5: Identifying DLC3 Connector Terminals
        G05412997Courtesy of © TOYOTA, LICENSE AGREEMENT TMS1002
      6. Check that the ABS warning light comes on for several seconds and then blinks in Test Mode.

        HINT:

        If the ABS warning light does not blink, inspect the TS and CG terminal circuit, and ABS warning light circuit.

        Fig 6: ABS Warning Light - Test Mode Blinking Pattern
        G06006556Courtesy of © TOYOTA, LICENSE AGREEMENT TMS1002
        WARNING LIGHT TROUBLE AREA REFERENCE CHART

        Trouble Area See Procedure
        TS and CG terminal circuit TS AND CG TERMINAL CIRCUIT 
        ABS warning light circuit (Remains on) ABS WARNING LIGHT REMAINS ON 
        ABS warning light circuit (Does not come on) ABS WARNING LIGHT DOES NOT COME ON 
      7. Check the ABS sensors.

        HINT:

        Check that the ABS warning light is blinking in Test Mode and perform the check.

        Fig 7: ABS Warning Light - Test Mode Blinking Pattern
        G06006556Courtesy of © TOYOTA, LICENSE AGREEMENT TMS1002
  7. SPEED SENSOR CHECK (When not Using the Techstream) 
    1. Drive the vehicle straight-ahead.

      Accelerate the vehicle to a speed of 45 km/h (28 mph) or more for several seconds and check that the ABS warning light goes off.

      HINT:

      • The sensor check may not be completed if wheel spin occurs.
      • The ABS warning light blinks when the sensor check has been completed and the brake pedal is depressed.
      • The ABS warning light comes on immediately after a malfunction has been detected during the speed sensor check.
    2. Stop the vehicle.
      NOTE:
      • The speed sensor check may not be completed if the speed sensor check is started while turning the steering wheel or spinning the wheels.
      • After the ABS warning light goes off, if the vehicle speed exceeds 80 km/h (50 mph), a sensor check code will be stored again. Decelerate or stop the vehicle before the speed reaches 80 km/h (50 mph).
      • If the sensor check has not been completed, the ABS warning light will blink while driving and the ABS will not operate.

      HINT:

      When the sensor check has been completed, the ABS warning light goes off while driving and blinks in the Test Mode pattern while the vehicle is stationary.

  8. END OF SENSOR CHECK (When not Using the Techstream) 
    1. If the sensor check is completed, the ABS warning light blinks (Test Mode) when the vehicle stops and the ABS warning light is off while the vehicle is driving.
      Fig 8: ABS Warning Light - Test Mode Blinking Pattern
      G06006556Courtesy of © TOYOTA, LICENSE AGREEMENT TMS1002
      NOTE: If the sensor check has not been completed, the ABS warning light will blink while driving and the ABS will not operate.
  9. READ DTC OF SENSOR CHECK FUNCTION (When not Using the Techstream) 
    1. Using SST, connect terminals TC and CG of the DLC3.

      SST 09843-18040 

    2. Count the number of blinks of the ABS warning light.
      Fig 9: Identifying DLC3 Connector Terminals
      G06013813Courtesy of © TOYOTA, LICENSE AGREEMENT TMS1002
      Fig 10: Blinking Pattern - Normal System Code And Trouble Codes 11 And 21
      G06013814Courtesy of © TOYOTA, LICENSE AGREEMENT TMS1002
      NOTE:
      • If only DTCs other than the Test Mode sensor check DTCs are displayed, repair the malfunction and clear the DTCs.
      • If the Test Mode sensor check DTCs and other DTCs are displayed or if only the Test Mode sensor check DTCs are displayed, repair the malfunction, clear the DTCs, and perform the Test Mode inspection again.

      HINT:

      • If more than 1 malfunction is detected at the same time, the lowest numbered code will be displayed first.
      • See the list of DTCs (See procedure "A").
    3. After performing the check, disconnect SST from terminals TS and CG, and TC and CG of the DLC3, and turn the ignition switch off.
    4. Turn the ignition switch to ON to cancel Test Mode.

      HINT:

      • If the ignition switch is not turned to ON after SST is removed from the DLC3, the previous Test Mode will continue.
      • If the ignition switch is turned to ON with terminals TS and CG connected, the previous Test Mode will continue.
  10. DTC OF SENSOR CHECK FUNCTION (Procedure "A") 

    ABS Sensor 

    ABS SENSOR DETECTION REFERENCE CHART

    DTC Code Detection Item Trouble Area
    C1271/71 Low output signal of front speed sensor RH
    • Front speed sensor RH
    • Sensor installation
    • Speed sensor rotor
    C1272/72 Low output signal of front speed sensor LH
    • Front speed sensor LH
    • Sensor installation
    • Speed sensor rotor
    C1273/73 Low output signal of rear speed sensor RH
    • Rear speed sensor RH
    • Sensor installation
    • Speed sensor rotor
    C1274/74 Low output signal of rear speed sensor LH
    • Rear speed sensor LH
    • Sensor installation
    • Speed sensor rotor
    C1275/75 Abnormal change in output signal of front speed sensor RH Speed sensor rotor
    C1276/76 Abnormal change in output signal of front speed sensor LH Speed sensor rotor
    C1277/77 Abnormal change in output signal of rear speed sensor RH Speed sensor rotor
    C1278/78 Abnormal change in output signal of rear speed sensor LH Speed sensor rotor

    HINT:

    The codes in this table are output only in Test Mode (signal check).