LEMON Manuals: Even more car manuals for everyone: 1960-2025
Home >> Toyota >> 2009 >> FJ Cruiser 4WD, Part Time >> Repair and Diagnosis >> Engine Performance >> System >> Engine Control System - System And Circuit Testing, On-Vehicle Inspection, Removal, Inspection & Installation >> Fuel Injector Circuit >> Wiring Diagram
April 5, 2026: LEMON Manuals is launched! Read the announcement.

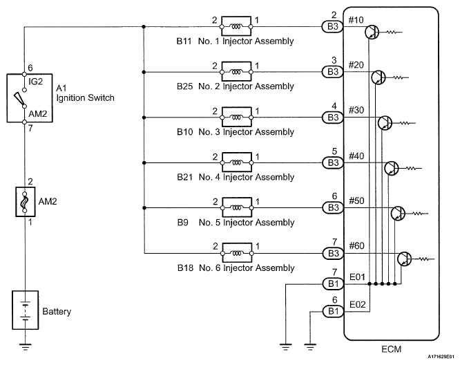
Fuel Injector Circuit: Wiring Diagram

Fig 1: Identifying Fuel Injector Circuit Diagram
G05577315Courtesy of © TOYOTA, LICENSE AGREEMENT TMS1002