LEMON Manuals: Even more car manuals for everyone: 1960-2025
Home >> Toyota >> 2009 >> Highlander Base, 2.7 A >> Repair and Diagnosis >> Engine Performance >> System >> Engine Control System (1AR-FE) - Circuit Testing, Component Inspection, Removal & Installation >> EVAP System >> Inspection Procedure
April 5, 2026: LEMON Manuals is launched! Read the announcement.

Inspection Procedure

NOTE:
  • Inspect the fuses for circuits related to this system before performing the following inspection procedure.
  • The Techstream is required to conduct the following diagnostic troubleshooting procedure.

HINT:

  1. CONFIRM DTC 
    1. Turn the ignition switch off and wait for 10 seconds.
    2. Turn the ignition switch to ON.
    3. Turn the ignition switch off and wait for 10 seconds.
    4. Connect the Techstream to the DLC3.
    5. Turn the ignition switch to ON and turn the Techstream on.
    6. Enter the following menus: Powertrain/Engine/Trouble Codes.
    7. Confirm DTCs and freeze frame data.

      If any EVAP system DTCs are set, the malfunctioning area can be determined using the table below.

      Fig 1: EVAP Malfunctioning Area Chart
      G06023305Courtesy of © TOYOTA, LICENSE AGREEMENT TMS1002
      NOTE: If the reference pressure difference between the first and second checks is more than the specification, the DTCs relating to the reference pressure (P043E, P043F, P0441, P0455, P0456, P2401 and P2420) will all be stored.
  2. PERFORM EVAP SYSTEM CHECK (AUTOMATIC MODE) 
    NOTE:
    • In the Evaporative System Check (Automatic Mode) a series of 5 steps is performed automatically by the Techstream. It takes a maximum of approximately 18 minutes.
    • Do not perform the Evaporative System Check when the fuel tank is more than 90% full because the cut-off valve may be closed, making the leak check of the fuel tank unavailable.
    • Do not run the engine during this operation.
    • When the temperature of the fuel is 35°C (95°F) or more, a large amount of vapor forms and any check results become inaccurate. When performing the Evaporative System Check, keep the temperature below 35°C (95°F).
    1. Connect the Techstream to the DLC3.
    2. Clear the DTCs (See DTC CHECK/CLEAR ).
    3. Enter the following menus: Powertrain/Engine/Utility/Evaporative System Check/Automatic Mode.
    4. After the Evaporative System Check is completed, check for pending DTCs. Enter the following menus: Powertrain/Engine/Trouble Codes/Pending.

      HINT:

      If no pending DTC is displayed, perform the Monitor Confirmation after this repair is completed. After this confirmation, check for pending DTCs. If no DTC is displayed, the EVAP system is normal.

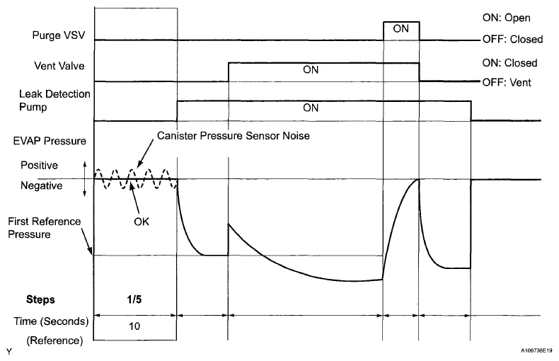
  3. PERFORM EVAP SYSTEM CHECK (MANUAL MODE) 
    Fig 2: EVAP Pressure Malfunction Chart - Manual Mode
    G06111186Courtesy of © TOYOTA, LICENSE AGREEMENT TMS1002
    NOTE:
    • In the Evaporative System Check (Manual Mode), the series of 5 Evaporative System Check steps are performed manually using the Techstream.
    • Do not perform the Evaporative System Check when the fuel tank is more than 90% full because the cut-off valve may be closed, making the leak check of the fuel tank unavailable.
    • Do not run the engine during this operation.
    • When the temperature of the fuel is 35°C (95°F) or more, a large amount of vapor forms and any check results become inaccurate. When performing the Evaporative System Check, keep the temperature below 35°C (95°F).
    1. Connect the Techstream to the DLC3.
    2. Clear the DTCs (See DTC CHECK/CLEAR ).
    3. Enter the following menus: Powertrain/Engine/Utility/Evaporative System Check/Manual Mode.
  4. PERFORM EVAP SYSTEM CHECK (STEP 1/5) 
    Fig 3: EVAP Pressure Malfunction Chart - Step 1/5
    G06111187Courtesy of © TOYOTA, LICENSE AGREEMENT TMS1002
    1. Check the EVAP pressure in step 1/5.

      Result 

      RESULT CHART

      DTC(1) Result Suspected Trouble Area Proceed to
      - Virtually no variation in EVAP pressure Not yet determined A
      P0451 EVAP pressure fluctuates by +/-0.3 kPa-g (2.25 mmHg-g) or more Pressure sensor noising B
      (1) The DTCs relating to the EVAP system displayed on the Techstream when checking.

      B: Go to step  30

      A: Go to next step 

  5. PERFORM EVAP SYSTEM CHECK (STEP 1/5 TO 2/5) 
    Fig 4: EVAP Pressure Malfunction Chart - Step 1/5 To 2/5
    G05413861Courtesy of © TOYOTA, LICENSE AGREEMENT TMS1002
    1. Check the EVAP pressure in steps 1/5 and 2/5.

      Result 

      RESULT CHART

      DTC(1) Result Suspected Trouble Area Proceed to
      - Virtually no variation in EVAP pressure during step 1/5. Then decreases to reference pressure standard(1) Not yet determined A
      P2402 Small difference between EVAP pressures during steps 1/5 and 2/5 Vacuum pump stuck ON B
      (1) The DTCs related to the EVAP system are displayed on the Techstream when checking.

      HINT:

      The first reference pressure standard is the value determined in step 2/5.

      B: Go to step  23

      A: Go to next step 

  6. PERFORM EVAP SYSTEM CHECK (STEP 2/5) 
    Fig 5: EVAP Pressure Malfunction Chart - Step 2/5
    G06111189Courtesy of © TOYOTA, LICENSE AGREEMENT TMS1002

    HINT:

    Make a note of the pressures checked in steps "A" and "B" below.

    1. Check the EVAP pressure 4 seconds after the leak detection pump is activated*1 (Step "A").
    2. Check the EVAP pressure again when it has stabilized. This pressure is the reference pressure standard (Step "B").

      *1: The leak detection pump begins to operate at the time step 2/5 starts.

      Result 

      RESULT CHART

      DTC(1) Result Suspected Trouble Area Proceed to
      - EVAP pressure in step (B) is between -4.85 kPa-g and -1.06 kPa-g (-36.38 mmHg-g and -7.95 mmHg-g) Not yet determined A
      P043F and P2401 EVAP pressure in step (B) is -1.06 kPa-g (-7.95 mmHg-g) or more
      • Reference orifice high-flow
      • Leak detection pump stuck OFF
      B
      P043E EVAP pressure in step (B) is less than -4.85 kPa-g (-36.38 mmHg-g) Reference orifice clogged C
      P2419 EVAP pressure in step (A) is more than -1.06 kPa-g (-7.95 mmHg-g) Vent valve stuck closed D
      (1) The DTCs related to the EVAP system are displayed on the Techstream when checking.

      B: Go to step  11

      C: Go to step  30

      D: Go to step  19

      A: Go to next step 

  7. PERFORM EVAP SYSTEM CHECK (STEP 2/5 TO 3/5) 
    Fig 6: EVAP Pressure Malfunction Chart - Step 2/5 To 3/5
    G05413863Courtesy of © TOYOTA, LICENSE AGREEMENT TMS1002
    1. Check the EVAP pressure increase in step 3/5.

      Result 

      RESULT CHART

      DTC(1) Result Suspected Trouble Area Proceed to
      - EVAP pressure increases by 0.3 kPa-g (2.25 mmHg-g) or more within 10 seconds of proceeding from step 2/5 to step 3/5 Not yet determined A
      P2420 No variation in EVAP pressure even after proceeding from step 2/5 to step 3/5 Vent valve stuck open (vent) B
      P0451 No variation in EVAP pressure during steps 1/5 through 3/5 Canister pressure sensor malfunction C
      (1) The DTCs related to the EVAP system are displayed on the Techstream when checking.

      B: Go to step  20

      C: Go to step  30

      A: Go to next step 

  8. PERFORM EVAP SYSTEM CHECK (STEP 3/5) 
    Fig 7: EVAP Pressure Malfunction Chart - Step 3/5
    G04828304Courtesy of © TOYOTA, LICENSE AGREEMENT TMS1002
    1. Wait until the EVAP pressure change is less than 0.1 kPa-g (0.75 mmHg-g) for 30 seconds.
    2. Measure the EVAP pressure and record it.

      HINT:

      A few minutes are required for the EVAP pressure to become saturated. When there is little fuel in the fuel tank, it takes up to 15 minutes.

  9. PERFORM EVAP SYSTEM CHECK (STEP 4/5) 
    Fig 8: EVAP Pressure Malfunction Chart - Step 4/5
    G05413865Courtesy of © TOYOTA, LICENSE AGREEMENT TMS1002
    1. Check the EVAP pressure in step 4/5.

      Result 

      RESULT CHART

      DTC(1) Result Suspected Trouble Area Proceed to
      - EVAP pressure increases by 0.3 kPa-g (2.25 mmHg-g) or more within 10 seconds of proceeding from step 3/5 to step 4/5 Not yet determined A
      P0441 EVAP pressure increases by 0.3 kPa-g (2.25 mmHg-g) or more within 10 seconds of proceeding from step 3/5 to step 4/5 Problems in EVAP hose between purge VSV and intake manifold B
      P0441 Variation in EVAP pressure is less than 0.3 kPa-g (2.25 mmHg-g) for 10 seconds, after proceeding from step 3/5 to step 4/5 Purge VSV stuck closed C
      (1) The DTCs related to the EVAP system are displayed on the Techstream when checking.

      B: Go to step  15

      C: Go to step  12

      A: Go to next step 

  10. PERFORM EVAP SYSTEM CHECK (STEP 5/5) 
    Fig 9: EVAP Pressure Malfunction Chart - Step 5/5
    G05413866Courtesy of © TOYOTA, LICENSE AGREEMENT TMS1002
    1. Check the EVAP pressure in step 5/5.
    2. Compare the EVAP pressure in step 3/5 and the second reference pressure standard (step 5/5).

      Result 

      RESULT CHART

      DTC(1) Result Suspected Trouble Area Proceed to
      - EVAP pressure (step 3/5) lower than second reference pressure standard (step 5/5) Not yet determined (no leakage from EVAP system) A
      P0441 and P0455 EVAP pressure (step 3/5) higher than [second reference pressure standard (step 5/5) x 0.2]
      • Purge VSV stuck open
      • EVAP gross leak
      B
      P0456 EVAP pressure (step 3/5) higher than second reference pressure standard (step 5/5) EVAP small leak B
      (1) The DTCs related to the EVAP system are displayed on the Techstream when checking.

      A: Go to step  36

      B: Go to step  12

  11. PERFORM EVAP SYSTEM CHECK (STEP 3/5) 
    Fig 10: EVAP Pressure Malfunction Chart - Step 3/5
    G05413867Courtesy of © TOYOTA, LICENSE AGREEMENT TMS1002
    1. Check the EVAP pressure in step 3/5.

      Result 

      RESULT CHART

      DTC(1) Result Suspected Trouble Area Proceed to
      P043F EVAP pressure is less than [reference pressure standard] measured in step 2/5 Reference orifice high-flow A
      P2401 EVAP pressure is almost the same as [reference pressure standard] measured in step 2/5 Leak detection pump stuck OFF B
      (1) The DTCs related to the EVAP system are displayed on the Techstream when checking.

      HINT:

      The first reference pressure standard is the value determined in step 2/5.

      A: Go to step  30

      B: Go to step  23

  12. PERFORM ACTIVE TEST USING TECHSTREAM (PURGE VSV) 
    1. Enter the following menus: Powertrain/Engine/Active Test/Activate the VSV for EVAP Control.
    2. Disconnect the hose (connected to the canister) from the purge VSV.
    3. Start the engine.
    4. Using the Techstream, turn off the purge VSV (EVAP VSV: OFF).
    5. Confirm that the purge VSV has no suction with your fingers.
    6. Using the Techstream, turn on the purge VSV (EVAP VSV: ON).
    7. Confirm that the purge VSV has suction with your fingers.
      Fig 11: Identifying Purge VSV
      G06111195Courtesy of © TOYOTA, LICENSE AGREEMENT TMS1002

      Result 

      RESULT CHART

      Result Suspected Trouble Area Proceed to
      No suction when purge VSV turned OFF, and suction applied when turned ON - A
      Suction applied when purge VSV turned OFF Purge VSV stuck open B
      No suction when purge VSV turned ON
      • Purge VSV stuck closed
      • Problems with EVAP hose between purge VSV and intake manifold
      C
    8. Reconnect the hose.

      B: Go to step  14

      C: Go to step  15

      A: Go to next step 

  13. CHECK FUEL CAP ASSEMBLY 
    1. Check that the fuel cap is correctly installed and confirm the fuel cap meets OEM specification.

      HINT:

      If an EVAP tester is available, check the fuel cap using the tester.

      1. Tighten the fuel cap.
      2. Remove the fuel cap and install it onto the fuel cap adaptor.
      3. Connect the EVAP tester pump hose to the adaptor, and pressurize the cap to 3.2 to 3.7 kPa-g (24 to 28 mmHg-g) using an EVAP tester pump.
      4. Seal the adaptor and wait for 2 minutes.
      5. Check the pressure. If the pressure is 2 kPa-g (15 mmHg-g) or more, the fuel cap is normal.

        Result 

        RESULT CHART

        Test Result Suspected Trouble Area Proceed to
        Fuel cap correctly installed - A
        Fuel cap loose
        • Fuel cap improperly installed
        • Defective fuel cap
        • Fuel cap does not meet OEM specifications
        B
        No fuel cap - C

        A: Go to step  29

        B: Go to step  27

        C: Go to step  28

  14. INSPECT PURGE VSV 
    1. Turn the ignition switch off.
    2. Disconnect the purge VSV connector.
    3. Disconnect the hose (connected to the canister) from the purge VSV.
    4. Start the engine.
    5. Confirm that the purge VSV has no suction with your fingers.

      Result 

      RESULT CHART

      Result Suspected Trouble Area Proceed to
      No suction ECM A
      Suction applied Purge VSV B
    6. Reconnect the purge VSV connector.
    7. Reconnect the hose.

      A: Go to step  35

      B: Go to step  31

      Fig 12: Identifying Purge VSV And Purge VSV Connector
      G06111196Courtesy of © TOYOTA, LICENSE AGREEMENT TMS1002
  15. CHECK EVAP HOSE (PURGE VSV - THROTTLE BODY) 
    1. Disconnect the hose (connected to the throttle body) from the purge VSV.
    2. Start the engine.
    3. Confirm that the hose has suction with your fingers.

      Result 

      RESULT CHART

      Result Suspected Trouble Area Proceed to
      Suction applied - A
      No suction
      • Throttle body
      • EVAP hose between purge VSV and throttle body
      B
    4. Reconnect the hose.

      B: Go to step  26

      Fig 13: Identifying Purge VSV And Hose
      G06111197Courtesy of © TOYOTA, LICENSE AGREEMENT TMS1002

      A: Go to next step 

  16. INSPECT PURGE VSV 
    1. Remove the purge VSV.
    2. Apply battery voltage to the terminals of the purge VSV.
    3. Using compressed air, confirm that air flows from port A to port B.

      Result 

      RESULT CHART

      Result Suspected Trouble Area Proceed to
      Air flows - A
      No air flow Purge VSV B
    4. Install the purge VSV.

      B: Go to step  31

      Fig 14: Inspecting Purge VSV
      G05136262Courtesy of © TOYOTA, LICENSE AGREEMENT TMS1002

      A: Go to next step 

  17. CHECK HARNESS AND CONNECTOR (POWER SOURCE OF PURGE VSV) 
    1. Disconnect the purge VSV connector.
    2. Turn the ignition switch to ON.
    3. Measure the voltage according to the value (s) in the table below.

      Standard Voltage 

      TESTER CONNECTION SPECIFIED CONDITION CHART

      Tester Connection Switch Condition Specified Condition
      B29-1 - B29-2 Ignition switch ON 11 to 14 V

      Result 

      RESULT CHART

      Result Suspected Trouble Area Proceed to
      Between 11 V and 14 V - A
      Other than result above Wire harness or connectors between purge VSV and ECM B
    4. Reconnect the purge VSV connector.

      B: Go to step  32

      Fig 15: Identifying B29 Purge VSV Connector
      G05413872Courtesy of © TOYOTA, LICENSE AGREEMENT TMS1002

      A: Go to next step 

  18. CHECK HARNESS AND CONNECTOR (PURGE VSV - ECM) 
    1. Disconnect the ECM connector and the purge VSV connector.
    2. Measure the resistance according to the value (s) in the table below.

      Standard Resistance 

      TESTER CONNECTION SPECIFIED CONDITION CHART

      Tester Connection Condition Specified Condition
      B51-26 (PRG) - B29-2 Always Below 1 Ω
      B51-26 (PRG) - Body ground Always 10 kΩ or higher
      B29-1 - Body ground Always 10 kΩ or higher
    3. Reconnect the purge VSV connector.
    4. Reconnect the ECM connector.

      OK: Go to step  35

      NG: Go to step  32

      Fig 16: Identifying Purge VSV Connector And ECM Connector
      G06111200Courtesy of © TOYOTA, LICENSE AGREEMENT TMS1002
  19. PERFORM ACTIVE TEST USING TECHSTREAM (FOR VENT VALVE) 
    1. Turn the ignition switch to ON.
    2. Enter the following menus: Powertrain/Engine/Active Test/Activate the VSV for Vent Valve.
    3. Measure the voltage according to the value (s) in the table below.

      Standard Voltage 

      TESTER CONNECTION SPECIFIED CONDITION CHART

      Tester Connection Condition Specified Condition
      D61-7 (VPMP) - Body ground Vent valve ON 11 to 14 V
      Vent valve OFF Below 3 V

      Result 

      RESULT CHART

      Result Suspected Trouble Area Proceed to
      Between 11V and 14 V when OFF
      Below 3 V when ON
      Vent valve A
      Below 3 V when OFF and ON ECM B
      Fig 17: Identifying ECM Connector Terminals
      G06111201Courtesy of © TOYOTA, LICENSE AGREEMENT TMS1002

      A: Go to step  22

      B: Go to step  35

  20. PERFORM ACTIVE TEST USING TECHSTREAM (FOR VENT VALVE) 
    1. Turn the ignition switch to ON.
    2. Enter the following menus: Powertrain/Engine/Active Test/Activate the VSV for Vent Valve.
    3. Measure the voltage according to the value (s) in the table below.

      Standard Voltage 

      TESTER CONNECTION SPECIFIED CONDITION CHART

      Tester Connection Condition Specified Condition
      D61-7 (VPMP) - Body ground Vent valve ON 11 to 14 V
      Vent valve OFF Below 3 V

      Result 

      RESULT CHART

      Result Suspected Trouble Area Proceed to
      Below 3 V when OFF and ON Power source of vent valve A
      Between 11V and 14 V when OFF
      Below 3 V when ON
      Vent valve B
      Between 11V and 14 V when OFF and ON ECM C
      Fig 18: Identifying ECM Connector Terminals
      G06111201Courtesy of © TOYOTA, LICENSE AGREEMENT TMS1002

      B: Go to step  22

      C: Go to step  35

      A: Go to next step 

  21. INSPECT CANISTER PUMP MODULE (POWER SOURCE FOR VENT VALVE) 
    1. Turn the ignition switch off.
    2. Disconnect the canister pump module connector.
    3. Turn the ignition switch to ON.
    4. Measure the voltage according to the value (s) in the table below.

      Standard Voltage 

      TESTER CONNECTION SPECIFIED CONDITION CHART

      Tester Connection Switch Condition Specified Condition
      N8-9 (VLVB) - Body ground Ignition switch ON 11 to 14 V

      Result 

      RESULT CHART

      Test Result Suspected Trouble Area Proceed to
      Between 11 V and 14 V
      • Vent valve
      • ECM
      A
      Between 0 V and 3 V Power source wire harness of vent valve B
    5. Reconnect the canister pump module connector.

      B: Go to step  32

      Fig 19: Identifying Canister Pump Module Connector
      G06111203Courtesy of © TOYOTA, LICENSE AGREEMENT TMS1002

      A: Go to next step 

  22. INSPECT CANISTER PUMP MODULE (VENT VALVE OPERATION) 
    1. Turn the ignition switch off.
    2. Disconnect the canister pump module connector.
    3. Apply the battery voltage to terminals VLVB and VGND of the pump module.
    4. Touch the canister pump module to confirm the vent valve operation.

      Result 

      RESULT CHART

      Result Suspected Trouble Area Proceed to
      Operating Wire harness between vent valve and ECM A
      Not operating Vent valve B
      Fig 20: Inspecting Canister Pump Module
      G06111204Courtesy of © TOYOTA, LICENSE AGREEMENT TMS1002
    5. Reconnect the canister pump module connector.

      A: Go to step  32

      B: Go to step  30

  23. PERFORM ACTIVE TEST USING TECHSTREAM (FOR CANISTER PUMP MODULE) 
    1. Enter the following menus: Powertrain/Engine/Active Test/Activate the Vacuum Pump.
    2. Measure the voltage according to the value (s) in the table below.

      Standard Voltage 

      TESTER CONNECTION SPECIFIED CONDITION CHART

      Tester Connection Condition Specified Condition
      D61-9 (MPMP) - Body ground Leak detection pump ON (Active Test ON) 11 to 14 V

      Result 

      RESULT CHART

      Test Result Suspected Trouble Area Proceed to
      Between 0 V and 3 V when OFF
      Between 11V and 14 V when ON
      - A
      Between 11 V and 14 V when OFF
      Between 0 V and 3 V when ON
      ECM B
      Fig 21: Identifying ECM Connector Terminals
      G06111205Courtesy of © TOYOTA, LICENSE AGREEMENT TMS1002

      B: Go to step  35

      A: Go to next step 

  24. CHECK HARNESS AND CONNECTOR (CANISTER PUMP MODULE - ECM) 
    1. Turn the ignition switch off.
    2. Disconnect the canister pump module connector.
    3. Turn the ignition switch to ON.
    4. Enter the following menus: Powertrain/Engine/Active Test/Activate the Vacuum Pump.
    5. Turn the vacuum pump on (Active Test ON).
    6. Measure the voltage according to the value (s) in the table below.

      Standard Voltage 

      TESTER CONNECTION SPECIFIED CONDITION CHART

      Tester Connection Condition Specified Condition
      N8-1 (MTRB) - Body ground Leak detection pump ON (Active Test ON) 11 to 14 V

      Result 

      RESULT CHART

      Test Result Suspected Trouble Area Proceed to
      Between 11 V and 14 V - A
      Between 0 V and 3 V Wire harness between ECM and leak detection pump B
    7. Reconnect the canister pump module connector.

      B: Go to step  32

      Fig 22: Identifying Canister Pump Module Connector
      G06111206Courtesy of © TOYOTA, LICENSE AGREEMENT TMS1002

      A: Go to next step 

  25. CHECK HARNESS AND CONNECTOR (CANISTER PUMP MODULE - BODY GROUND) 
    1. Disconnect the canister pump module connector.
    2. Turn the ignition switch off.
    3. Check the resistance according to the value (s) in the table below.

      Standard Resistance 

      TESTER CONNECTION SPECIFIED CONDITION CHART

      Tester Connection Condition Specified Condition
      N8-6 (MGND) - Body ground Always Below 1 Ω

      Result 

      RESULT CHART

      Test Result Suspected Trouble Area Proceed to
      Below 1 Ω. Leak detection pump A
      10 kΩ or higher Wire harness between leak detection pump and body ground B
      Fig 23: Identifying Canister Pump Module Connector
      G06111207Courtesy of © TOYOTA, LICENSE AGREEMENT TMS1002
    4. Reconnect the canister pump module connector.

      A: Go to step  30

      B: Go to step  32

  26. INSPECT THROTTLE BODY 
    1. Stop the engine.
    2. Disconnect the EVAP hose from the throttle body.
    3. Start the engine.
    4. Confirm that the port of the throttle body has suction with your fingers.

      Result 

      RESULT CHART

      Test Result Suspected Trouble Area Proceed to
      Suction applied EVAP hose between throttle body and purge VSV A
      No suction Throttle body B
    5. Reconnect the EVAP hose.

      A: Go to step  33

      B: Go to step  34

  27. CORRECTLY REINSTALL OR REPLACE FUEL CAP 

    HINT:

    • When reinstalling the fuel cap, tighten it until a few click sounds are heard.
    • When replacing the fuel cap, use a fuel cap that meets OEM specifications, and tighten it until a few click sounds are heard.

      NEXT: Go to step  37

  28. REPLACE FUEL CAP ASSEMBLY 

    HINT:

    When installing the fuel cap, tighten it until a few click sounds are heard.

    NEXT: Go to step  37

  29. LOCATE EVAP LEAK 
    1. Disconnect the vent hose.
      Fig 24: Identifying EVAP Components Location
      G06111208Courtesy of © TOYOTA, LICENSE AGREEMENT TMS1002
    2. Connect the EVAP pressure tester tool to the canister with the adapter.
      Fig 25: Connecting EVAP Pressure Tester Tool To Canister
      G06111209Courtesy of © TOYOTA, LICENSE AGREEMENT TMS1002
    3. Pressurize the EVAP system by 3.2 to 3.7 kPa-g (24 to 28 mmHg-g).
    4. Apply soapy water to the piping and the connecting parts of the EVAP system.
    5. Look for areas where bubbles appear. This indicates a leak point.
    6. Repair or replace the leak point.

      NEXT: Go to step  37

  30. REPLACE CHARCOAL CANISTER ASSEMBLY 
    1. Replace the charcoal canister assembly (See REMOVE ).
      NOTE: When replacing the canister, check the canister pump module interior and related pipes for water, fuel and other liquids. If liquids are present, check for disconnections and/or cracks in the following parts: 1) the pipe from the air inlet port to the canister pump module; 2) the canister filter; 3) the fuel tank vent hose.
      Fig 26: Identifying Inspection Area Of Charcoal Canister Assembly
      G05413759Courtesy of © TOYOTA, LICENSE AGREEMENT TMS1002

      NEXT: Go to step  37

  31. REPLACE PURGE VSV 
    1. Replace the purge VSV (See REMOVAL ).

      NEXT: Go to step  37

  32. REPAIR OR REPLACE HARNESS OR CONNECTOR 

    NEXT: Go to step  37

  33. REPLACE EVAP HOSE (THROTTLE BODY - PURGE VSV) 

    NEXT: Go to step  37

  34. INSPECT THROTTLE BODY 
    1. Remove the throttle body (See INSPECTION PROCEDURE  ).
    2. Check that the EVAP purge port of the throttle body is not clogged. If necessary, replace the throttle body.

      NEXT: Go to step  37

  35. REPLACE ECM 
    1. Replace the ECM (See REMOVAL  ).

      NEXT: Go to step  37

  36. REPAIR OR REPLACE PARTS AND COMPONENTS INDICATED BY OUTPUT DTCS 
    1. Repair the malfunctioning areas indicated by the DTCs that had been confirmed when the vehicle was brought in.
  37. PERFORM EVAP SYSTEM CHECK (AUTOMATIC MODE) 
    NOTE:
    • In the Evaporative System Check (Automatic Mode), the series of 5 Evaporative System Check steps are performed automatically. It takes a maximum of approximately 18 minutes.
    • Do not perform the Evaporative System Check when the fuel tank is more than 90% full because the cut-off valve may be closed, making the leak check of the fuel tank unavailable.
    • Do not run the engine during this operation.
    • When the temperature of the fuel is 35°C (95°F) or more, a large amount of vapor forms and any check results become inaccurate. When performing an Evaporative System Check, keep the temperature below 35°C (95°F).
    1. Clear the DTCs (See DTC CHECK/CLEAR ).
    2. On the Techstream, enter the following menus: Powertrain/Engine/Utility/Evaporative System Check/Automatic Mode.
    3. After the Evaporative System Check is completed, check for pending DTCs by entering the following menus: Powertrain/Engine/Trouble Codes/Pending.

      HINT:

      If no pending DTC is found, the repair has been successfully completed.

      NEXT: COMPLETED