LEMON Manuals: Even more car manuals for everyone: 1960-2025
Home >> Toyota >> 2009 >> Matrix AWD L4-2.4L (2AZ-FE) >> Repair and Diagnosis >> Starting and Charging >> Charging System >> Alternator >> Service and Repair >> Overhaul >> Reassembly
April 5, 2026: LEMON Manuals is launched! Read the announcement.

Reassembly








2AZ-FE BATTERY / CHARGING: GENERATOR: REASSEMBLY

REASSEMBLY

1. INSTALL GENERATOR DRIVE END FRAME BEARING





(a) Using SST and a press, press in a new generator drive end frame bearing.
SST: 09950-60010
09951-00250
SST: 09950-70010
09951-07100





(b) Fit the tabs on the bearing retainer plate into the cutouts on the generator drive end frame to install the generator retainer plate.
(c) Install the 4 screws.
Torque: 2.3 Nm (23 kgf-cm, 20 in-lbf)
2. INSTALL GENERATOR ROTOR ASSEMBLY
(a) Place the drive end frame on the clutch pulley.





(b) Install the generator rotor onto the generator drive end frame.





(c) Place a new generator washer on the generator rotor.
3. INSTALL GENERATOR COIL ASSEMBLY





(a) Using SST and a press, slowly press in the generator coil assembly to the drive end frame.
SST: 09612-70100
09612-07240





(b) Tighten the 4 bolts.
Torque: 5.8 Nm (59 kgf-cm, 51 in-lbf)





(c) Install the cord clip with the bolt.
Torque: 4.6 Nm (47 kgf-cm, 41 in-lbf)
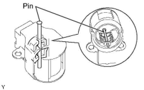
4. INSTALL GENERATOR BRUSH HOLDER ASSEMBLY





(a) While pushing the 2 brushes into the generator brush holder assembly, insert a 1.0 mm (0.039 in.) pin into the generator brush holder hole.





(b) Install the generator brush holder assembly to the generator coil with the 2 screws.
Torque: 1.8 Nm (18 kgf-cm, 16 in-lbf)





(c) Pull the pin out of the generator brush holder.
5. INSTALL GENERATOR TERMINAL INSULATOR





(a) Install the terminal insulator to the generator coil.
NOTE: Be careful to the installation direction of the terminal insulator as shown in the illustration.

6. INSTALL GENERATOR REAR END COVER





(a) Install the generator rear end cover to the generator coil with the 3 nuts.
Torque: 4.6 Nm (47 kgf-cm, 41 in-lbf)
7. INSTALL GENERATOR CLUTCH PULLEY
(a) Temporarily install the clutch pulley onto the rotor shaft.





(b) Set SST (A) and (B).
SST: 09820-63021





(c) Clamp SST (A) in a vise.
(d) Place the rotor shaft end into SST (A).





(e) Fit SST (B) to the clutch pulley.





(f) Tighten the pulley by turning SST (B) in the direction shown in the illustration.

without SST - Torque: 111 Nm (1125 kgf-cm, 82 ft-lbf)
with SST - Torque: 84 Nm (857 kgf-cm, 62 ft-lbf)

NOTICE:
- The "with SST" torque value is effective when using SST with a fulcrum length of 100 mm (3.94 in.).
- Use a torque wrench with a fulcrum length of 318 mm (12.52 in.).
- This torque value is effective when SST is parallel to the torque wrench.

(g) Remove the generator assembly from SST.
(h) Check that the clutch pulley rotates smoothly.
(i) Install a new clutch pulley cap to the clutch pulley.