LEMON Manuals: Even more car manuals for everyone: 1960-2025
Home >> Toyota >> 2009 >> Matrix Base, Automatic >> Repair and Diagnosis (Single Page) >> Brakes >> Traction Control >> Brake Control/Dynamic Control System >> Anti-Lock Brake System >> DTC C0273/13 Open in ABS Motor Relay Circuit; DTC C0274/14 Short to B+ in ABS Motor Relay Circuit >> Wiring Diagram
April 5, 2026: LEMON Manuals is launched! Read the announcement.

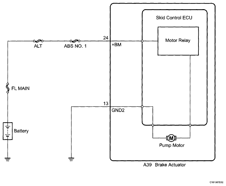
DTC C0273/13 Open in ABS Motor Relay Circuit; DTC C0274/14 Short to B+ in ABS Motor Relay Circuit: Wiring Diagram

Fig 1: ABS Motor Relay - Wiring Diagram
G06034898Courtesy of © TOYOTA, LICENSE AGREEMENT TMS1002