LEMON Manuals: Even more car manuals for everyone: 1960-2025
Home >> Toyota >> 2009 >> Matrix Base, Automatic >> Repair and Diagnosis >> Accessories & Equipment >> Communication Devices >> Networking >> Can Communication System >> Terminals Of Ecu
April 5, 2026: LEMON Manuals is launched! Read the announcement.

Terminals Of Ecu

NOTE:
  • Turn the ignition switch off before measuring the resistances of the CAN bus main wire and the CAN bus branch wires.
  • After the ignition switch is turned off, check that the key reminder warning system and light reminder warning system are not in operation.
  • Before measuring the resistance, leave the vehicle as is for at least 1 minute and do not operate the ignition switch, any other switches or the doors. If any doors need to be opened in order to check the connectors, open the doors and leave them open.

HINT:

Operating the ignition switch, any other switches or door triggers related ECU and sensor communication on the CAN. This communication will cause the resistance value to change.

NOTE: This section describes the standard CAN values for all CAN related components.
  1. JUNCTION CONNECTOR FOR CAN NO. 1 BUS 
    1. CAN No. 1 junction connector
      Fig 1: Identifying CAN No. 1 (E65) Junction Connector Terminals
      G06036124Courtesy of © TOYOTA, LICENSE AGREEMENT TMS1002
      CAN NO. 1 JUNCTION CONNECTOR TERMINALS REFERENCE CHART

      CAN No. 1 Junction Connector Wiring Color Connect to
      E65-1 (CANH) R Main body ECU
      E65-12 (CANL) W Main body ECU
      E65-2 (CANH) LG DLC3
      E65-13 (CANL) W DLC3
      E65-3 (CANH) SB Power steering ECU
      E65-14 (CANL) W Power steering ECU
      E65-4 (CANH) G Combination meter
      E65-15 (CANL) W Combination meter
      E65-5 (CANH) Y Center airbag sensor assembly
      E65-16 (CANL) W Center airbag sensor assembly
      E65-6 (CANH) B CAN No. 2 junction connector
      E65-17 (CANL) W CAN No. 2 junction connector
      E65-7 (CANH) V Air conditioning amplifier
      E65-18 (CANL) W Air conditioning amplifier
      E65-8 (CANH) BR Steering angle sensor
      E65-19 (CANL) W Steering angle sensor
      E65-9 (CANH) L Yaw rate sensor
      E65-20 (CANL) W Yaw rate sensor
      E65-10 (CANH) P Network gateway ECU
      E65-21 (CANL) W Network gateway ECU
      E65-11 (CANH) GR Accessory gateway
      E65-22 (CANL) W Accessory gateway
    2. CAN No. 2 junction connector
      Fig 2: Identifying CAN No. 2 (A34) Junction Connector Terminals
      G06036125Courtesy of © TOYOTA, LICENSE AGREEMENT TMS1002
      CAN NO. 2 JUNCTION CONNECTOR TERMINALS REFERENCE CHART

      CAN No. 2 Junction Connector Wiring Color Connect to
      A34-8 (CANH) R Skid control ECU
      A34-19 (CANL) W Skid control ECU
      A34-9 (CANH) B CAN No. 1 junction connector
      A34-20 (CANL) W CAN No. 1 junction connector
      A34-10 (CANH) Y ECM
      A34-21 (CANL) W ECM
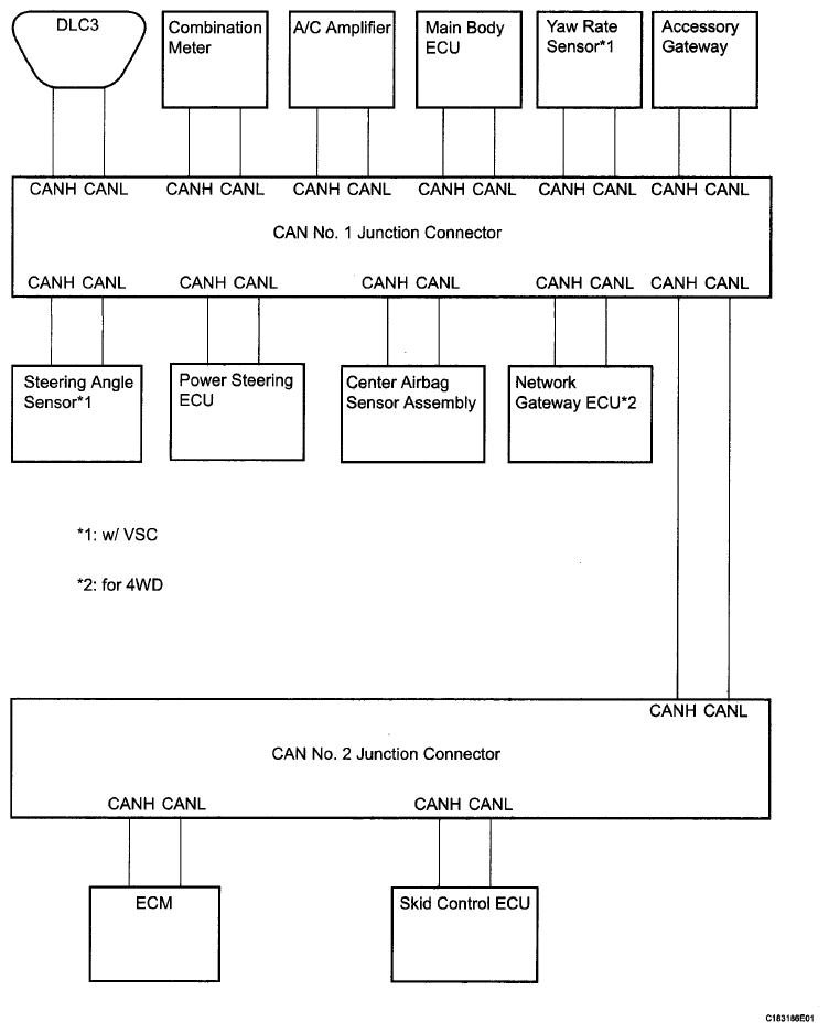
    3. The connection diagram of the components which connected to the CAN junction connector
      Fig 3: CAN Junction Connector Connection Diagram
      G06036126Courtesy of © TOYOTA, LICENSE AGREEMENT TMS1002
  2. JUNCTION CONNECTOR FOR CAN NO. 2 BUS 
    1. CAN No. 3 junction connector
      Fig 4: CAN No. 3 Junction Connector Connection Diagram
      G06036127Courtesy of © TOYOTA, LICENSE AGREEMENT TMS1002
      CAN NO. 3 JUNCTION CONNECTOR TERMINALS REFERENCE CHART

      No. 4 Junction Connector Wiring Color Connect to
      E68-1 (CANH) B Network gateway ECU
      E68-2 (CANL) W Network gateway ECU
      E66-1 (CANH) L 4WD Control ECU
      E66-2 (CANL) W 4WD Control ECU
    2. The connection diagram of the components which are connected to the CAN junction connector.
      Fig 5: CAN Junction Connector Connection Diagram
      G06036128Courtesy of © TOYOTA, LICENSE AGREEMENT TMS1002
  3. DLC3 
    1. Measure the resistance according to the value (s) in the table below.
      Fig 6: Identifying DLC3 Connector Terminals
      G06036129Courtesy of © TOYOTA, LICENSE AGREEMENT TMS1002

      Standard Resistance 

      RESISTANCE SPECIFIED CONDITIONS

      Terminal No. (Symbol) Wiring Color Condition Specified Condition
      E15-6 (CANH) - E15-14 (CANL) LG-W Ignition switch off 54 to 69 Ω
      E15-6 (CANH) - E15-4 (CG) LG - W-B Ignition switch off 200 Ω or higher
      E15-14 (CANL) - E15-4 (CG) W-W-B Ignition switch off 200 Ω or higher
      E15-6 (CANH) - E15-16 (BAT) LG-LG Cable is disconnected from negative (-) battery terminal 6 kΩ or higher
      E15-14 (CANL) - E15-16 (BAT) W-LG Cable is disconnected from negative (-) battery terminal 6 kΩ or higher
  4. SKID CONTROL ECU WITH ACTUATOR 
    1. Disconnect the connector from the skid control ECU.
    2. Measure the resistance according to the value (s) in the table below.
      Fig 7: Identifying Skid Control ECU Connector Terminals
      G06036130Courtesy of © TOYOTA, LICENSE AGREEMENT TMS1002

      Standard Resistance 

      w/VSC 

      RESISTANCE SPECIFIED CONDITIONS

      Terminal No. (Symbol) Wiring Color Condition Specified Condition
      A38-25 (CANH) - A38-14 (CANL) R-W Ignition switch off 54 to 69 Ω
      A38-25 (CANH) - A38-1 (GND1) R-W-B Ignition switch off 200 Ω or higher
      A38-14 (CANL) - A38-1 (GND1) W-W-B Ignition switch off 200 Ω or higher
      A38-25 (CANH) - A38-24 (+BM) R-L Cable is disconnected from negative (-) battery terminal 6 kΩ or higher
      A38-14 (CANL) - A38-24 (+BM) W-L Cable is disconnected from negative (-) battery terminal 6 kΩ or higher

      w/o VSC 

      RESISTANCE SPECIFIED CONDITIONS

      Terminal No. (Symbol) Wiring Color Condition Specified Condition
      A39-25 (CANH) - A39-14 (CANL) R-W Ignition switch off 54 to 69 Ω
      A39-25 (CANH) - A39-1 (GND1) R-W-B Ignition switch off 200 Ω or higher
      A39-14 (CANL) - A39-1 (GND1) W-W-B Ignition switch off 200 Ω or higher
      A39-25 (CANH) - A39-24 (+BM) R-L Cable is disconnected from negative (-) battery terminal 6 kΩ or higher
      A39-14 (CANL) - A39-24 (+BM) W-L Cable is disconnected from negative (-) battery terminal 6 kΩ or higher
  5. STEERING ANGLE SENSOR 
    1. Disconnect the connector from the steering angle sensor.
    2. Measure the resistance according to the value (s) in the table below.
      Fig 8: Identifying Steering Angle Sensor Connector Terminals
      G06036131Courtesy of © TOYOTA, LICENSE AGREEMENT TMS1002

      Standard Resistance 

      RESISTANCE SPECIFIED CONDITIONS

      Terminal No. (Symbol) Wiring Color Condition Specified Condition
      E62-3 (CANH) - E62-2 (CANL) BR-W Ignition switch off 54 to 69 Ω
      E62-3 (CANH) - E62-1 (ESS) BR - W-B Ignition switch off 200 Ω or higher
      E62-2 (CANL) - E62-1 (ESS) W-W-B Ignition switch off 200 Ω or higher
      E62-3 (CANH) - E62-5 (BAT) BR-R Cable is disconnected from negative (-) battery terminal 6 kΩ or higher
      E62-2 (CANL) - E62-5 (BAT) W-R Cable is disconnected from negative (-) battery terminal 6 kΩ or higher
  6. YAW RATE SENSOR 
    1. Disconnect the connector from the yaw rate sensor.
    2. Measure the resistance according to the value (s) in the table below.
      Fig 9: Identifying Yaw Rate Sensor And DLC3 Connector Terminals
      G06036132Courtesy of © TOYOTA, LICENSE AGREEMENT TMS1002

      Standard Resistance 

      RESISTANCE SPECIFIED CONDITIONS

      Terminal No. (Symbol) Wiring Color Condition Specified Condition
      E61-3 (CANH) - E61-2 (CANL) L-W Ignition switch off 54 to 69 Ω
      E61-3 (CANH) - E61-1 (GND) L-W-B Ignition switch off 200 Ω or higher
      E61-2 (CANL) - E61-1 (GND) W-W-B Ignition switch off 200 Ω or higher
      E61-3 (CANH) - E15-16 (BAT) L-LG Cable is disconnected from negative (-) battery terminal 6 kΩ or higher
      E61-2 (CANL) - E15-16 (BAT) W-LG Cable is disconnected from negative (-) battery terminal 6 kΩ or higher
  7. CENTER AIRBAG SENSOR 
    1. Disconnect the connector from the center airbag sensor.
    2. Measure the resistance according to the value (s) in the table below.
      Fig 10: Identifying Center Airbag Sensor And DLC3 Connector Terminals
      G06036133Courtesy of © TOYOTA, LICENSE AGREEMENT TMS1002

      Standard Resistance 

      RESISTANCE SPECIFIED CONDITIONS

      Terminal No. (Symbol) Wiring Color Condition Specified Condition
      E18-13 (CANH) - E18-22 (CANL) Y-W Ignition switch off 54 to 69 Ω
      E18-13 (CANH) - E18-25 (E1) Y-W-B Ignition switch off 200 Ω or higher
      E18-22 (CANL) - E18-25 (E1) W-W-B Ignition switch off 200 Ω or higher
      E18-13 (CANH) - E15-16 (BAT) Y-LG Cable is disconnected from negative (-) battery terminal 6 kΩ or higher
      E18-22 (CANL) - E15-16 (BAT) W-LG Cable is disconnected from negative (-) battery terminal 6 kΩ or higher
  8. ECM 
    1. Disconnect the connector from the ECM.
      Fig 11: Identifying A37 And B29 Connector Terminals
      G06036134Courtesy of © TOYOTA, LICENSE AGREEMENT TMS1002
    2. Measure the resistance according to the value (s) in the table below.

      Standard Resistance 

      RESISTANCE SPECIFIED CONDITIONS

      Terminal No. (Symbol) Wiring Color Condition Specified Condition
      A37-41 (CANH) - A37-49 (CANL) Y-W Ignition switch off 108 to 132 Ω
      A37-41 (CANH) - B29-104 (E1) Y-BR Ignition switch off 200 Ω or higher
      A37-49 (CANL) - B29-104 (E1) W-BR Ignition switch off 200 Ω or higher
      A37-41 (CANH) - A37-20 (BATT) Y-P Cable is disconnected from negative (-) battery terminal 6 kΩ or higher
      A37-49 (CANL) - A37-20 (BATT) W-P Cable is disconnected from negative (-) battery terminal 6 kΩ or higher
  9. AIR CONDITIONING AMPLIFIER 
    1. Disconnect the air conditioning amplifier connector.
    2. Measure the resistance according to the value (s) in the table below.
      Fig 12: Identifying Air Conditioning Amplifier And DLC3 Connector Terminals
      G06036135Courtesy of © TOYOTA, LICENSE AGREEMENT TMS1002

      Standard Resistance 

      RESISTANCE SPECIFIED CONDITIONS

      Terminal No. (Symbol) Wiring Color Condition Specified Condition
      E8-2 (CANH) - E8-3 (CANL) V-W Ignition switch off 54 to 69 Ω
      E8-2 (CANH) - E8-12 (GND) V-W-B Ignition switch off 200 Ω or higher
      E8-3 (CANL) - E8-12 (GND) W-W-B Ignition switch off 200 Ω or higher
      E8-2 (CANH) - E15-16 (BAT) V-LG Cable is disconnected from negative (-) battery terminal 6 kΩ or higher
      E8-3 (CANL) - E15-16 (BAT) W-LG Cable is disconnected from negative (-) battery terminal 6 kΩ or higher
  10. COMBINATION METER 
    1. Disconnect the connector from the combination meter.
    2. Measure the resistance according to the value (s) in the table below.
      Fig 13: Identifying Combination Meter Connector Terminals
      G06036136Courtesy of © TOYOTA, LICENSE AGREEMENT TMS1002

      Standard Resistance 

      RESISTANCE SPECIFIED CONDITIONS

      Terminal No. (Symbol) Wiring Color Condition Specified Condition
      E55-27 (CANH) - E55-28 (CANL) G-W Ignition switch off 108 to 132 Ω
      E55-27 (CANH) - E55-30 (ET) G-BR Ignition switch off 200 Ω or higher
      E55-28 (CANL) - E55-30 (ET) W-BR Ignition switch off 200 Ω or higher
      E55-27 (CANH) - E55-32 (B) G-R Cable is disconnected from negative (-) battery terminal 6 kΩ or higher
      E55-28 (CANL) - E55-32 (B) W-R Cable is disconnected from negative (-) battery terminal 6 kΩ or higher
  11. MAIN BODY ECU 
    1. Disconnect the connector from the main body ECU.
    2. Measure the resistance according to the value (s) in the table below.
      Fig 14: Identifying Main Body ECU And DLC3 Connector Terminals
      G06036137Courtesy of © TOYOTA, LICENSE AGREEMENT TMS1002

      Standard Resistance 

      RESISTANCE SPECIFIED CONDITIONS

      Terminal No. (Symbol) Wiring Color Condition Specified Condition
      E63-23 (CANH) - E63-22 (CANL) R-W Ignition switch off 54 to 69 Ω
      E63-23 (CANH) - E15-4 (CG) R-W-B Ignition switch off 200 Ω or higher
      E63-22 (CANL) - E15-4 (CG) W-W-B Ignition switch off 200 Ω or higher
      E63-23 (CANH) - E15-16 (BAT) R-LG Cable is disconnected from negative (-) battery terminal 6 kΩ or higher
      E63-22 (CANL) - E15-16 (BAT) W-LG Cable is disconnected from negative (-) battery terminal 6 kΩ or higher
  12. POWER STEERING ECU 
    1. Disconnect the power steering ECU connectors.
    2. Measure the resistance according to the value (s) in the table below.
      Fig 15: Power Steering ECU Connector Terminals
      G06036138Courtesy of © TOYOTA, LICENSE AGREEMENT TMS1002

      Standard Resistance 

      RESISTANCE SPECIFIED CONDITIONS

      Terminal No. (Symbol) Wiring Color Condition Specified Condition
      E51-1 (CANH) - E51-7 (CANL) SB-W Ignition switch off 54 to 69 Ω
      E51-1 (CANH) - A23-2 (PGND) SB - W-B Ignition switch off 200 Ω or higher
      E51-7 (CANL) - A23-2 (PGND) W-W-B Ignition switch off 200 Ω or higher
      E51-1 (CANH) - A23-1 (PIG) SB-L Cable is disconnected from negative (-) battery terminal 6 kΩ or higher
      E51-7 (CANL) - A23-1 (PIG) W-L Cable is disconnected from negative (-) battery terminal 6 kΩ or higher
  13. NETWORK GATEWAY ECU 
    1. Disconnect the network gateway ECU connector.
    2. Measure the resistance according to the value (s) in the table below.
      Fig 16: Identifying Network Gateway ECU And DLC3 Connector Terminals
      G06036139Courtesy of © TOYOTA, LICENSE AGREEMENT TMS1002

      Standard Resistance 

      RESISTANCE SPECIFIED CONDITIONS

      Terminal No. (Symbol) Wiring Color Condition Specified Condition
      E53-16 (CA1H) - E53-15 (CA1L) P-W Ignition switch off 54 to 69 Ω
      E53-16 (CA1H) - E15-4 (CG) P-W-B Ignition switch off 200 Ω or higher
      E53-15 (CA1L) - E15-4 (CG) W-W-B Ignition switch off 200 Ω or higher
      E53-16 (CA1H) - E15-16 (BAT) P-LG Cable is disconnected from negative (-) battery terminal 6 kΩ or higher
      E53-15 (CA1L) - E15-16 (BAT) W-LG Cable is disconnected from negative (-) battery terminal 6 kΩ or higher
      E53-13 (CA2H) - E53-12 (CA2L) B-W Ignition switch off 108 to 132 Ω
      E53-13 (CA2H) - E15-4 (CG) B-W-B Ignition switch off 200 Ω or higher
      E53-12 (CA2L) - E15-4 (CG) W-W-B Ignition switch off 200 Ω or higher
      E53-13 (CA2H) - E15-16 (BAT) B-LG Cable is disconnected from negative (-) battery terminal 6 kΩ or higher
      E53-12 (CA2L) - E15-16 (BAT) W-LG Cable is disconnected from negative (-) battery terminal 6 kΩ or higher
  14. 4WD CONTROL ECU 
    1. Disconnect the 4WD control ECU connector.
    2. Measure the resistance according to the value (s) in the table below.
      Fig 17: Identifying 4WD Control ECU And DLC3 Connector Terminals
      G06036140Courtesy of © TOYOTA, LICENSE AGREEMENT TMS1002

      Standard Resistance 

      RESISTANCE SPECIFIED CONDITIONS

      Terminal No. (Symbol) Wiring Color Condition Specified Condition
      E17-14 (CANH) - E17-16 (CANL) L-W Ignition switch off 54 to 69 Ω
      E17-14 (CANH) - E17-23 (GND) L-W-B Ignition switch off 200 Ω or higher
      E17-16 (CANL) - E17-23 (GND) W-W-B Ignition switch off 200 Ω or higher
      E17-14 (CANH) - E15-16 (BAT) L-LG Cable is disconnected from negative (-) battery terminal 6 kΩ or higher
      E17-16 (CANL) - E15-16 (BAT) W-LG Cable is disconnected from negative (-) battery terminal 6 kΩ or higher
  15. ACCESSORY GATEWAY 
    1. Measure the resistance according to the value (s) in the table below.
      Fig 18: Identifying Accessory Gateway And DLC3 Connector Terminals
      G06036141Courtesy of © TOYOTA, LICENSE AGREEMENT TMS1002

      Standard Resistance 

      RESISTANCE SPECIFIED CONDITIONS

      Terminal No. (Symbol) Wiring Color Condition Specified Condition
      E43-1 (CANH) - E43-2 (CANL) GR-W Ignition switch off 54 to 69 Ω
      E43-1 (CANH) - E15-4 (CG) GR - W-B Ignition switch off 200 Ω or higher
      E43-2 (CANL) - E15-4 (CG) W-W-B Ignition switch off 200 Ω or higher
      E43-1 (CANH) - E15-16 (BAT) GR-LG Cable is disconnected from negative (-) battery terminal 6 kΩ or higher
      E43-2 (CANL) - E15-16 (BAT) W-LG Cable is disconnected from negative (-) battery terminal 6 kΩ or higher