LEMON Manuals: Even more car manuals for everyone: 1960-2025
Home >> Toyota >> 2009 >> Matrix Base, Automatic >> Repair and Diagnosis >> External Pages >> Different car >> Section 23 (Engine Control System SFI System (Diagnostic Codes (P0136 - P0441))) >> SFI System >> DTC P0300: Random / Multiple Cylinder Misfire Detected (FROM 12/2010); DTC P0301: Cylinder 1 Misfire Detected (FROM 12/2010); DTC P0302: Cylinder 2 Misfire Detected (FROM 12/2010); DTC P0303: Cylinder 3 Misfire Detected (FROM 12/2010); DTC P0304: Cylinder 4 Misfire Detected (FROM 12/2010); DTC P0305: Cylinder 5 Misfire Detected (FROM 12/2010); DTC P0306: Cylinder 6 Misfire Detected (FROM 12/2010) >> Wiring Diagram
April 5, 2026: LEMON Manuals is launched! Read the announcement.

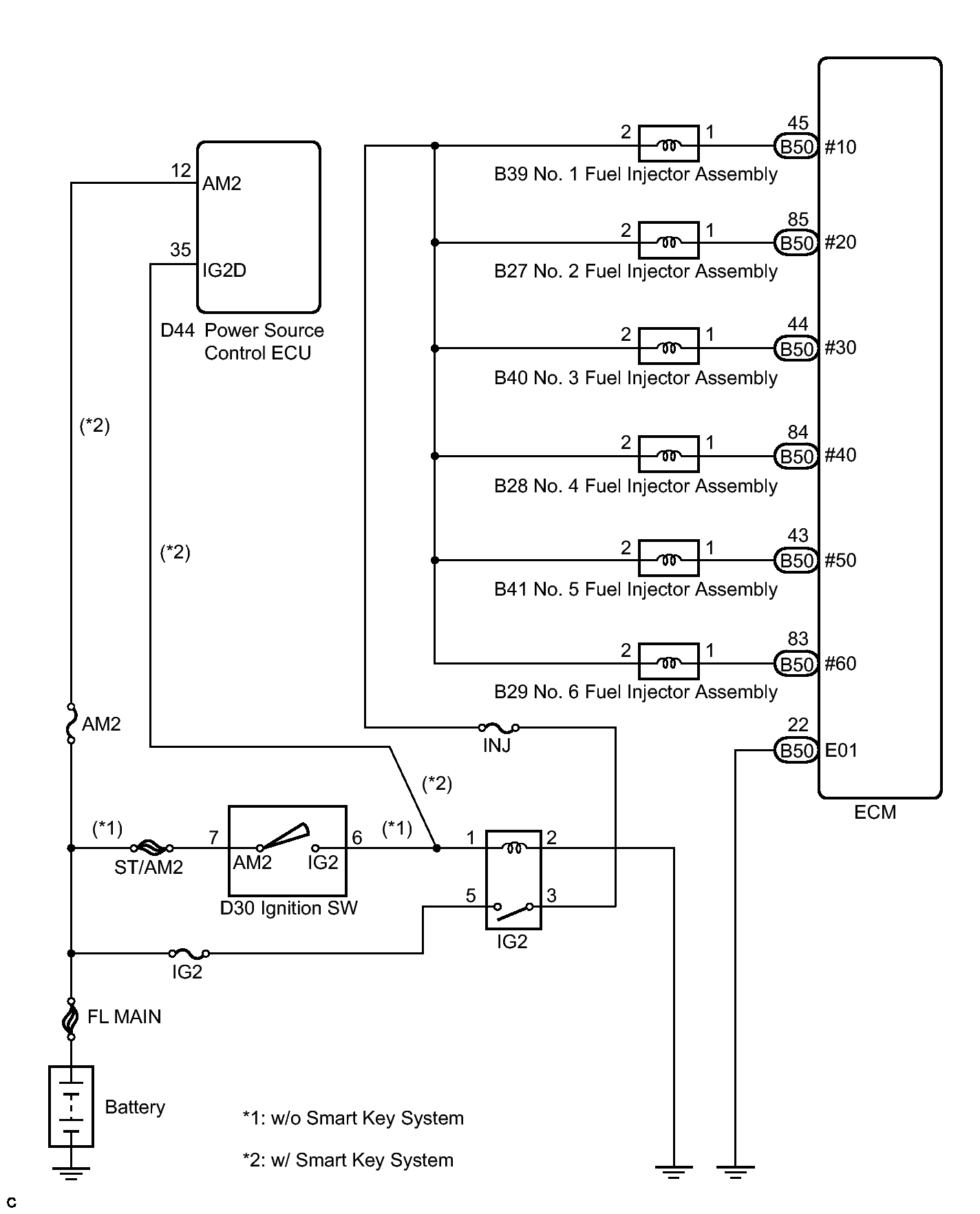
DTC P0300: Random / Multiple Cylinder Misfire Detected (FROM 12/2010); DTC P0301: Cylinder 1 Misfire Detected (FROM 12/2010); DTC P0302: Cylinder 2 Misfire Detected (FROM 12/2010); DTC P0303: Cylinder 3 Misfire Detected (FROM 12/2010); DTC P0304: Cylinder 4 Misfire Detected (FROM 12/2010); DTC P0305: Cylinder 5 Misfire Detected (FROM 12/2010); DTC P0306: Cylinder 6 Misfire Detected (FROM 12/2010): Wiring Diagram

WARNING: This page is about a different car, the 2011 Toyota Avalon. However, it is still accessible from the selected car via links, so may be relevant.

Fuel injector assembly circuit:

Fig 1: Fuel Injector Assembly Circuit - Wiring Diagram
GTY295563Courtesy of © TOYOTA, LICENSE AGREEMENT TMS1002

Mass air flow meter circuit: Refer to DTC P0102. Refer to WIRING DIAGRAM