LEMON Manuals: Even more car manuals for everyone: 1960-2025
Home >> Toyota >> 2009 >> Matrix Base, Automatic >> Repair and Diagnosis >> External Pages >> Different car >> Section 60 (Can Communication System (Diagnostics & Circuit Tests)) >> Can Communication System >> Circuit Tests >> CAN Main Bus Line for Disconnection (FROM 12/2010) >> Wiring Diagram
April 5, 2026: LEMON Manuals is launched! Read the announcement.

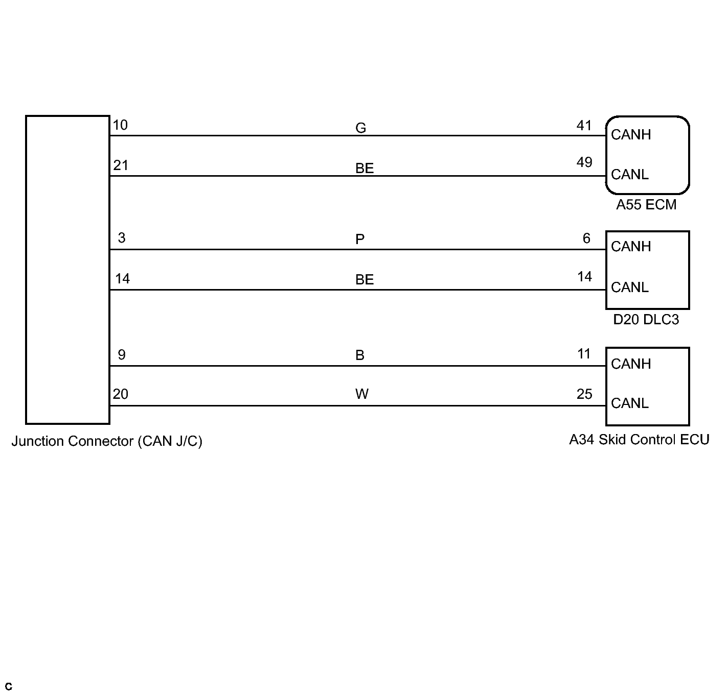
CAN Main Bus Line for Disconnection (FROM 12/2010): Wiring Diagram

WARNING: This page is about a different car, the 2011 Toyota Avalon. However, it is still accessible from the selected car via links, so may be relevant.
Fig 1: Skid Control ECU - Wiring Diagram
GTY298533Courtesy of © TOYOTA, LICENSE AGREEMENT TMS1002