LEMON Manuals: Even more car manuals for everyone: 1960-2025
Home >> Toyota >> 2009 >> Matrix Base, Automatic >> Repair and Diagnosis >> External Pages >> Different car >> Section 73 (Lighting System (Diagnostic Codes & Circuit Tests)) >> Lighting System >> Circuit Tests >> Front Fog Light Circuit >> Procedure
April 5, 2026: LEMON Manuals is launched! Read the announcement.

Front Fog Light Circuit: Procedure

WARNING: This page is about a different car, the 2011 Toyota Avalon. However, it is still accessible from the selected car via links, so may be relevant.
  1. PERFORM ACTIVE TEST USING TECHSTREAM 
    1. Connect the Techstream to the DLC3.
    2. Turn the ignition switch on (IG).
    3. Turn the Techstream on.
    4. Enter the following menus: Body Electrical / Body / Active Test.
    5. Check the operation.
      BODY (BODY ECU)

      Tester Display Test Part Control Range Diagnostic Note
      Front Fog Light Relay Front fog light relay ON/OFF -

      OK

      Front fog lights come on.

    NG → See step   2 

    OK → PROCEED TO  PROBLEM SYMPTOMS TABLE  NEXT CIRCUIT INSPECTION SHOWN IN PROBLEM SYMPTOMS TABLE 

  2. INSPECT RELAY 
    1. Inspect front fog relay continuity.
      Fig 1: Identifying Front Fog Relay Connector Terminals
      GTY141650Courtesy of © TOYOTA, LICENSE AGREEMENT TMS1002
      1. Remove the front fog relay from the instrument panel J/B.
      2. Measure the resistance according to the value(s) in the table below.

        Standard resistance

        Tester Connection Specified Condition
        3 - 5 10 kΩ or higher
        3 - 5 Below 1 Ω
        (When battery voltage is applied to terminal 1- 2)
    2. Inspect TAIL relay continuity.
      Fig 2: Identifying Tail Relay Connector Terminals
      GTY206208Courtesy of © TOYOTA, LICENSE AGREEMENT TMS1002
      1. Remove the tail relay from the instrument panel J/B.
      2. Measure the resistance according to the value(s) in the table below.

        Standard resistance

        Tester Connection Specified Condition
        3 - 5 10 kΩ or higher
        3 - 5 Below 1 Ω
        (When battery voltage is applied to terminal 1- 2)
        3 - 4 Below 1 Ω
        (When battery voltage is applied to terminal 1- 2)

    NG → REPLACE RELAY 

    OK: Go to next step 

  3. INSPECT HARNESS AND CONNECTOR (BATTERY - INSTRUMENT PANEL JUNCTION BLOCK ASSEMBLY) 
    1. Measure the voltage according to the value(s) in the table below.
      Fig 3: Identifying 1A Instrument Panel Junction Block Assembly Connector Terminals
      GTY206201Courtesy of © TOYOTA, LICENSE AGREEMENT TMS1002

      Standard voltage

      Tester Connection Condition Specified Condition
      IA-1 - Body ground Always 10 to 14 V

    NG → REPAIR OR REPLACE HARNESS OR CONNECTOR 

    OK: Go to next step 

  4. INSPECT INSTRUMENT PANEL JUNCTION BLOCK ASSEMBLY 
    1. Measure the voltage according to the value(s) in the table below.
      Fig 4: Identifying 1C and 1D Instrument Panel Junction Block Assembly Connector Terminals
      GTY178899Courtesy of © TOYOTA, LICENSE AGREEMENT TMS1002

      Standard voltage

      Tester Connection Condition Specified Condition
      IC-1 - Body ground Light control switch TAIL and Front fog light switch OFF → ON Below 1 V → 10 to 14 V
      ID-5 - Body ground Light control switch TAIL and Front fog light switch OFF → ON Below 1 V → 10 to 14 V

    NG → See step   5 

    OK → REPAIR OR REPLACE HARNESS OR CONNECTOR 

  5. INSPECT INSTRUMENT PANEL JUNCTION BLOCK ASSEMBLY 
    1. Measure the voltage according to the value(s) in the table below.
      Fig 5: Identifying 1L Instrument Panel Junction Block Assembly Connector Terminals
      GTY189244Courtesy of © TOYOTA, LICENSE AGREEMENT TMS1002

      Standard voltage

      Tester Connection Condition Specified Condition
      IL-3 - Body ground Light control switch OFF → TAIL Below 1 V → 10 to 14 V

    NG → PROCEED TO  PROBLEM SYMPTOMS TABLE  NEXT CIRCUIT INSPECTION SHOWN IN PROBLEM SYMPTOMS TABLE 

    OK: Go to next step 

  6. CHECK HARNESS AND CONNECTOR (INSTRUMENT JUNCTION BLOCK ASSEMBLY CIRCUIT) 
    1. Measure the voltage according to the value(s) in the table below.
      Fig 6: Identifying 1L Instrument Panel Junction Block Assembly Connector Terminals
      GTY189244Courtesy of © TOYOTA, LICENSE AGREEMENT TMS1002

      Standard voltage

      Tester Connection Condition Specified Condition
      IL-4 - Body ground Light control switch OFF → TAIL Below 1 V → 10 to 14 V

    NG → REPAIR OR REPLACE HARNESS OR CONNECTOR 

    OK: Go to next step 

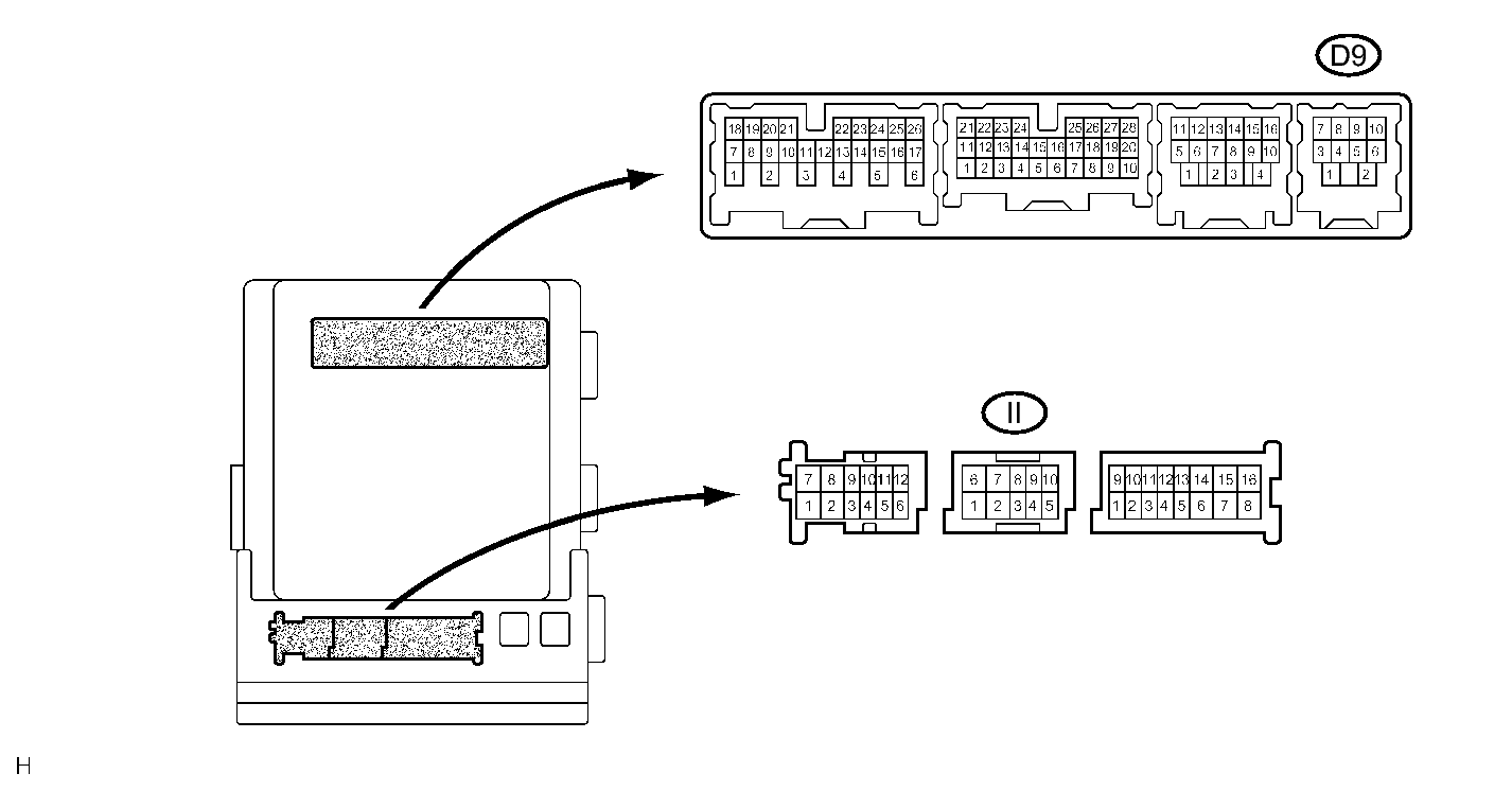
  7. CHECK HARNESS AND CONNECTOR (BODY ECU - INSTRUMENT PANEL JUNCTION BLOCK ASSEMBLY) 
    1. Disconnect the D9 connector of the multiplex network body ECU and the II connector of the instrument panel junction block assembly.
    2. Measure the resistance according to the value(s) in the table below.
      Fig 7: Identifying (D9) Body ECU and (11) Instrument Panel Junction Block Assembly Connector Terminals
      GTY206203Courtesy of © TOYOTA, LICENSE AGREEMENT TMS1002

      Standard resistance

      Tester Connection Condition Specified Condition
      D9-7 - II-8 Always Below 1 Ω

    NG → REPAIR OR REPLACE HARNESS OR CONNECTOR 

    OK → PROCEED TO  PROBLEM SYMPTOMS TABLE  NEXT CIRCUIT INSPECTION SHOWN IN PROBLEM SYMPTOMS TABLE