LEMON Manuals: Even more car manuals for everyone: 1960-2025
Home >> Toyota >> 2009 >> Matrix Base, Automatic >> Repair and Diagnosis >> External Pages >> Different car >> Section 73 (Lighting System (Diagnostic Codes & Circuit Tests)) >> Lighting System >> Circuit Tests >> Height Control Sensor Circuit >> Procedure
April 5, 2026: LEMON Manuals is launched! Read the announcement.

Height Control Sensor Circuit: Procedure

WARNING: This page is about a different car, the 2011 Toyota Avalon. However, it is still accessible from the selected car via links, so may be relevant.
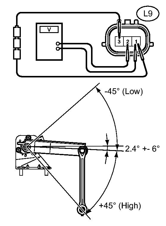
  1. INSPECT HEIGHT CONTROL SENSOR SUB-ASSEMBLY REAR RH 
    1. Connect 3 dry cell batteries (1.5 V) in series.
      Fig 1: Measuring Voltage of Height Control Sensor Sub-Assembly Connector Terminals
      GTY173657Courtesy of © TOYOTA, LICENSE AGREEMENT TMS1002
    2. Remove the height control sensor sub-assembly rear.
    3. Connect the positive (+) lead from the battery to terminal 3 and the negative (-) lead from the battery to terminal 1.
    4. Measure the voltage between terminals 2 and 1 while slowly moving the link up and down.

      Standard voltage

      Tester Connection Condition Specified Condition
      L9-2 (SHRR) - L9-1 (SHG) +45° (High) Approx. 4.5 V
      L9-2 (SHRR) - L9-1 (SHG) 0° (Normal) Approx. 2.5 V
      L9-2 (SHRR) - L9-1 (SHG) -45° (Low) Approx. 0.5 V

    NG → REPLACE HEIGHT CONTROL SENSOR SUB-ASSEMBLY REAR RH 

    OK: Go to next step 

  2. CHECK HARNESS AND CONNECTOR (HEIGHT CONTROL SENSOR - HEADLIGHT BEAM LEVEL CONTROL ECU) 
    1. Disconnect connector L9 of the height control sensor sub-assembly and connector A21 of the headlight beam level control ECU.
    2. Measure the resistance according to the value(s) in the table below.

      Standard resistance

      Tester Connection Condition Specified Condition
      A21-17 (SGR) - L9-1 (SHG) Always Below 1 Ω
      A21-19 (SHRL) - L9-2 (SHRR) Always Below 1 Ω
      A21-21 (SBR) - L9-3 (SHB) Always Below 1 Ω
      L9-3 (SHB) - Body ground Always 10 kΩ or higher
      L9-2 (SHRR) - Body ground Always 10 kΩ or higher
      L9-1 (SHG) - Body ground Always 10 kΩ or higher

    NG → REPAIR OR REPLACE HARNESS OR CONNECTOR 

    OK → PROCEED TO  PROBLEM SYMPTOMS TABLE  NEXT CIRCUIT INSPECTION SHOWN IN PROBLEM SYMPTOMS TABLE