LEMON Manuals: Even more car manuals for everyone: 1960-2025
Home >> Toyota >> 2009 >> Matrix Base, Automatic >> Repair and Diagnosis >> External Pages >> Different car >> Section 73 (Lighting System (Diagnostic Codes & Circuit Tests)) >> Lighting System >> Circuit Tests >> Ignition Switch Circuit >> Procedure
April 5, 2026: LEMON Manuals is launched! Read the announcement.

Ignition Switch Circuit: Procedure

WARNING: This page is about a different car, the 2011 Toyota Avalon. However, it is still accessible from the selected car via links, so may be relevant.
  1. READ VALUE USING TECHSTREAM 
    1. Connect the Techstream to the DLC3.
    2. Turn the ignition switch on (IG).
    3. Turn the Techstream on.
    4. Enter the following menus: Body Electrical / Body / Data List.
    5. Read the display on the Techstream.
      BODY (BODY ECU)

      Tester Display Measurement Item/Range Normal Condition Diagnostic Note
      ACC SW ACC SW signal / ON or OFF ON: Ignition switch on (IG or ACC)
      OFF: Ignition switch off
      -
      IG SW IG SW signal / ON or OFF ON: Ignition switch on (IG)
      OFF: Ignition switch off
      -

      OK

      Normal conditions listed above are displayed.

    NG → See step   2 

    OK → PROCEED TO  PROBLEM SYMPTOMS TABLE  NEXT CIRCUIT INSPECTION SHOWN IN PROBLEM SYMPTOMS TABLE 

  2. INSPECT RELAY 
    1. Inspect ACC relay continuity.
      Fig 1: Identifying ACC Relay Connector Terminals
      GTY123343Courtesy of © TOYOTA, LICENSE AGREEMENT TMS1002
      1. Remove the ACC relay from the instrument panel J/B.
      2. Measure the resistance according to the value(s) in the table below.

        Standard resistance

        Tester Connection Specified Condition
        3 - 5 10 kΩ or higher
        3 - 5 Below 1 Ω
        (When battery voltage is applied to terminal 1 - 2)
    2. Inspect IG1 relay continuity.
      Fig 2: Identifying IG1 Relay Connector Terminals
      GTY123343Courtesy of © TOYOTA, LICENSE AGREEMENT TMS1002
      1. Remove the IG1 relay from the instrument panel J/B.
      2. Measure the resistance according to the value(s) in the table below.

        Standard resistance

        Tester Connection Specified Condition
        3 - 5 10 kΩ or higher
        3 - 5 Below 1 Ω
        (When battery voltage is applied to terminal 1 - 2)

    NG → REPLACE RELAY 

    OK: Go to next step 

  3. CHECK HARNESS AND CONNECTOR (BATTERY - INSTRUMENT PANEL JUNCTION BLOCK ASSEMBLY) 
    1. Measure the voltage according to the value(s) in the table below.
      Fig 3: Identifying A1 Battery And Instrument Panel Junction Block Assembly Connector Terminals
      GTY301058Courtesy of © TOYOTA, LICENSE AGREEMENT TMS1002

      Standard voltage

      Tester Connection Condition Specified Condition
      IA-1 - Body ground Always 10 to 14 V

    NG → REPAIR OR REPLACE HARNESS OR CONNECTOR 

    OK: Go to next step 

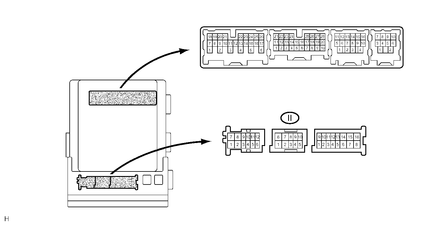
  4. INSPECT INSTRUMENT PANEL JUNCTION BLOCK ASSEMBLY 
    1. Measure the voltage according to the value(s) in the table below.
      Fig 4: Identifying Instrument Panel Junction Block Assembly Connector Terminals
      GTY173605Courtesy of © TOYOTA, LICENSE AGREEMENT TMS1002

      Standard voltage

      Tester Connection Condition Specified Condition
      II-4 - Body ground Always 10 to 14 V

    NG → REPLACE INSTRUMENT PANEL JUNCTION BLOCK ASSEMBLY 

    OK: Go to next step 

  5. CHECK HARNESS AND CONNECTOR (INSTRUMENT PANEL JUNCTION BLOCK ASSEMBLY - BODY GROUND) 
    1. Disconnect the connector IF from the instrument panel junction block assembly.
    2. Measure the resistance according to the value(s) in the table below.
      Fig 5: Identifying Instrument Panel Junction Block Assembly (Body Ground) Connector Terminals
      GTY206199Courtesy of © TOYOTA, LICENSE AGREEMENT TMS1002

      Standard resistance

      Tester Connection Condition Specified Condition
      IF-10 - Body ground Always Below 1 Ω

    NG → REPAIR OR REPLACE HARNESS OR CONNECTOR 

    OK: Go to next step 

  6. CHECK HARNESS AND CONNECTOR (IGNITION SWITCH CIRCUIT) 
    1. Inspect the harness and connectors related to ignition switch, referring to the wiring diagram.

    NG → REPAIR OR REPLACE HARNESS OR CONNECTOR 

    OK → PROCEED TO  PROBLEM SYMPTOMS TABLE  NEXT CIRCUIT INSPECTION SHOWN IN PROBLEM SYMPTOMS TABLE