LEMON Manuals: Even more car manuals for everyone: 1960-2025
Home >> Toyota >> 2009 >> Matrix Base, Automatic >> Repair and Diagnosis >> External Pages >> Different car >> Section 73 (Lighting System (Diagnostic Codes & Circuit Tests)) >> Lighting System >> Circuit Tests >> Turn Signal Light Circuit >> Procedure
April 5, 2026: LEMON Manuals is launched! Read the announcement.

Turn Signal Light Circuit: Procedure

WARNING: This page is about a different car, the 2011 Toyota Avalon. However, it is still accessible from the selected car via links, so may be relevant.
  1. PERFORM ACTIVE TEST USING TECHSTREAM 
    1. Connect the Techstream to the DLC3.
    2. Turn the ignition switch on (IG).
    3. Turn the Techstream on.
    4. Enter the following menus: Body Electrical / Body / Active Test.
    5. Check the operation.
      BODY (BODY ECU)

      Tester Display Test Part Control Range Diagnostic Note
      Turn Light RH Relay Operation RH side turn signal lights operation ON/OFF -
      Turn Light LH Relay Operation LH side turn signal lights operation ON/OFF -

      OK

      Turn signal lights flash.

    NG → See step   2 

    OK → PROCEED TO  PROBLEM SYMPTOMS TABLE  NEXT CIRCUIT INSPECTION SHOWN IN PROBLEM SYMPTOMS TABLE 

  2. CHECK HARNESS AND CONNECTOR (BATTERY - TURN SIGNAL FLASHER ASSEMBLY) 
    1. Disconnect the connector from the turn signal flasher.
      Fig 1: Identifying Turn Signal Flasher Connector Terminals
      GTY206765Courtesy of © TOYOTA, LICENSE AGREEMENT TMS1002
    2. Measure the voltage according to the value(s) in the table below.

      Standard voltage

      Tester Connection Condition Specified Condition
      B (D19-4) - Body ground Always 10 to 14 V

    NG → REPAIR OR REPLACE HARNESS OR CONNECTOR 

    OK: Go to next step 

  3. CHECK HARNESS AND CONNECTOR (IGNITION SWITCH CIRCUIT) 
    1. Measure the voltage according to the value(s) in the table below.
      Fig 2: Identifying Ignition Switch Circuit Connector Terminals
      GTY173312Courtesy of © TOYOTA, LICENSE AGREEMENT TMS1002

      Standard voltage

      Tester Connection Condition Specified Condition
      IG (D19-1) - Body ground Ignition switch on (IG) 10 to 14 V

    NG → REPAIR OR REPLACE HARNESS OR CONNECTOR 

    OK: Go to next step 

  4. CHECK HARNESS AND CONNECTOR (TURN SIGNAL FLASHER ASSEMBLY - BODY GROUND) 
    1. Measure the resistance according to the value(s) in the table below.
      Fig 3: Identifying Terminals Of Turn Signal Flasher Assembly Connector
      GTY206766Courtesy of © TOYOTA, LICENSE AGREEMENT TMS1002

      Standard resistance

      Tester Connection Condition Specified Condition
      E (D19-7)- Body ground Always Below 1 Ω

    NG → REPAIR OR REPLACE HARNESS OR CONNECTOR 

    OK: Go to next step 

  5. INSPECT TURN SIGNAL FLASHER ASSEMBLY 
    1. Inspect turn signal flasher assembly.

      OK

      Turn signal flasher assembly is normal.

    NG → REPLACE TURN SIGNAL FLASHER ASSEMBLY 

    OK: Go to next step 

  6. CHECK HARNESS AND CONNECTOR (TURN SIGNAL FLASHER ASSEMBLY - INSTRUMENT PANEL JUNCTION) 
    1. Disconnect the turn signal flasher connector.
      Fig 4: Identifying Turn Signal Flasher Assembly (Instrument Panel Junction) Connector Terminals
      GTY173311Courtesy of © TOYOTA, LICENSE AGREEMENT TMS1002
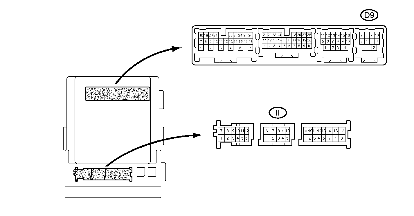
    2. Disconnect connectors II and D9 from the instrument panel J/B assembly.
    3. Measure the resistance according to the value(s) in the table below.
      Fig 5: Identifying Instrument Panel J/B Assembly Connector Terminals
      GTY206204Courtesy of © TOYOTA, LICENSE AGREEMENT TMS1002

      Standard resistance

      Tester Connection Condition Specified Condition
      EL (D19-5) - TRNL (D9-4) Always Below 1 Ω
      ER (D19-6) - TRNR (II-5) Always Below 1 Ω
      EL (D19-5) - Body ground Always 10 kΩ or higher
      ER (D19-6) - Body ground Always 10 kΩ or higher

    NG → REPAIR OR REPLACE HARNESS OR CONNECTOR 

    OK: Go to next step 

  7. INSPECT HARNESS AND CONNECTOR (EACH TURN SIGNAL LIGHT CIRCUIT) 
    1. Inspect the harness and connectors related to each turn signal light, referring to the wiring diagram.

    NG → REPAIR OR REPLACE HARNESS OR CONNECTOR 

    OK → PROCEED TO  PROBLEM SYMPTOMS TABLE  NEXT CIRCUIT INSPECTION SHOWN IN PROBLEM SYMPTOMS TABLE