LEMON Manuals: Even more car manuals for everyone: 1960-2025
Home >> Toyota >> 2009 >> Matrix Base, Automatic >> Repair and Diagnosis >> External Pages >> Different variant/trim >> Section 13 (Transfer Case MF1A/4WD/AWD) >> TRANSFER CASE FRONT OIL SEAL (for RH Side) >> Replacement
April 5, 2026: LEMON Manuals is launched! Read the announcement.

TRANSFER CASE FRONT OIL SEAL (for RH Side): Replacement

WARNING: This page is about a different variant/trim than selected.
  1. REMOVE FRONT EXHAUST PIPE ASSEMBLY 
    1. Remove the 4 bolts, 2 compression springs and front exhaust pipe assembly.
    2. Remove the 2 gaskets.
  2. DRAIN TRANSFER OIL 
    1. Remove the transfer drain plug and gasket to drain the transfer oil.
    2. Install a new gasket and the transfer drain plug.

      Torque: 49 N*m (500 kgf*cm, 36 ft.*lbf) 

  3. REMOVE FRONT DRIVE SHAFT ASSEMBLY RH 

    DP-8 for 2AZ-FE

    Fig 1: Locating Bolts, Compression Springs And Front Exhaust Pipe Assembly
    G06045843Courtesy of © TOYOTA, LICENSE AGREEMENT TMS1002
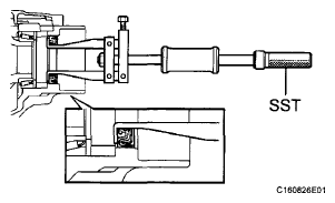
  4. REMOVE TRANSFER CASE FRONT OIL SEAL 
    1. Using SST, remove the transfer case front oil seal from the transfer case.

      SST 09308-00010 

      NOTE: Do not damage the oil seal contact surface on the case.
      Fig 2: Removing Transfer Case Front Oil Seal From Transfer Case
      G06045844Courtesy of © TOYOTA, LICENSE AGREEMENT TMS1002
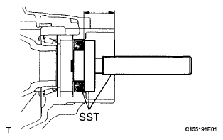
  5. INSTALL TRANSFER CASE FRONT OIL SEAL 
    1. Using SST, drive in a new transfer case front oil seal into the transfer case until it reaches the position shown in the illustration.

      SST 09950-60010 (09951 -00350, 09951 -00580, 09952-06010), 09950-70010 (09951-07150) 

      Drive in depth: 

      33.7 to 34.3 mm (1.3268 to 1.3504 in.) 

      NOTE: Do not tilt the oil seal during installation.
      Fig 3: Driving In Transfer Case Front Oil Seal Into Transfer Case
      G06025198Courtesy of © TOYOTA, LICENSE AGREEMENT TMS1002
    2. Apply a small amount of MP grease to the lip of the oil seal.
  6. INSTALL FRONT DRIVE SHAFT ASSEMBLY RH 

    DP-19 for 2AZ-FE

  7. ADD TRANSFER OIL 
  8. INSPECT TRANSFER OIL  (See ON-VEHICLE INSPECTION  )
  9. INSTALL FRONT EXHAUST PIPE ASSEMBLY 
    1. Using a vernier caliper, measure the free length of the compression springs.
      COMPRESSION SPRINGS FREE LENGTH REFERENCE CHART

      Minimum 41.5 mm (1.63 in.)

      HINT:

      If the free length is less than the minimum, replace the compression spring.

    2. Remove the remains on exhaust manifold converter with wire brush.
      Fig 4: Measuring Free Length Of Compression Springs
      G05239315Courtesy of © TOYOTA, LICENSE AGREEMENT TMS1002
    3. Fully insert a new gasket to the exhaust manifold.
      NOTE:
      • Be sure to install the gasket in the correct direction.
      • Do not reuse the gasket.
      • Do not damage the gasket.
        Fig 5: Identifying Exhaust Manifold Gasket
        G06009213Courtesy of © TOYOTA, LICENSE AGREEMENT TMS1002
    4. Install the front exhaust pipe assembly with the 4 bolts and 2 compression springs.

      Torque: 43 N*m (440 kgf*cm, 32 ft.*lbf) 

  10. INSPECT FOR EXHAUST GAS LEAK 
    Fig 6: Locating Front Exhaust Pipe Assembly Bolts And Compression Springs
    G06045843Courtesy of © TOYOTA, LICENSE AGREEMENT TMS1002