LEMON Manuals: Even more car manuals for everyone: 1960-2025
Home >> Toyota >> 2009 >> Matrix Base, Automatic >> Repair and Diagnosis >> External Pages >> Different variant/trim >> Section 8 (Engine Control System (2AZ-FE)) >> SFI System >> DTC P0500 Vehicle Speed Sensor "A" >> Inspection Procedure
April 5, 2026: LEMON Manuals is launched! Read the announcement.

Inspection Procedure

WARNING: This page is about a different variant/trim than selected.

HINT:

Read freeze frame data using the Techstream. The ECM records vehicle and driving condition information as freeze frame data the moment a DTC is stored. When troubleshooting, freeze frame data can be helpful in determining whether the vehicle was running or stopped, whether the engine was warmed up or not, whether the air fuel ratio was lean or rich, as well as other data recorded at the time of a malfunction.

  1. READ VALUE USING TECHSTREAM (VEHICLE SPEED) 
    1. Connect the Techstream to the DLC3.
    2. Turn the ignition switch to the ON position.
    3. Turn the Techstream on.
    4. Enter the following menus: Powertrain / Engine and ECT / Data List / Vehicle Speed.
    5. Drive the vehicle.
    6. Read the value displayed on the Techstream.

      OK: 

      Vehicle speeds displayed on the tester and speedometer display are equal  .

    NG: Go to step 2 

    OK: CHECK FOR INTERMITTENT PROBLEMS  (See CHECK FOR INTERMITTENT PROBLEMS )

  2. CHECK HARNESS AND CONNECTOR (ECM - COMBINATION METER) 
    1. Disconnect the ECM connector.
    2. Disconnect the combination meter connector.
    3. Measure the resistance according to the value (s) in the table below.

      Standard Resistance (Check for Open) 

      RESISTANCE REFERENCE

      Tester Connection Condition Specified Condition
      E55-36 (+S) - A37-8 (SPD) Always Below 1 Ω
    4. Reconnect the ECM connector.
    5. Reconnect the combination meter connector.

    NG: Go to step  4

    Fig 1: Identifying Combination Meter Connector Terminal
    G06040117Courtesy of © TOYOTA, LICENSE AGREEMENT TMS1002

    OK: Go to Next Step 

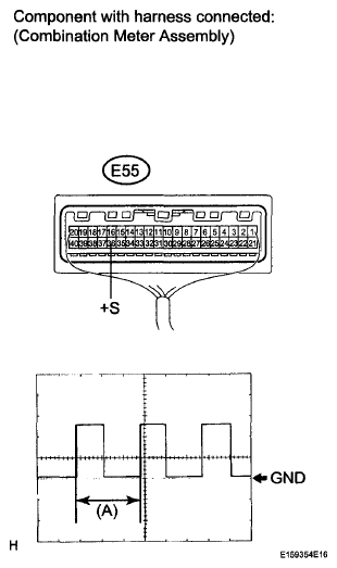
  3. CHECK COMBINATION METER ASSEMBLY (SPD SIGNAL WAVEFORM) 
    1. Check the output waveform.
    1. Remove the combination meter assembly with the connector (s) still connected.
    2. Connect an oscilloscope to terminals E46-36 (+S) and body ground.
    3. Turn the ignition switch to ON.
    4. Turn the wheel slowly.
    5. Check the signal waveform according to the condition (s) in the table below.
      ITEM CONDITION CHART

      Item Condition
      Tool setting 5 V/DIV., 20 ms/DIV.

      OK: 

      The waveform is displayed as shown in the illustration  .

      HINT:

      When the system is functioning normally, one wheel revolution generates 4 pulses. As the vehicle speed increases, the width indicated by (A) in the illustration narrows.

    NG: GO TO METER / GAUGE SYSTEM  (See SPEED SIGNAL CIRCUIT )

    Fig 2: Identifying Combination Meter Assembly
    G06040118Courtesy of © TOYOTA, LICENSE AGREEMENT TMS1002

    OK: REPLACE ECM  (See ECM )

  4. CHECK HARNESS AND CONNECTOR (ECM - DRIVER SIDE JUNCTION BLOCK) 
    1. Disconnect the ECM connector.
    2. Fig 3: Identifying Front View Of Wire Harness Connector
      G06040119Courtesy of © TOYOTA, LICENSE AGREEMENT TMS1002
    3. Disconnect the driver side junction block connector.
    4. Measure the resistance according to the value (s) in the table below.

      Standard Resistance (Check for Open) 

      RESISTANCE REFERENCE

      Tester Connection Condition Specified Condition
      2D-8 - A37-8 (SPD) Always Below 1 Ω
    5. Reconnect the ECM connector.
    6. Reconnect the driver side junction block connector.

NG: REPAIR OR REPLACE HARNESS OR CONNECTOR (ECM - DRIVER SIDE JUNCTION BLOCK) 

OK: REPAIR OR REPLACE HARNESS OR CONNECTOR (DRIVER SIDE JUNCTION BLOCK)