LEMON Manuals: Even more car manuals for everyone: 1960-2025
Home >> Toyota >> 2009 >> Matrix Base, Standard >> Repair and Diagnosis >> Engine Performance >> Engine Control System (2ZR-FE) >> SFI System >> DTC P0500 Vehicle Speed Sensor "A" >> Inspection Procedure
April 5, 2026: LEMON Manuals is launched! Read the announcement.

Inspection Procedure

HINT:

Read freeze frame data using the Techstream. The ECM records vehicle and driving condition information as freeze frame data the moment a DTC is stored. When troubleshooting, freeze frame data can be helpful in determining whether the vehicle was running or stopped, whether the engine was warmed up or not, whether the air fuel ratio was lean or rich, as well as other data recorded at the time of a malfunction.

  1. READ VALUE USING TECHSTREAM (VEHICLE SPEED) 
    1. Connect the Techstream to the DLC3.
    2. Turn the ignition switch to ON.
    3. Turn the Techstream on.
    4. Enter the following menus: Powertrain / Engine and ECT / Data List / Vehicle Speed.
    5. Drive the vehicle.
    6. Read the value displayed on the Techstream.

      OK: Vehicle speeds displayed on the Techstream and speedometer display are equal  .

      NG: Go to step 2 

      OK: CHECK FOR INTERMITTENT PROBLEMS  (See CHECK FOR INTERMITTENT PROBLEMS )

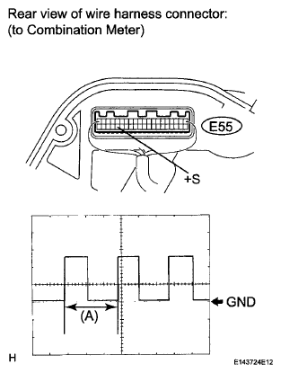
  2. INSPECT COMBINATION METER ASSEMBLY (OUTPUT WAVEFORM) 
    1. Check the output waveform.
      1. Remove the combination meter assembly with the connector(s) still connected.
      2. Connect an oscilloscope to terminals E55-36 (+S) and body ground.
      3. Turn the ignition switch to ON.
      4. Turn a wheel slowly.
      5. Check the signal waveform according to the condition(s) in the table below.
        WAVEFORM REFERENCE

        Item Condition
        Tool setting 5V/DIV., 20 ms/DIV.
        Vehicle condition Driving at approx. 20 km/h (12 mph)

        OK: The waveform is displayed as shown in the illustration  .

        HINT:

        When the system is functioning normally, one wheel revolution generates 4 pulses. As the vehicle speed increases, the width indicated by (A) in the illustration narrows.

        Fig 1: Inspecting Combination Meter Assembly (Output Waveform)
        G06040581Courtesy of © TOYOTA, LICENSE AGREEMENT TMS1002

        NG: GO TO METER / GAUGE SYSTEM  (See SPEED SIGNAL CIRCUIT )

        OK: Go to next step 

  3. CHECK HARNESS AND CONNECTOR (ECM - COMBINATION METER) 
    1. Disconnect the ECM connector.
    2. Disconnect the combination meter connector.
    3. Measure the resistance according to the value(s) in the table below.

      Standard Resistance (Check for Open) 

      TESTER CONNECTION SPECIFIED CONDITION CHART

      Tester Connection Condition Specified Condition
      E55-36 (+S) - A37-8 (SPD) Always Below 1 Ω
    4. Reconnect the ECM connector.
    5. Reconnect the combination meter connector.

      NG: REPAIR OR REPLACE HARNESS OR CONNECTOR 

      Fig 2: Identifying Combination Meter Connector And ECM Connector
      G06040117Courtesy of © TOYOTA, LICENSE AGREEMENT TMS1002

      OK: REPLACE ECM  (See REMOVAL )