LEMON Manuals: Even more car manuals for everyone: 1960-2025
Home >> Toyota >> 2009 >> Matrix Base, Standard >> Repair and Diagnosis >> External Pages >> Different car >> Section 53 (Smart Key System (Keyless Start) (Diagnostic Codes & Circuit Tests)) >> Smart Key System >> DTC B2273: Ignition 2 Monitor Malfunction >> Procedure
April 5, 2026: LEMON Manuals is launched! Read the announcement.

DTC B2273: Ignition 2 Monitor Malfunction: Procedure

WARNING: This page is about a different car, the 2011 Toyota Avalon. However, it is still accessible from the selected car via links, so may be relevant.
  1. READ VALUE USING TECHSTREAM 
    1. Connect Techstream to the DLC3.
    2. Turn the engine switch on (IG) and press Techstream main switch on.
    3. Read the Data List according to the displays on the tester.
      POWER SOURCE CONTROL:

      Tester Display Measurement Item/Range Normal Condition Diagnostic Note
      IG2 Relay Monitor (Outside) Status of IG2 relay monitor (outer) / ON or OFF ON: Engine switch ON (IG2 relay is ON)
      OFF: Engine switch OFF (IG2 relay is OFF)
      -

      OK

      "ON" (Engine switch on (IG)) appears on the screen.

      Result

      Condition Proceed to
      NG C
      OK (When troubleshooting according to the PROBLEM SYMPTOM TABLE) B
      OK (When troubleshooting according to the DTC chart) A

    B → PROCEED TO  PROBLEM SYMPTOMS TABLE  NEXT CIRCUIT INSPECTION SHOWN IN PROBLEM SYMPTOMS TABLE 

    C → See step   2 

    A → REPLACE POWER SOURCE CONTROL ECU 

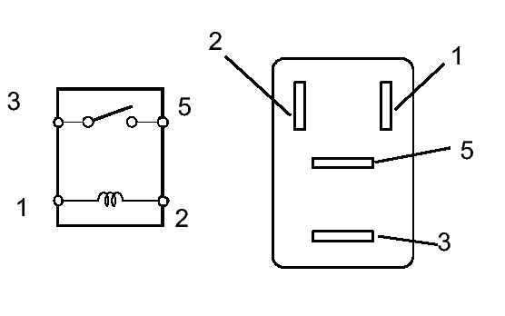
  2. INSPECT RELAY (Marking: IG2) 
    1. Remove the IG2 relay from the engine room R/B.
      Fig 1: Identifying IG2 Relay Connector Terminals
      GTY120667Courtesy of © TOYOTA, LICENSE AGREEMENT TMS1002
    2. Measure the resistance according to the value(s) in the table below.

      Resistance

      Tester Connection Specified Condition
      3 - 5 10 kΩ or higher
      3 - 5 Below 1 Ω (when battery voltage is applied to terminals 1 and 2)

    NG → REPLACE RELAY 

    OK: Go to next step 

  3. CHECK WIRE HARNESS (ENGINE ROOM R/B - POWER SOURCE CONTROL ECU AND BODY GROUND) 
    1. Remove the IG2 relay from the engine room J/B and R/B.
      Fig 2: Identifying IG2 Relay Connector Terminals
      GTY178676Courtesy of © TOYOTA, LICENSE AGREEMENT TMS1002
    2. Disconnect the D44 ECU connector.
      Fig 3: Identifying D44 ECU Connector Terminals
      GTY192343Courtesy of © TOYOTA, LICENSE AGREEMENT TMS1002
    3. Measure the resistance according to the value(s) in the table below.

      Resistance

      Terminal No. (Symbol) Specified Condition
      Engine Room R/B IG2 relay terminal 1 - D44-35 (IG2D) Below 1 Ω
      Engine Room R/B IG2 relay terminal 2 - Body ground Below 1 Ω
      D44-35 (IG2D) - Body ground 10 kΩ or higher

    NG → REPAIR OR REPLACE HARNESS OR CONNECTOR 

    OK → REPLACE POWER SOURCE CONTROL ECU