LEMON Manuals: Even more car manuals for everyone: 1960-2025
Home >> Toyota >> 2009 >> Matrix Base, Standard >> Repair and Diagnosis >> External Pages >> Different variant/trim >> Section 12 (Manual Transmission - E351) >> Manual Transaxle Unit >> Inspection
April 5, 2026: LEMON Manuals is launched! Read the announcement.

Manual Transaxle Unit: Inspection

WARNING: This page is about a different variant/trim than selected.
  1. INSPECT 5TH GEAR THRUST CLEARANCE 
    1. Using a dial indicator, inspect the 5th gear thrust clearance.

      Standard clearance: 0.10 to 0.65 mm (0.00394 to 0.0256 in.) 

      If the clearance is not as specified, replace the No. 3 transmission clutch hub, 5th gear, or input shaft rear radial ball bearing.

      Fig 1: Inspecting 5th Gear Thrust Clearance
      G04977289Courtesy of © TOYOTA, LICENSE AGREEMENT TMS1002
  2. INSPECT 5TH GEAR RADIAL CLEARANCE 
    1. Using a dial indicator, inspect the 5th gear radial clearance.

      Standard clearance: 0.009 to 0.050 mm (0.000354 to 0.00197 in.) 

      If the clearance is not as specified, replace the 5th gear, 5th gear needle roller bearing, or input shaft.

      Fig 2: Inspecting 5th Gear Radial Clearance
      G04977290Courtesy of © TOYOTA, LICENSE AGREEMENT TMS1002
  3. INSPECT REVERSE IDLER GEAR SUB-ASSEMBLY 
    1. Using a caliper gauge, measure the inside diameter of the reverse idler gear.

      Inside Diameter 

      INSIDE DIAMETER REFERENCE CHART

      Standard Inside Diameter mm (in.) Maximum Inside Diameter mm (in.)
      20.056 to 20.074 (0.7896 to 0.7903) 20.074 (0.7903)

      If the inside diameter exceeds the maximum, replace the reverse idler gear.

      Fig 3: Measuring Inside Diameter Of Reverse Idler Gear
      G04977291Courtesy of © TOYOTA, LICENSE AGREEMENT TMS1002
    2. Using a micrometer, measure the outside diameter of the reverse idler gear shaft.

      Outside Diameter 

      OUTSIDE DIAMETER REFERENCE CHART

      Standard Outside Diameter mm (in.) Minimum Outside Diameter mm (in.)
      19.984 to 20.000 (0.7868 to 0.7874) 19.984 (0.7868)

      If the outside diameter is less than the minimum, replace the reverse idler gear shaft.

      Fig 4: Measuring Outside Diameter Of Reverse Idler Gear Shaft
      G04977292Courtesy of © TOYOTA, LICENSE AGREEMENT TMS1002
  4. INSPECT NO. 3 TRANSMISSION CLUTCH HUB 
    1. Inspect the sliding condition between the No. 3 transmission clutch hub and the No. 3 transmission hub sleeve.
    2. Inspect the tip of the spline gear on the No. 3 transmission hub sleeve for wear.
      Fig 5: Inspecting No. 3 Transmission Clutch Hub
      G04977293Courtesy of © TOYOTA, LICENSE AGREEMENT TMS1002
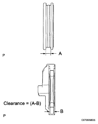
  5. INSPECT NO. 3 TRANSMISSION HUB SLEEVE 
    1. Using a vernier caliper, measure the width of the No. 3 transmission hub sleeve groove and the thickness of the claw on the No. 3 gear shift fork, and calculate the clearance.

      Standard clearance: 

      0.15 to 0.35 mm (0.00591 to 0.0138 in.) {A - B} 

      If the clearance is not as specified, replace the No. 3 transmission hub sleeve and No. 3 gear shift fork with new ones.

      Fig 6: Inspecting No. 3 Transmission Hub Sleeve
      G06045582Courtesy of © TOYOTA, LICENSE AGREEMENT TMS1002
  6. INSPECT 5TH GEAR 
    1. Using a caliper gauge, measure the inside diameter of the 5th gear.

      Inside Diameter 

      INSIDE DIAMETER REFERENCE CHART

      Standard Inside Diameter mm (in.) Maximum Inside Diameter mm (in.)
      34.981 to 34.997 (1.3772 to 1.3778) 34.997 (1.3778)

      If the inside diameter exceeds the maximum, replace the 5th gear.

      Fig 7: Measuring Inside Diameter Of 5Th Gear
      G04977295Courtesy of © TOYOTA, LICENSE AGREEMENT TMS1002
  7. INSPECT NO. 5 SYNCHRONIZER RING MIDDLE 
    1. Check that the No. 5 synchronizer ring middle rotates smoothly.
      Fig 8: Checking No. 5 Synchronizer Ring Middle Rotates Smoothly
      G04977296Courtesy of © TOYOTA, LICENSE AGREEMENT TMS1002
    2. Check that the No. 5 synchronizer ring middle does not rotate while pushing it against the No. 3 clutch hub.
      Fig 9: Checking No. 5 Synchronizer Ring Middle Does Not Rotate While Pushing It Against No. 3 Clutch Hub
      G05130409Courtesy of © TOYOTA, LICENSE AGREEMENT TMS1002