LEMON Manuals: Even more car manuals for everyone: 1960-2025
Home >> Toyota >> 2009 >> Matrix Base, Standard >> Repair and Diagnosis >> External Pages >> Different variant/trim >> Section 12 (Manual Transmission - E351) >> Manual Transaxle Unit >> Reassembly
April 5, 2026: LEMON Manuals is launched! Read the announcement.

Manual Transaxle Unit: Reassembly

WARNING: This page is about a different variant/trim than selected.
  1. INSTALL SYNCHRONIZER PULL RING 
    1. Install the No. 5 synchronizer ring middle, No. 5 synchronizer ring outer, and synchronizer pull ring to the No. 5 synchronizer ring inner. Using a screwdriver, secure them with the snap ring.
      Fig 1: Installing Synchronizer Pull Ring
      G04977298Courtesy of © TOYOTA, LICENSE AGREEMENT TMS1002
  2. INSTALL NO. 3 SYNCHROMESH SHIFTING KEY SPRING 
    1. Install the No. 3 synchromesh shifting key spring to the No. 3 transmission clutch hub.
      NOTE: Align the projection of the shifting key spring with the hole of the No. 3 clutch hub.
    2. Install the synchronizer ring set and No. 3 synchromesh shifting key spring to the No. 3 transmission clutch hub.
      Fig 2: Installing No. 3 Synchromesh Shifting Key Spring
      G04977299Courtesy of © TOYOTA, LICENSE AGREEMENT TMS1002
      NOTE:
      • Engage the shifting key spring claw to the center of the teeth of the synchronizer ring.
      • Align the projection of the shifting key spring with the hole of the No. 3 clutch hub.
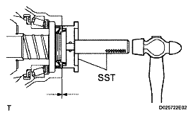
  3. INSTALL TRANSAXLE CASE OIL SEAL 
    1. Coat a new transaxle case oil seal lip with MP grease.
    2. Using SST and a hammer, install a transaxle case oil seal.

      SST 09608-10010, 09950-70010 (09951-07200) 

      Oil seal installation depth: 

      -0.5 to 0.5 mm (-0.0197 to 0.0197 in.) 

      Fig 3: Installing Transaxle Case Oil Seal
      G04977173Courtesy of © TOYOTA, LICENSE AGREEMENT TMS1002
  4. INSTALL FRONT DIFFERENTIAL CASE FRONT TAPERED ROLLER BEARING 
    1. Using SST and a hammer, install the front differential case front tapered roller bearing (outer race) to the manual transaxle case.

      SST 09950-60020 (09951-00910), 09950-70010 (09951-07100, 09951-07150) 

      Fig 4: Installing Front Differential Case Front Tapered Roller Bearing (Outer Race) To Manual Transaxle Case
      G04977301Courtesy of © TOYOTA, LICENSE AGREEMENT TMS1002
    2. Using SST and a press, install the front differential case front tapered roller bearing (inner race) to the front differential case.

      SST 09608-10010, 09950-70010 (09951-07100, 09951-07150) 

      Fig 5: Installing Front Differential Case Front Tapered Roller Bearing (Inner Race) To Front Differential Case
      G04977302Courtesy of © TOYOTA, LICENSE AGREEMENT TMS1002
  5. INSTALL FRONT DIFFERENTIAL CASE REAR TAPERED ROLLER BEARING 
    1. Install the front differential case rear shim.
    2. Using SST and a hammer, install the front differential case rear tapered roller bearing (outer race).

      SST 09950-60020 (09951-00890), 09950-70010 (09951-07100) 

      Fig 6: Installing Front Differential Case Rear Tapered Roller Bearing (Outer Race)
      G04977303Courtesy of © TOYOTA, LICENSE AGREEMENT TMS1002
    3. Using SST and a press, install the front differential case rear tapered roller bearing (inner race).

      SST 09631-12090, 09950-60010 (09951-00600), 09950-70010 (09951-07100) 

      Fig 7: Installing Front Differential Case Rear Tapered Roller Bearing (Inner Race)
      G04977304Courtesy of © TOYOTA, LICENSE AGREEMENT TMS1002
  6. INSTALL TRANSMISSION CASE OIL SEAL 
    1. Using SST and a hammer, install a transmission case oil seal to the manual transmission case.

      SST 09608-32010, 09950-70010 (09951-07150) 

      Oil seal installation depth: 

      3.0 to 4.0 mm (0.1181 to 0.1575 in.) 

    2. Coat the transmission case oil seal lip with MP grease.
      Fig 8: Installing Transmission Case Oil Seal To Manual Transmission Case
      G04977174Courtesy of © TOYOTA, LICENSE AGREEMENT TMS1002
  7. INSTALL OUTPUT SHAFT REAR BEARING 
    1. Using SST and a hammer, install the output shaft rear bearing (outer race) to the manual transmission case.

      SST 09950-60020 (09951-00680), 09950-70010 (09951-07100) 

      Clearance: 3.8 to 4.4 mm (0.150 to 0.173 in.) 

      Fig 9: Installing Output Shaft Rear Bearing (Outer Race) To Manual Transmission Case
      G04977306Courtesy of © TOYOTA, LICENSE AGREEMENT TMS1002
  8. INSTALL OUTPUT SHAFT COVER 
    1. Coat the output shaft cover with MP grease, and install it to the manual transaxle case.
      NOTE: Align the projection of the output shaft cover with the transmission groove.
      Fig 10: Identifying Output Shaft Cover
      G04977307Courtesy of © TOYOTA, LICENSE AGREEMENT TMS1002
  9. INSTALL OUTPUT SHAFT FRONT BEARING 
    1. Using SST and a hammer, install a new output shaft front bearing (outer race).

      SST 09950-60020 (09951-00730), 09950-70010 (09951-07100) 

      Fig 11: Installing Output Shaft Front Bearing (Outer Race)
      G05130422Courtesy of © TOYOTA, LICENSE AGREEMENT TMS1002
  10. ADJUST OUTPUT SHAFT BEARING PRELOAD 
    1. Install the output shaft to the manual transaxle case.
      Fig 12: Identifying Output Shaft
      G04977309Courtesy of © TOYOTA, LICENSE AGREEMENT TMS1002
    2. Install the transmission case to the manual transaxle case with the 14 bolts.

      Torque: 29 N*m (296 kgf*cm, 21 ft.*lbf) 

      Fig 13: Locating Transmission Case To Manual Transaxle Case Bolts
      G04977251Courtesy of © TOYOTA, LICENSE AGREEMENT TMS1002
    3. Install the 3 bolts to the manual transaxle case.

      Torque: 29 N*m (296 kgf*cm, 21 ft.*lbf) 

      Fig 14: Locating Manual Transaxle Case Bolts
      G04977250Courtesy of © TOYOTA, LICENSE AGREEMENT TMS1002
    4. Install the output shaft rear bearing case shim to the output shaft.
      Fig 15: Identifying Output Shaft Rear Bearing Case Shim
      G04977312Courtesy of © TOYOTA, LICENSE AGREEMENT TMS1002
    5. Using a "TORX" socket wrench (T45), install the rear bearing retainer to the manual transmission case with the 7 screws.

      Torque: 43 N*m (438 kgf*cm, 32 ft.*lbf) 

      Fig 16: Installing Rear Bearing Retainer To Manual Transmission Case Screws
      G04977313Courtesy of © TOYOTA, LICENSE AGREEMENT TMS1002
    6. Turn the output shaft in both directions to make sure that it starts to turn smoothly.
    7. Using a socket wrench and torque wrench, inspect the preload.

      Preload 

      PRELOAD REFERENCE CHART

      Bearing Preload: N*m (kgf*cm, in.*lbf)
      New 0.8 to 1.6 (8.16 to 16.32, 7.1 to 14.2)
      Used 0.5 to 1.0 (5.10 to 10.20, 4.4 to 8.9)
      Fig 17: Inspecting Output Shaft Preload
      G04977314Courtesy of © TOYOTA, LICENSE AGREEMENT TMS1002
    8. If preload is not as specified, select a proper output shaft rear bearing shim and adjust it.

      HINT:

      The preload of all the output shaft rear bearing shims varies in torque from about 0.04 to 0.06 N*m (0.408 to 0.612 kgf*cm, 0.35 to 0.53 in.*lbf).

      Shim 

      SHIM REFERENCE CHART

      Part No. Thickness: mm (in.) Mark
      90564-59001 1.30 (0.0512) 0
      90564-59002 1.35 (0.0531) 1
      90564-59003 1.40 (0.0551) 2
      90564-59004 1.45 (0.0571) 3
      90564-59005 1.50 (0.0591) 4
      90564-59006 1.55 (0.0610) 5
      90564-59007 1.60 (0.0630) 6
      90564-59008 1.65 (0.0650) 7
      90564-59009 1.70 (0.0669) 8
      90564-59010 1.75 (0.0689) 9
      90564-59011 1.80 (0.0709) A
      90564-59012 1.85 (0.0728) B
      90564-59013 1.90 (0.0748) C
      90564-59014 1.95 (0.0768) D
      90564-59015 2.00 (0.0787) E
      90564-59016 2.05 (0.0807) F
      90564-59017 2.10 (0.0827) G
      90564-59018 2.15 (0.0846) H
      90564-59019 2.20 (0.0866) J
      90564-59020 2.25 (0.0886) K
      90564-59021 2.30 (0.0906) L
      90564-59022 2.35 (0.0925) M
      90564-59023 2.40 (0.0945) N
      90564-59024 2.45 (0.0965) P
      90564-59025 2.50 (0.0984) Q
    9. Remove the output shaft rear set nut from the output shaft.
    10. Using a "TORX" socket wrench (T45), remove the 7 screws and rear bearing retainer from the manual transmission case.
      Fig 18: Removing Rear Bearing Retainer Screws
      G04977315Courtesy of © TOYOTA, LICENSE AGREEMENT TMS1002
    11. Remove the output shaft rear bearing shim from the output shaft.
      Fig 19: Identifying Output Shaft Rear Bearing Shim
      G04977312Courtesy of © TOYOTA, LICENSE AGREEMENT TMS1002
    12. Remove the 3 bolts.
      Fig 20: Locating Manual Transaxle Case Bolts
      G04977250Courtesy of © TOYOTA, LICENSE AGREEMENT TMS1002
    13. Remove the 14 bolts and manual transmission case from the manual transaxle case.
      Fig 21: Locating Manual Transmission Case Bolts
      G04977251Courtesy of © TOYOTA, LICENSE AGREEMENT TMS1002
    14. Remove the output shaft assembly from the front manual transaxle case.
      Fig 22: Identifying Output Shaft Assembly
      G04977309Courtesy of © TOYOTA, LICENSE AGREEMENT TMS1002
  11. ADJUST TAPERED ROLLER BEARING PRELOAD 
    1. Install the differential case assembly to the manual transaxle case.
      Fig 23: Identifying Differential Case Assembly
      G04977273Courtesy of © TOYOTA, LICENSE AGREEMENT TMS1002
    2. Install the 14 bolts and manual transmission case to the manual transaxle case.

      Torque: 29 N*m (296 kgf*cm, 21 ft.*lbf) 

      Fig 24: Locating Manual Transmission Case Bolts
      G04977251Courtesy of © TOYOTA, LICENSE AGREEMENT TMS1002
    3. Install the 3 bolts to the manual transaxle case.

      Torque: 29 N*m (296 kgf*cm, 21 ft.*lbf) 

    4. Using SST, turn the differential case in both directions to make sure that it starts to turn smoothly.

      SST 09564-32011 

      Fig 25: Locating Manual Transaxle Case Bolts
      G04977250Courtesy of © TOYOTA, LICENSE AGREEMENT TMS1002
    5. Using SST and a torque wrench, inspect preload.

      SST 09564-32011 

      Preload 

      PRELOAD REFERENCE CHART

      Bearing Preload: N*m (kgf*cm, in.*lbf)
      New 0.8 to 1.6 (8.16 to 16.32, 7.1 to 14.2)
      Used 0.5 to 1.0 (5.10 to 10.20, 4.4 to 8.9)

      If preload is not as specified, select a proper front differential case rear shim and adjust it.

      Fig 26: Inspecting Tapered Roller Bearing Preload
      G04977323Courtesy of © TOYOTA, LICENSE AGREEMENT TMS1002

      HINT:

      The preload of all the front differential case rear shims varies in torque from about 0.04 to 0.06 N*m (0.408 to 0.612 kgf*cm, 0.35 to 0.53 in.*lbf).

      Shim 

      SHIM REFERENCE CHART

      Part No. Thickness: mm (in.) Mark
      90564-56055 2.00 (0.0787) 0
      90564-56056 2.05 (0.0807) 1
      90564-56057 2.10 (0.0827) 2
      90564-56058 2.15 (0.0846) 3
      90564-56059 2.20 (0.0866) 4
      90564-56060 2.25 (0.0886) 5
      90564-56061 2.30 (0.0906) 6
      90564-56062 2.35 (0.0925) 7
      90564-56063 2.40 (0.0945) 8
      90564-56064 2.45 (0.0965) 9
      90564-56065 2.50 (0.0984) A
      90564-56066 2.55 (0.1004) B
      90564-56067 2.60 (0.1024) C
      90564-56068 2.65 (0.1043) D
      90564-56069 2.70 (0.1063) E
      90564-56070 2.75 (0.1083) F
      90564-56071 2.80 (0.1102) G
      90564-56072 2.85 (0.1122) H
    6. Remove the 3 bolts.
      Fig 27: Locating Manual Transaxle Case Bolts
      G04977250Courtesy of © TOYOTA, LICENSE AGREEMENT TMS1002
    7. Remove the 14 bolts and manual transmission case from the manual transaxle case.
      Fig 28: Locating Manual Transmission Case Bolts
      G04977251Courtesy of © TOYOTA, LICENSE AGREEMENT TMS1002
    8. Remove the differential case assembly from the manual transaxle case.
  12. INSTALL FRONT TRANSAXLE CASE COVER OIL SEAL 
    1. Coat the lip of a new front transaxle case cover oil seal with MP grease.
      Fig 29: Identifying Differential Case Assembly
      G04977273Courtesy of © TOYOTA, LICENSE AGREEMENT TMS1002
    2. Using SST and a hammer, install a new front transaxle case cover oil seal to the manual transaxle case.

      SST 09950-60010 (09951-00420), 09950-70010 (09951-07150) 

      Clearance: 

      1.0 to 2.0 mm (0.0394 to 0.0787 in.) 

  13. INSTALL INPUT SHAFT FRONT BEARING 
    1. Coat a new input shaft front bearing with gear oil.
      Fig 30: Installing Front Transaxle Case Cover Oil Seal To Manual Transaxle Case
      G04977327Courtesy of © TOYOTA, LICENSE AGREEMENT TMS1002
    2. Using SST and a hammer, install the oil seal to the manual transaxle case.

      SST 09950-60010 (09951-00570), 09950-70010 (09951-07150) 

      Clearance: 4.28 to 4.60 mm (0.169 to 0.181 in.) 

      Fig 31: Installing Oil Seal To Manual Transaxle Case
      G04977328Courtesy of © TOYOTA, LICENSE AGREEMENT TMS1002
  14. INSTALL MANUAL TRANSAXLE CASE RECEIVER 
    1. Install the manual transaxle case receiver to the manual transaxle case with the 3 bolts.

      Torque: 7.0 N*m (71 kgf*cm, 62 in.*lbf) 

      Fig 32: Locating Manual Transaxle Case Receiver Bolts
      G04977274Courtesy of © TOYOTA, LICENSE AGREEMENT TMS1002
  15. INSTALL DIFFERENTIAL CASE ASSEMBLY 
    1. Coat the differential case tapered roller bearing with gear oil, and install the differential case assembly to the manual transaxle case.
      Fig 33: Identifying Differential Case Assembly
      G04977273Courtesy of © TOYOTA, LICENSE AGREEMENT TMS1002
  16. INSTALL OUTPUT SHAFT ASSEMBLY 
    1. Apply gear oil to each sliding part of the output shaft assembly.
    2. Lift the differential case assembly with the output shaft assembly leaned, and install it to the manual transaxle case.
      Fig 34: Lifting Differential Case Assembly With Output Shaft Assembly Leaned
      G04977331Courtesy of © TOYOTA, LICENSE AGREEMENT TMS1002
  17. INSTALL INPUT SHAFT ASSEMBLY 
    1. Apply gear oil to each sliding part of the input shaft assembly.
    2. Install the input shaft assembly to the manual transaxle case while tilting the output shaft assembly.
      Fig 35: Tilting Output Shaft Assembly
      G04977271Courtesy of © TOYOTA, LICENSE AGREEMENT TMS1002
  18. INSTALL NO. 2 GEAR SHIFT FORK 
    1. Coat the No. 2 gear shift fork with gear oil, and install it to the input shaft assembly.
      Fig 36: Identifying No. 2 Gear Shift Fork
      G06013158Courtesy of © TOYOTA, LICENSE AGREEMENT TMS1002
  19. INSTALL NO. 3 GEAR SHIFT FORK 
    1. Install the No. 3 gear shift fork to the No. 3 gear shift fork shaft.
    2. Using a brass bar and a hammer, install the 2 shift fork shaft snap rings to the gear shift fork shaft.
      Fig 37: Installing Shift Fork Shaft Snap Rings To Gear Shift Fork Shaft
      G04977334Courtesy of © TOYOTA, LICENSE AGREEMENT TMS1002
    3. Apply gear oil to each sliding part of the No. 3 gear shift fork shaft, and install it to the manual transaxle case.
      Fig 38: Identifying No. 3 Gear Shift Fork Shaft
      G06013156Courtesy of © TOYOTA, LICENSE AGREEMENT TMS1002
  20. INSTALL NO. 1 GEAR SHIFT FORK 
    1. Apply gear oil to each sliding part of the No. 1 gear shift fork, and install it to the output shaft assembly.
      Fig 39: Identifying No. 1 Gear Shift Fork
      G06013155Courtesy of © TOYOTA, LICENSE AGREEMENT TMS1002
  21. INSTALL NO. 2 GEAR SHIFT FORK SHAFT 
    1. Install the No. 1 gear shift head to the No. 2 gear shift fork shaft.
    2. Apply gear oil to each sliding part of the No. 2 gear shift fork shaft, and install it to the manual transaxle case.
      Fig 40: Identifying No. 1 Gear Shift Head And No. 2 Gear Shift Fork Shaft
      G06013154Courtesy of © TOYOTA, LICENSE AGREEMENT TMS1002
    3. Install the shift fork set bolt and shift head set bolt to the No. 1 gear shift head.

      Torque: 24 N*m (245 kgf*cm, 18 ft.*lbf) 

      Fig 41: Locating Shift Fork Set Bolt And Shift Head Set Bolt
      G04977338Courtesy of © TOYOTA, LICENSE AGREEMENT TMS1002
  22. INSTALL REVERSE SHIFT FORK ROLLER 
    1. Using a magnetic pick-up tool, install the reverse shift fork roller to the reverse shift fork.
      Fig 42: Installing Reverse Shift Fork Roller To Reverse Shift Fork
      G04977264Courtesy of © TOYOTA, LICENSE AGREEMENT TMS1002
  23. INSTALL NO. 1 GEAR SHIFT FORK SHAFT 
    1. Using a brass bar and a hammer, install the shift fork shaft snap ring to the No. 1 gear shift fork shaft.
      Fig 43: Installing Shift Fork Shaft Snap Ring To No. 1 Gear Shift Fork Shaft
      G04977340Courtesy of © TOYOTA, LICENSE AGREEMENT TMS1002
    2. Install the No. 1 gear shift fork shaft to the manual transaxle case.
      Fig 44: Identifying No. 1 Gear Shift Fork Shaft
      G06013150Courtesy of © TOYOTA, LICENSE AGREEMENT TMS1002
    3. Install the shift fork set bolt to the No. 1 gear shift fork.

      Torque: 24 N*m (245 kgf*cm, 18 ft.*lbf) 

      Fig 45: Locating Shift Fork Set Bolt
      G04977261Courtesy of © TOYOTA, LICENSE AGREEMENT TMS1002
  24. INSTALL REVERSE SHIFT ARM BRACKET ASSEMBLY 
    1. Install the reverse shift arm bracket assembly to the manual transaxle case with the 2 bolts.

      Torque: 17 N*m (173 kgf*cm, 13 ft.*lbf) 

      Fig 46: Locating Reverse Shift Arm Bracket Assembly Bolts
      G04977260Courtesy of © TOYOTA, LICENSE AGREEMENT TMS1002
  25. INSTALL REVERSE IDLER GEAR SUB-ASSEMBLY 
    1. Coat the reverse idler gear and reverse idler thrust washer with MP grease, and install them to the reverse idler gear shaft.
      Fig 47: Identifying Reverse Idler Gear And Reverse Idler Thrust Washer
      G04977259Courtesy of © TOYOTA, LICENSE AGREEMENT TMS1002
    2. Install the reverse idler gear to the manual transaxle case.

      HINT:

      Align the mark of the reverse idler gear shaft with the hole of the bolt.

      Fig 48: Aligning Mark Of Reverse Idler Gear Shaft With Hole Of Bolt
      G04977345Courtesy of © TOYOTA, LICENSE AGREEMENT TMS1002
  26. INSTALL TRANSMISSION MAGNET 
    1. Clean the transmission magnet and install it to the manual transaxle case.
      Fig 49: Installing Transmission Magnet To Manual Transaxle Case
      G04977346Courtesy of © TOYOTA, LICENSE AGREEMENT TMS1002
  27. INSTALL NO. 1 OIL RECEIVER PIPE 
    1. Install the No. 1 oil receiver pipe to the manual transmission case with the bolt.

      Torque: 17 N*m (173 kgf*cm, 13 ft.*lbf) 

      NOTE: Do not damage the pipe.
      Fig 50: Locating No. 1 Oil Receiver Pipe Bolt
      G04977256Courtesy of © TOYOTA, LICENSE AGREEMENT TMS1002
  28. INSTALL NO. 2 OIL RECEIVER PIPE 
    1. Install the No. 2 oil receiver pipe to the manual transmission case with the bolt.

      Torque: 17 N*m (173 kgf*cm, 13 ft.*lbf) 

      NOTE: Do not damage the pipe.
      Fig 51: Locating No. 2 Oil Receiver Pipe Bolt
      G04977255Courtesy of © TOYOTA, LICENSE AGREEMENT TMS1002
  29. INSTALL REVERSE RESTRICT PIN ASSEMBLY 
    1. Install the transmission oil baffle and reverse restrict pin with the bolt.

      Torque: 17 N*m (173 kgf*cm, 13 ft.*lbf) 

      Fig 52: Locating Transmission Oil Baffle, Reverse Restrict Pin And Bolt
      G04977254Courtesy of © TOYOTA, LICENSE AGREEMENT TMS1002
    2. Using a pin punch ( 5 mm), install the slotted pin to the reverse restrict pin assembly.

      Clearance A: 

      12.5 to 13.5 mm (0.492 to 0.531 in.) 

      Fig 53: Installing Slotted Pin To Reverse Restrict Pin Assembly
      G06013238Courtesy of © TOYOTA, LICENSE AGREEMENT TMS1002
    3. Coat the reverse restrict pin plug with adhesive. Using a hexagon wrench (6 mm), install the manual transmission case.

      Torque: 13 N*m (133 kgf*cm, 10 ft.*lbf) 

      Adhesive: 

      Toyota Genuine Adhesive 1324, Three Bond 1324 or equivalent 

      Fig 54: Locating Reverse Restrict Pin Plug
      G04977252Courtesy of © TOYOTA, LICENSE AGREEMENT TMS1002
  30. INSTALL MANUAL TRANSMISSION CASE 
    1. Apply a bead of FIPG to the manual transmission case as shown in the illustration.

      FIPG: 

      Toyota Genuine Seal Packing 1281, Three Bond 1281 or equivalent 

      NOTE: Install the part within 10 minutes after applying packing material (FIPG).
      Fig 55: Applying Bead Of FIPG To Manual Transmission Case
      G04977352Courtesy of © TOYOTA, LICENSE AGREEMENT TMS1002
    2. Install the manual transmission case to the manual transaxle case with the 14 bolts.

      Torque: 29 N*m (296 kgf*cm, 21 ft.*lbf) 

      Fig 56: Locating Manual Transmission Case Bolts
      G04977251Courtesy of © TOYOTA, LICENSE AGREEMENT TMS1002
    3. Coat the 3 bolts with adhesive.

      Adhesive: 

      Toyota Genuine Adhesive 1324, Three Bond 1324 or equivalent 

    4. Install the 3 bolts to the manual transaxle case.

      Torque: 29 N*m (296 kgf*cm, 21 ft.*lbf) 

      Fig 57: Locating Manual Transaxle Case Bolts
      G04977250Courtesy of © TOYOTA, LICENSE AGREEMENT TMS1002
  31. INSTALL REVERSE IDLER GEAR SHAFT BOLT 
    1. Coat the bolt with adhesive. Install a new gasket to the manual transmission case with the bolt.

      Torque: 30 N*m (306 kgf*cm, 22 ft.*lbf) 

      Adhesive: 

      Toyota Genuine Adhesive 1344, Three Bond 1344 or equivalent 

      Fig 58: Locating Manual Transmission Case Bolt
      G04977249Courtesy of © TOYOTA, LICENSE AGREEMENT TMS1002
  32. INSTALL SHIFT FORK SHAFT SNAP RING 
    1. Using a brass bar and a hammer, install the shift fork shaft snap ring to the No. 1 gear shift fork shaft.
      Fig 59: Installing Shift Fork Shaft Snap Ring To No. 1 Gear Shift Fork Shaft
      G04977356Courtesy of © TOYOTA, LICENSE AGREEMENT TMS1002
    2. Using a brass bar and a hammer, install the shift fork shaft snap ring to the No. 2 gear shift fork shaft.
      Fig 60: Installing Shift Fork Shaft Snap Ring To No. 2 Gear Shift Fork Shaft
      G04977357Courtesy of © TOYOTA, LICENSE AGREEMENT TMS1002
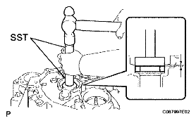
  33. INSTALL INPUT SHAFT REAR BEARING SHAFT SNAP RING 
    1. Using a snap ring expander, install the input shaft rear bearing shaft snap ring.
      Fig 61: Installing Input Shaft Rear Bearing Shaft Snap Ring
      G04977358Courtesy of © TOYOTA, LICENSE AGREEMENT TMS1002
  34. INSTALL OUTPUT SHAFT REAR BEARING SHIM 
    1. Install the output shaft rear bearing shim to the output shaft.
      Fig 62: Identifying Output Shaft Rear Bearing Shim
      G04977245Courtesy of © TOYOTA, LICENSE AGREEMENT TMS1002
  35. INSTALL REAR BEARING RETAINER 
    1. Coat the 7 screws with adhesive.

      Adhesive: 

      Toyota Genuine Adhesive 1344, Three Bond 1344 or equivalent 

    2. Using a "TORX" socket wrench (T45), install the rear bearing retainer to the manual transmission case with the 7 screws.

      Torque: 43 N*m (438 kgf*cm, 32 ft.*lbf) 

      Fig 63: Installing Rear Bearing Retainer Screws
      G04977360Courtesy of © TOYOTA, LICENSE AGREEMENT TMS1002
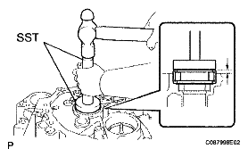
  36. INSTALL 5TH DRIVEN GEAR 
    1. Using SST, install the 5th driven gear to the output shaft.

      SST 09309-12020 

      Fig 64: Installing 5th Driven Gear To Output Shaft
      G04977361Courtesy of © TOYOTA, LICENSE AGREEMENT TMS1002
  37. INSTALL 5TH GEAR NEEDLE ROLLER BEARING 
    1. Coat the 5th gear needle roller bearing with gear oil and install it to the input shaft.
      Fig 65: Identifying 5th Gear Needle Roller Bearing
      G04977242Courtesy of © TOYOTA, LICENSE AGREEMENT TMS1002
  38. INSTALL 5TH GEAR 
    1. Coat the 5th gear with gear oil and install it to the input shaft.
      Fig 66: Identifying 5th Gear
      G04977241Courtesy of © TOYOTA, LICENSE AGREEMENT TMS1002
  39. INSTALL NO. 3 TRANSMISSION CLUTCH HUB 
    1. Using SST, install the No. 3 transmission clutch hub to the input shaft.

      SST 09950-30012 (09951-03010, 09953-03010, 09954-03010) 

      NOTE: Align the projection of the synchronizer ring with the hole of the 5th gear.
      Fig 67: Installing No. 3 Transmission Clutch Hub To Input Shaft
      G04977364Courtesy of © TOYOTA, LICENSE AGREEMENT TMS1002
    2. Install the No. 3 transmission hub sleeve and No. 3 gear shift fork to the No. 3 transmission clutch hub.
      Fig 68: Identifying No. 3 Transmission Hub Sleeve And No. 3 Gear Shift Fork
      G04977365Courtesy of © TOYOTA, LICENSE AGREEMENT TMS1002
    3. Coat the shift fork set bolt with adhesive and install it to the No. 3 gear shift fork.

      Torque: 24 N*m (245 kgf*cm, 18 ft.*lbf) 

      Adhesive: 

      Toyota Genuine Adhesive 1344, Three Bond 1344 or equivalent 

      Fig 69: Locating Shift Fork Set Bolt
      G04977366Courtesy of © TOYOTA, LICENSE AGREEMENT TMS1002
    4. Select a snap ring that will allow minimum axial play. Using a brass bar and a hammer, install the shaft snap ring.

      Clearance: 

      0.1 mm (0.00394 in.) or less 

      Snap Ring 

      Fig 70: Installing Shaft Snap Ring
      G04977367Courtesy of © TOYOTA, LICENSE AGREEMENT TMS1002
      SNAP RING REFERENCE CHART

      Part No. Thickness: mm (in.) Mark
      90520-27061 1.75 to 1.80 (0.0689 to 0.0709) a
      90520-27062 1.80 to 1.85 (0.0709 to 0.0728) b
      90520-27063 1.85 to 1.90 (0.0728 to 0.0748) c
      90520-27064 1.90 to 1.95 (0.0748 to 0.0768) d
      90520-27065 1.95 to 2.00 (0.0768 to 0.0787) e
      90520-27066 2.00 to 2.05 (0.0787 to 0.0807) f
      90520-27067 2.05 to 2.10 (0.0807 to 0.0827) g
      90520-27068 2.10 to 2.15 (0.0827 to 0.0846) h
      90520-27069 2.15 to 2.20 (0.0846 to 0.0866) j
  40. INSTALL MANUAL TRANSMISSION OUTPUT SHAFT REAR SET NUT 
    1. Engage the 1st and 2nd gears simultaneously.
      Fig 71: Engaging 1st And 2nd Gears Simultaneously
      G06013123Courtesy of © TOYOTA, LICENSE AGREEMENT TMS1002
    2. Install a new manual transmission output shaft rear set nut.

      Torque: 123 N*m (1254 kgf*cm, 90 ft.*lbf) 

      Fig 72: Installing Manual Transmission Output Shaft Rear Set Nut
      G04977369Courtesy of © TOYOTA, LICENSE AGREEMENT TMS1002
    3. Using a chisel and a hammer, stake the manual transmission output shaft rear set nut.
    4. Disengage the gears.
      Fig 73: Staking Manual Transmission Output Shaft Rear Set Nut
      G05130483Courtesy of © TOYOTA, LICENSE AGREEMENT TMS1002
  41. INSTALL MANUAL TRANSMISSION CASE COVER SUB-ASSEMBLY 
    1. Apply FIPG to the manual transmission case cover sub-assembly as shown in the installation.

      FIPG: 

      Toyota Genuine Seal Packing 1281, Three Bond 1281 or equivalent 

      NOTE: Install the part within 10 minutes after applying packing material (FIPG).
      Fig 74: Applying FIPG To Manual Transmission Case Cover Sub-Assembly
      G04977371Courtesy of © TOYOTA, LICENSE AGREEMENT TMS1002
    2. Install the manual transmission case cover sub-assembly to the manual transaxle case with the 10 bolts.

      Torque: 29 N*m (296 kgf*cm, 21 ft.*lbf) 

      Fig 75: Locating Manual Transmission Case Cover Sub-Assembly Bolts
      G04977234Courtesy of © TOYOTA, LICENSE AGREEMENT TMS1002
  42. INSTALL DRAIN PLUG SUB-ASSEMBLY 
    1. Install the drain plug sub-assembly to the manual transmission case with a new gasket.

      Torque: 49 N*m (500 kgf*cm, 36 ft.*lbf) 

      Fig 76: Locating Drain Plug Sub-Assembly
      G04977233Courtesy of © TOYOTA, LICENSE AGREEMENT TMS1002
  43. INSTALL MANUAL TRANSMISSION FILLER PLUG 
    1. Install the manual transmission filler plug to the transaxle case with a new gasket.

      Torque: 49 N*m (500 kgf*cm, 36 ft.*lbf) 

      Fig 77: Locating Manual Transmission Filler Plug
      G06013120Courtesy of © TOYOTA, LICENSE AGREEMENT TMS1002
  44. INSTALL SHIFT AND SELECT LEVER SHAFT ASSEMBLY 
    1. Coat the shift and select lever shaft assembly with gear oil, and install it to the manual transmission case.
      Fig 78: Identifying Shift And Select Lever Shaft Assembly
      G06013118Courtesy of © TOYOTA, LICENSE AGREEMENT TMS1002
  45. INSTALL BACK-UP LIGHT SWITCH ASSEMBLY 
    1. Install the back-up light switch assembly to the manual transmission case with a new gasket.

      Torque: 40 N*m (408 kgf*cm, 30 ft.*lbf) 

      Fig 79: Locating Back-Up Light Switch Assembly To Manual Transmission Case
      G06013119Courtesy of © TOYOTA, LICENSE AGREEMENT TMS1002
  46. INSTALL MANUAL TRANSMISSION BREATHER PLUG 
    1. Install the manual transmission breather plug to the manual transmission case.
      Fig 80: Locating Manual Transmission Breather Plug
      G04977229Courtesy of © TOYOTA, LICENSE AGREEMENT TMS1002
  47. INSTALL SHIFT GATE PIN 
    1. Install the shift gate pin to the manual transmission case.

      Torque: 29 N*m (296 kgf*cm, 21 ft.*lbf) 

      Fig 81: Locating Shift Gate Pin
      G04977228Courtesy of © TOYOTA, LICENSE AGREEMENT TMS1002
  48. INSTALL NO. 1 LOCK BALL ASSEMBLY 
    1. Install the No. 1 lock ball assembly to the manual transmission case.

      Torque: 29 N*m (296 kgf*cm, 21 ft.*lbf) 

      Fig 82: Locating No. 1 Lock Ball Assembly
      G04977227Courtesy of © TOYOTA, LICENSE AGREEMENT TMS1002
  49. INSTALL NO. 2 CLUTCH TUBE BRACKET 
    1. Install the No. 2 clutch tube bracket with the bolt.

      Torque: 15 N*m (153 kgf*cm, 11 ft.*lbf) 

      Fig 83: Locating No. 2 Clutch Tube Bracket Bolt
      G06013112Courtesy of © TOYOTA, LICENSE AGREEMENT TMS1002
  50. INSTALL CONTROL SHAFT COVER 
    1. Coat the 4 bolts with adhesive. Install a new gasket and the control shaft cover with the bolts.

      Torque: 20 N*m (204 kgf*cm, 15 ft.*lbf) 

      Adhesive: 

      Toyota Genuine Adhesive 1344, Three Bond 1344 or equivalent 

      Fig 84: Locating Control Shaft Cover Bolts
      G06013117Courtesy of © TOYOTA, LICENSE AGREEMENT TMS1002
  51. INSTALL CONTROL SHIFT LEVER 
    1. Install the control shift lever with the shift outer lever lock pin to the shift and select lever shaft.
    2. Install the spring washer with the nut.

      Torque: 12 N*m (120 kgf*cm, 9 ft.*lbf) 

      Fig 85: Locating Control Shift Lever
      G04977223Courtesy of © TOYOTA, LICENSE AGREEMENT TMS1002
  52. INSTALL SELECTING BELLCRANK ASSEMBLY 
    1. Coat the 2 bolts with adhesive. Install the selecting bellcrank assembly to the manual transmission case with the bolts.

      Torque: 20 N*m (204 kgf*cm, 15 ft.*lbf) 

      Adhesive: 

      Toyota Genuine Adhesive 1344, Three Bond 1344 or equivalent 

      Fig 86: Locating Selecting Bellcrank Assembly Bolts
      G04977222Courtesy of © TOYOTA, LICENSE AGREEMENT TMS1002
  53. INSTALL CONTROL CABLE BRACKET 
    1. Install the control cable bracket to the manual transaxle case with the 3 bolts.

      Torque: 17 N*m (173 kgf*cm, 12 ft.*lbf) 

  54. INSTALL SPEEDOMETER DRIVEN HOLE COVER SUB-ASSEMBLY 
    1. Install a new O-ring and the speedometer driven hole cover sub-assembly to the transmission case with the bolt.

      Torque: 5.5 N*m (56 kgf*cm, 49 in.*lbf) 

      Fig 87: Locating Control Cable Bracket Bolts
      G06013108Courtesy of © TOYOTA, LICENSE AGREEMENT TMS1002
  55. INSTALL CLUTCH RELEASE FORK BOOT 
    1. Install the clutch release fork boot to the manual transaxle case.
  56. INSTALL RELEASE FORK SUPPORT 
    1. Using a deep socket wrench, install the release fork support to the manual transaxle case.

      Torque: 47 N*m (480 kgf*cm, 36 ft.*lbf) 

  57. INSTALL CLUTCH RELEASE BEARING ASSEMBLY 
    1. Coat the clutch release bearing assembly with release hub grease, and install it to the clutch release fork sub-assembly.

      Sealant: 

      Toyota Genuine Release Hub Grease or equivalent 

    2. Apply clutch spline grease to the input shaft spline.
      Fig 88: Locating Release Fork Support
      G04977161Courtesy of © TOYOTA, LICENSE AGREEMENT TMS1002
  58. INSTALL CLUTCH RELEASE FORK SUB-ASSEMBLY 
    1. Install the clutch release fork sub-assembly to the input shaft.
      Fig 89: Installing Clutch Release Fork Sub-Assembly To Input Shaft
      G04977150Courtesy of © TOYOTA, LICENSE AGREEMENT TMS1002