LEMON Manuals: Even more car manuals for everyone: 1960-2025
Home >> Toyota >> 2009 >> Matrix Base, Standard >> Repair and Diagnosis >> External Pages >> Different variant/trim >> Section 5 (Charging System (2AZ-FE)) >> Generator >> Reassembly
April 5, 2026: LEMON Manuals is launched! Read the announcement.

Section 5 (Charging System (2AZ-FE)): Generator: Reassembly

WARNING: This page is about a different variant/trim than selected.
  1. INSTALL GENERATOR DRIVE END FRAME BEARING 
    1. Using SST and a press, press in a new generator drive end frame bearing.

      SST 09950-60010 (09951 -00250), 09950-70010 (09951-07100) 

      Fig 1: Pressing Generator Drive End Frame Bearing
      G05134838Courtesy of © TOYOTA, LICENSE AGREEMENT TMS1002
    2. Fit the tabs on the bearing retainer plate into the cutouts on the generator drive end frame to install the generator retainer plate.
    3. Install the 4 screws.

      Torque: 2.3 N*m (23 kgf*cm, 20 in.*lbf) 

  2. INSTALL GENERATOR ROTOR ASSEMBLY 
    1. Place the drive end frame on the clutch pulley.
      Fig 2: Fitting Tabs On Bearing Retainer Plate Into Cutouts
      G04975747Courtesy of © TOYOTA, LICENSE AGREEMENT TMS1002
    2. Install the generator rotor onto the generator drive end frame.
      Fig 3: Locating Generator Rotor Assembly
      G04975736Courtesy of © TOYOTA, LICENSE AGREEMENT TMS1002
    3. Place a new generator washer on the generator rotor.
      Fig 4: Identifying Generator Washer
      G06036043Courtesy of © TOYOTA, LICENSE AGREEMENT TMS1002
  3. INSTALL GENERATOR COIL ASSEMBLY 
    1. Using SST and a press, slowly press in the generator coil assembly to the drive end frame.

      SST 09612-70100 (09612-07240) 

      Fig 5: Pressing Generator Coil Assembly To Drive End Frame
      G05134842Courtesy of © TOYOTA, LICENSE AGREEMENT TMS1002
    2. Tighten the 4 bolts.

      Torque: 5.8 N*m (59 kgf*cm, 51 in.*lbf) 

      Fig 6: Locating Generator Coil Assembly Bolts
      G04975732Courtesy of © TOYOTA, LICENSE AGREEMENT TMS1002
    3. Install the cord clip with the bolt.

      Torque: 4.6 N*m (47 kgf*cm, 41 in.*lbf) 

      Fig 7: Locating Cord Clip Bolt
      G04975733Courtesy of © TOYOTA, LICENSE AGREEMENT TMS1002
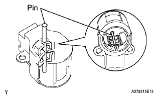
  4. INSTALL GENERATOR BRUSH HOLDER ASSEMBLY 
    1. While pushing the 2 brushes into the generator brush holder assembly, insert a 1.0 mm (0.039 in.) pin into the generator brush holder hole.
      Fig 8: Identifying Pin Into Generator Brush Holder Hole
      G06036047Courtesy of © TOYOTA, LICENSE AGREEMENT TMS1002
    2. Install the generator brush holder assembly to the generator coil with the 2 screws.

      Torque: 1.8 N*m (18 kgf*cm, 16 in.*lbf) 

      Fig 9: Locating Generator Brush Holder Assembly Screws
      G04975754Courtesy of © TOYOTA, LICENSE AGREEMENT TMS1002
    3. Pull the pin out of the generator brush holder.
      Fig 10: Pulling Pin Out Of Generator Brush Holder
      G04975755Courtesy of © TOYOTA, LICENSE AGREEMENT TMS1002
  5. INSTALL GENERATOR TERMINAL INSULATOR 
    1. Install the terminal insulator to the generator coil.
      NOTE: Be careful to the installation direction of the terminal insulator as shown in the illustration.
      Fig 11: Installing Terminal Insulator To Generator Coil
      G04975756Courtesy of © TOYOTA, LICENSE AGREEMENT TMS1002
  6. INSTALL GENERATOR REAR END COVER 
    1. Install the generator rear end cover to the generator coil with the 3 nuts.

      Torque: 4.6 N*m (47 kgf*cm, 41 in.*lbf) 

  7. INSTALL GENERATOR CLUTCH PULLEY 
    1. Temporarily install the clutch pulley onto the rotor shaft.
      Fig 12: Locating Generator Rear End Cover Nuts
      G04975729Courtesy of © TOYOTA, LICENSE AGREEMENT TMS1002
    2. Set SST (A) and (B).

      SST 09820-63021 

      Fig 13: Setting SST
      G04975758Courtesy of © TOYOTA, LICENSE AGREEMENT TMS1002
    3. Clamp SST (A) in a vise.
    4. Place the rotor shaft end into SST (A).
      Fig 14: Placing Rotor Shaft End Into SST
      G04975725Courtesy of © TOYOTA, LICENSE AGREEMENT TMS1002
    5. Fit SST (B) to the clutch pulley.
      Fig 15: Fitting SST To Clutch Pulley
      G06036054Courtesy of © TOYOTA, LICENSE AGREEMENT TMS1002
    6. Tighten the pulley by turning SST (B) in the direction shown in the illustration.

      Torque: without SST 

      111 N*m (1125 kgf*cm, 82 ft.*lbf) 

      with SST 

      84 N*m (857 kgf*cm, 62 ft.*lbf) 

      NOTE:
      • The "with SST" torque value is effective when using SST with a fulcrum length of 100 mm (3.94 in.).
      • Use a torque wrench with a fulcrum length of 318 mm (12.52 in.).
      • This torque value is effective when SST is parallel to the torque wrench.
        Fig 16: Tightening Pulley By SST
        G06036055Courtesy of © TOYOTA, LICENSE AGREEMENT TMS1002
    7. Remove the generator assembly from SST.
    8. Check that the clutch pulley rotates smoothly.
    9. Install a new clutch pulley cap to the clutch pulley.