LEMON Manuals: Even more car manuals for everyone: 1960-2025
Home >> Toyota >> 2009 >> Matrix FWD L4-1.8L (2ZR-FE) >> Repair and Diagnosis >> Specifications >> Mechanical Specifications >> Engine >> Cylinder Head Assembly >> System Specifications
April 5, 2026: LEMON Manuals is launched! Read the announcement.

System Specifications

CYLINDER HEAD SUB-ASSEMBLY






Using several steps, uniformly install and tighten the 10 cylinder head bolts and 10 plate washers with a 10 mm bi-hexagon wrench in the order shown in the illustration.
Torque 49 Nm (500 kgf-cm, 36 ft-lbf)





Mark the front side of the cylinder head bolts with paint.
Retighten the cylinder head bolts an additional 90°, then once more 45° as shown in the illustration.
Check that the paint mark is now at a 135° angle to the front.

CYLINDER HEAD SURFACE VARIATION





CYLINDER HEAD SET BOLT






INTAKE MANIFOLD






Install the intake manifold and intake manifold stay with the 4 bolts and 2 nuts.
Torque 28 Nm (286 kgf-cm, 21 ft-lbf)

CAMSHAFT BEARING CAP





Tighten the 10 bolts in the order shown in the illustration.
Torque 16 Nm (163 kgf-cm, 12 ft-lbf)

CAMSHAFT HOUSING SUB-ASSEMBLY





Set the camshaft and No. 2 camshaft as shown in the illustration.
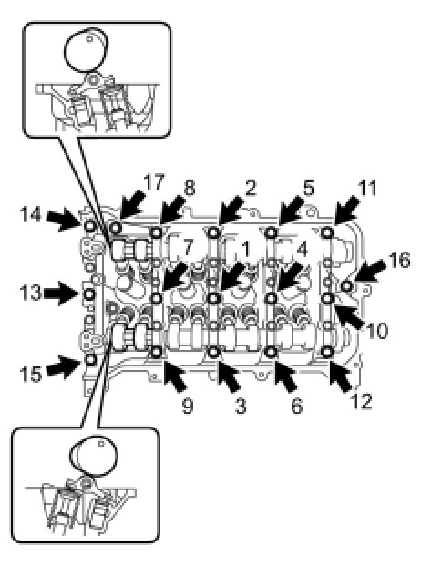
Install the camshaft housing and tighten the 17 bolts in the order shown in the illustration.
Torque 27 Nm (275 kgf-cm, 20 ft-lbf)

NOTICE:
- After installing the camshaft housing, make sure that the cam lobes are positioned as shown in the illustration.
- If any of the bolts are loosened during installation, remove the camshaft housing, clean the installation surfaces, and reapply seal packing.
- If the camshaft housing is removed because any of the bolts are loosened during installation, make sure that the previously applied seal packing does not enter any oil passages.
- After installing the camshaft housing, wipe off any seal packing that seeped out from between the housing and the cylinder head.

CAMSHAFT TIMING GEAR

Torque 54 Nm (551 kgf-cm, 40 ft-lbf)


EXHAUST MANIFOLD





Install the exhaust manifold with the 5 nuts.
Torque 21 Nm (214 kgf-cm, 16 ft-lbf)