LEMON Manuals: Even more car manuals for everyone: 1960-2025
Home >> Toyota >> 2009 >> Matrix S, FWD, Automatic >> Repair and Diagnosis >> External Pages >> Different variant/trim >> Section 4 (Engine Control System (2ZR-FE)) >> Ignition System >> System Diagram
April 5, 2026: LEMON Manuals is launched! Read the announcement.

System Diagram

WARNING: This page is about a different variant/trim than selected.
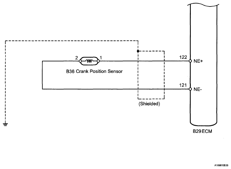
Fig 1: Ignition System - System Diagram (1 Of 2)
G06040269Courtesy of © TOYOTA, LICENSE AGREEMENT TMS1002
Fig 2: Ignition System - System Diagram (2 Of 2)
G06040748Courtesy of © TOYOTA, LICENSE AGREEMENT TMS1002