LEMON Manuals: Even more car manuals for everyone: 1960-2025
Home >> Toyota >> 2009 >> Matrix S, FWD, Standard >> Repair and Diagnosis >> Brakes >> Traction Control >> Brake Control/Dynamic Control System >> Vehicle Stability Control System >> DTC Check / Clear
April 5, 2026: LEMON Manuals is launched! Read the announcement.

DTC Check / Clear

  1. DTC CHECK/CLEAR (When Using the Techstream) 
    1. Check for DTCs.
      1. Connect the Techstream to the DLC3.
      2. Turn the ignition switch to ON.
      3. Turn the Techstream on.
      4. Read the DTCs following the prompts on the Techstream screen. Enter the following menus: Chassis / ABS/VSC/TRAC / Trouble Codes.
      5. Check the details of the DTCs (See DIAGNOSTIC TROUBLE CODE CHART  ).
        Fig 1: Checking Connector Vibration
        G05389425Courtesy of © TOYOTA, LICENSE AGREEMENT TMS1002
    2. Clear the DTCs.
      1. Connect the Techstream to the DLC3.
      2. Turn the ignition switch to ON.
      3. Turn the Techstream on.
      4. Operate the Techstream to clear the codes. Enter the following menus: Chassis / ABS/VSC / TRAC / Trouble Codes.
      5. According to the Techstream display, select the trouble code data display with the clear button.
  2. DTC CHECK/CLEAR (When not Using the Techstream) 
    1. Check for DTCs.
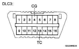
      1. Using SST, connect terminals TC and CG of the DLC3.

        SST 09843-18040 

      2. Turn the ignition switch to ON.
      3. Observe the blinking pattern of the ABS warning and VSC OFF indicator lights in order to identify the DTC.
        Fig 2: Identifying Terminal TC And CG Of DLC3
        G06034981Courtesy of © TOYOTA, LICENSE AGREEMENT TMS1002

        HINT:

        If no code appears, inspect the TC and CG terminal circuit, and ABS warning and VSC OFF indicator light circuits.

        TROUBLESHOOTING REFERENCE CHART

        Trouble Area See Procedure
        TC and CG terminal circuit TC AND CG TERMINAL CIRCUIT 
        ABS warning light circuit (Remains on) ABS WARNING LIGHT REMAINS ON 
        ABS warning light circuit (Does not come on) ABS WARNING LIGHT DOES NOT COME ON 
        VSC OFF indicator light circuit (Remains on) VSC OFF INDICATOR LIGHT REMAINS ON 
        VSC OFF indicator light circuit (Does not come on) VSC OFF INDICATOR LIGHT DOES NOT COME ON 
      4. As an example, the illustration below shows the blinking patterns of the normal system code and trouble codes 11 and 21 for the ABS warning and VSC OFF indicator lights.
        Fig 3: Normal System Code With Trouble Code 11 And 21 Blinking Pattern
        G06013814Courtesy of © TOYOTA, LICENSE AGREEMENT TMS1002
      5. The codes are explained in the code table (See DIAGNOSTIC TROUBLE CODE CHART  ).
      6. After completing the check, disconnect terminals TC and CG of the DLC3 to turn off the display.

        If 2 or more DTCs are detected at the same time, the DTCs will be displayed in ascending order.

    2. Clear the DTCs.
      1. Using SST, connect terminals TC and CG of the DLC3.

        SST 09843-18040 

      2. Turn the ignition switch to ON.
        Fig 4: Identifying Terminals TC And CG Of DLC3
        G05417668Courtesy of © TOYOTA, LICENSE AGREEMENT TMS1002
      3. Clear the DTCs stored in the ECU by depressing the brake pedal 8 times or more within 5 seconds.
      4. Check that the warning light indicates a normal system code.
      5. Remove SST from the terminals of the DLC3.
        Fig 5: Depressing Brake Pedal
        G04832173Courtesy of © TOYOTA, LICENSE AGREEMENT TMS1002

        HINT:

        The DTCs cannot be cleared by disconnecting the negative cable from the battery terminal or the ECU-IG NO. 1 fuse.

  3. END OF DTC CHECK/CLEAR 
    1. Turn the ignition switch to ON.
    2. Check that the ABS warning light goes off within approximately 3 seconds.