LEMON Manuals: Even more car manuals for everyone: 1960-2025
Home >> Toyota >> 2009 >> Matrix S, FWD, Standard >> Repair and Diagnosis >> Engine Performance >> Engine Control System (2AZ-FE) >> Integration Relay >> Inspection
April 5, 2026: LEMON Manuals is launched! Read the announcement.

Integration Relay: Inspection

  1. INSPECT INTEGRATION RELAY 
    Fig 1: Locating Connectors
    G06007688Courtesy of © TOYOTA, LICENSE AGREEMENT TMS1002
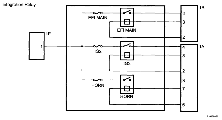
    Fig 2: Integration Relay Circuit Diagram
    G06007689Courtesy of © TOYOTA, LICENSE AGREEMENT TMS1002
    1. EFI MAIN RELAY:
      1. Measure the resistance according to the value(s) in the table below.
      Fig 3: Identifying EFI Main Relay
      G06007690Courtesy of © TOYOTA, LICENSE AGREEMENT TMS1002

      Standard Resistance 

      RESISTANCE REFERENCE

      Tester Connection Condition Specified Condition
      Integration relay (1E-1) - Integration relay Battery voltage is not applied between terminals 1B-3 and 1B-2 10 kΩ or higher
      Integration relay (1E-1) - Integration relay (1B-4) Battery voltage is applied between terminals 1B-3 and 1B-2 Below 1 Ω

      If the resistance is not as specified, replace the integration relay.

    2. IG2 RELAY:
      1. Measure the resistance according to the value(s) in the table below.
      Fig 4: Identifying IG2 Relay
      G06007690Courtesy of © TOYOTA, LICENSE AGREEMENT TMS1002

      Standard Resistance 

      RESISTANCE REFERENCE

      Tester Connection Condition Specified Condition
      Integration relay (1E-1) - Integration relay (1A-4) Battery voltage is not applied between terminals 1A-2 and 1A-3 10 kΩ or higher
      Integration relay (1E-1) - Integration relay (1A-4) Battery voltage is applied between terminals 1A-2 and 1A-3 Below 1 Ω

      If the resistance is not as specified, replace the integration relay.

    3. HORN RELAY:
      1. Measure the resistance according to the value(s) in the table below.
      Fig 5: Identifying Horn Relay:
      G06007690Courtesy of © TOYOTA, LICENSE AGREEMENT TMS1002

      Standard Resistance 

      RESISTANCE REFERENCE

      Tester Connection Condition Specified Condition
      Integration relay (1E-1) - Integration relay (1A-8) Battery voltage is not applied between terminals 1A-6 and 1A-7 10 kΩ or higher
      Integration relay (1E-1) - Integration relay (1A-8) Battery voltage is applied between terminals 1A-6 and 1A-7 Below 1 Ω

      If the resistance is not as specified, replace the integration relay.