LEMON Manuals: Even more car manuals for everyone: 1960-2025
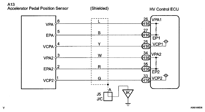
Home >> Toyota >> 2009 >> Prius Base >> Repair and Diagnosis (Single Page) >> Hybrid/Electric Powertrain >> Testing and Diagnosis >> P112 Hybrid Vehicle Control - DTC P0AA1 - P3226, DTC U0100 - U0146 >> DTC P2122-104 Throttle / Pedal Position Sensor / Switch "D" Circuit Low Input; DTC P2123-105 Throttle / Pedal Position Sensor / Switch "D" Circuit High Input; DTC P2127-107 Throttle / Pedal Position Sensor / Switch "E" Circuit Low Input; DTC P2128-108 Throttle / Pedal Position Sensor / Switch "E" Circuit High Input >> Wiring Diagram
April 5, 2026: LEMON Manuals is launched! Read the announcement.

DTC P2122-104 Throttle / Pedal Position Sensor / Switch "D" Circuit Low Input; DTC P2123-105 Throttle / Pedal Position Sensor / Switch "D" Circuit High Input; DTC P2127-107 Throttle / Pedal Position Sensor / Switch "E" Circuit Low Input; DTC P2128-108 Throttle / Pedal Position Sensor / Switch "E" Circuit High Input: Wiring Diagram

Fig 1: Accelerator Pedal Position Sensor Wiring Diagram
G05674788Courtesy of © TOYOTA, LICENSE AGREEMENT TMS1002