LEMON Manuals: Even more car manuals for everyone: 1960-2025
Home >> Toyota >> 2009 >> Prius Base >> Repair and Diagnosis >> Body & Frame >> Windows >> Windshield/WINDOWGLASS >> Power Window Control System >> Power Windows do not Operate at All >> Wiring Diagram
April 5, 2026: LEMON Manuals is launched! Read the announcement.

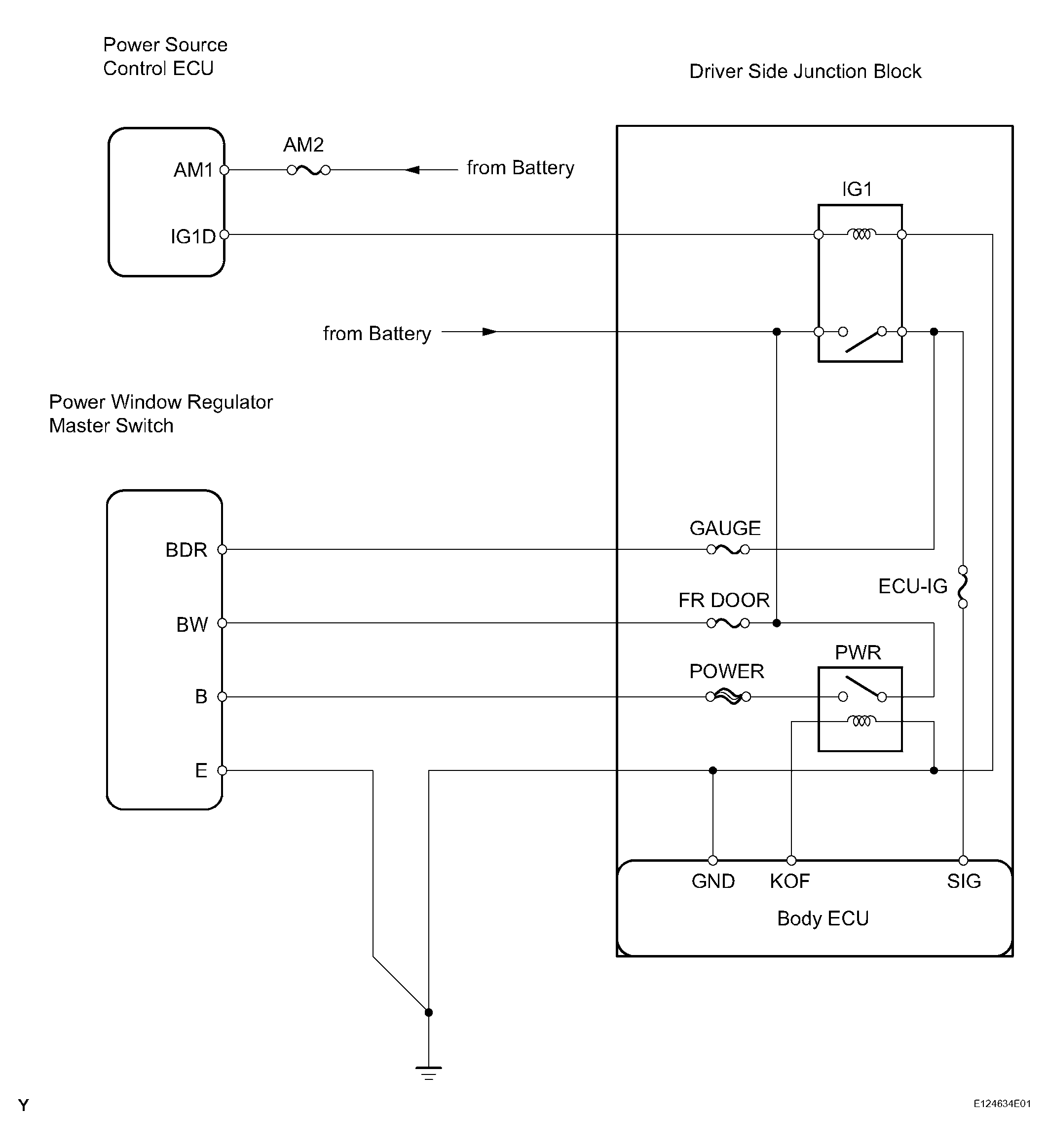
Power Windows do not Operate at All: Wiring Diagram

Fig 1: Power Window Not Operate - Wiring Diagram
G04476759Courtesy of © TOYOTA, LICENSE AGREEMENT TMS1002