LEMON Manuals: Even more car manuals for everyone: 1960-2025
Home >> Toyota >> 2009 >> Prius Base >> Repair and Diagnosis >> Brakes >> Traction Control >> Brake Control >> Electronically Controlled Brake System >> DTC C0210/33 Rear Speed Sensor RH Circuit; DTC C0215/34 Rear Speed Sensor LH Circuit; DTC C1273/73 Low Output Signal of Rear Speed Sensor RH (Test Mode DTC); DTC C1274/74 Low Output Signal of Rear Speed Sensor LH (Test Mode DTC) >> Inspection Procedure
April 5, 2026: LEMON Manuals is launched! Read the announcement.

Inspection Procedure

NOTE: When replacing the skid control ECU, perform initialization of linear solenoid valve and calibration (see INITIALIZATION  ).
  1. CHECK HARNESS AND CONNECTOR (MOMENTARY INTERRUPTION) 
    1. Using the Techstream, check for any. momentary interruption in the wire harness and connector corresponding to a DTC (see CHECK FOR INTERMITTENT PROBLEMS  ),

      ABS / VSC / TRAC: 

      SKID CONTROL ECU DIAGNOSTIC CHART

      Tester Display Measurement Item / Range Normal Condition Diagnostic Note
      SPD SEN RR RR speed sensor open detection /OPEN or NORMAL NORMAL: Normal condition -
      SPD SEN RL RL speed sensor open detection / OPEN or NORMAL NORMAL: Normal condition -

      OK: There are no momentary interruption. 

      HINT:

      Perform the above inspection before removing the sensor and connector.

    NG: Go to step  5

    OK: Go to Next Step 

  2. READ VALUE OF TECHSTREAM (REAR SPEED SENSOR) 
    1. Check the DATA LIST for proper functioning of the rear speed sensor.

      ABS / VSC / TRAC: 

      SKID CONTROL ECU DIAGNOSTIC CHART

      Tester Display Measurement Item / Range Normal Condition Diagnostic Note
      WHEEL SPD RL Wheel speed sensor (RL) reading / Min.: 0 km/h (0 mph), Max.: 326 km/h (202 mph) Actual wheel speed Similar speed as indicated on speedometer
      WHEEL SPD RR Wheel speed sensor (RR) reading / Min.: 0 km/h (0 mph), Max.: 326 km/h (202 mph) Actual wheel speed Similar speed as indicated on speedometer

      OK: There is almost no difference in the displayed speed value. 

      HINT:

      There is tolerance of +-10% in the speedometer indication,

    NG: Go to step  4

    OK: Go to Next Step 

  3. INSPECT SPEED SENSOR AND SENSOR ROTOR SERRATIONS 
    1. Connect the oscilloscope to terminals RR+ and RR-, or RL+ and RL- of the skid control ECU,
    2. Drive the vehicle at approximately 30 km/h (19 mph), and check the signal waveform.

      OK: A waveform as shown should be output. 

      HINT:

      • As the vehicle speed (wheel revolution speed) increases, a cycle of the waveform narrows and the fluctuation in the output voltage becomes greater.
      • When noise is identified in the waveform on the oscilloscope, error signals are generated due to the speed sensor rotor's scratches, looseness or foreign matter deposited on it.
        Fig 1: Checking Signal Waveform
        G05189231Courtesy of © TOYOTA, LICENSE AGREEMENT TMS1002

    NG: Go to step  7

    OK: REPLACE SKID CONTROL ECU 

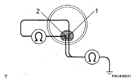
  4. INSPECT REAR SPEED SENSOR 
    1. Disconnect the rear speed sensor connector.
    2. Measure the resistance of the sensor.

      Standard resistance 

      STANDARD RESISTANCE REFERENCE CHART

      Tester Connection Specified Condition
      1 - 2 1.04 to 1.30 kΩ
      1 - Body ground 10 kΩ or higher
      2 - Body ground 10 kΩ or higher
      Fig 2: Measuring Resistance Of Sensor
      G05189232Courtesy of © TOYOTA, LICENSE AGREEMENT TMS1002
      NOTE: Check the speed sensor signal after the replacement (See TEST MODE PROCEDURE  ).

    NG: REPLACE REAR SPEED SENSOR 

    OK: Go to Next Step 

  5. CHECK WIRE HARNESS (SKID CONTROL ECU - REAR SPEED SENSOR) 
    1. Disconnect the S8 and S9 ECU connectors.
    2. Disconnect the A25 and A26 sensor connectors.
    3. Measure the resistance of the wire harness side connectors.

      Standard resistance: 

      for LH 

      STANDARD RESISTANCE REFERENCE CHART

      Tester Connection Specified Condition
      A25-1 (RL+) - S8-35 (RL+) Below 1 Ω
      A25-2 (RL-) - S8-27 (RL-) Below 1 Ω
      A25-1 (RL+) - Body ground 10 kΩ or higher
      A25-2 (RL-) - Body ground 10 kΩ or higher

      for RH 

      STANDARD RESISTANCE REFERENCE CHART

      Tester Connection Specified Condition
      A26-1 (RR+) - S9-31 (RR+) Below 1 Ω
      A26-2 (RR-) - S9-23 (RR-) Below 1 Ω
      A26-1 (RR+) - Body ground 10 kΩ or higher
      A26-2 (RR-) - Body ground 10 kΩ or higher
      Fig 3: Disconnecting S8 And S9 ECU Connectors
      G05189233Courtesy of © TOYOTA, LICENSE AGREEMENT TMS1002

    NG: REPAIR OR REPLACE HARNESS AND CONNECTOR 

    OK: Go to Next Step 

  6. INSPECT SPEED SENSOR AND SENSOR ROTOR SERRATIONS 
    1. Connect the oscilloscope to terminals RR+ and RR-, or RL+ and RL- of the skid control ECU.
    2. Drive the vehicle at approximately 30 km/h (19 mph), and check the signal waveform.

      OK: A waveform as shown should be output. 

      HINT:

      • As vehicle speed (wheel revolution speed) increases, a cycle of the waveform narrows and the fluctuation in the output voltage becomes greater.
      • When noise is identified in the waveform on the oscilloscope, error signals are generated due to the speed sensor rotor's scratches, looseness or foreign matter deposited on it.
        Fig 4: Normal Signal Waveform
        G05189234Courtesy of © TOYOTA, LICENSE AGREEMENT TMS1002

    NG: Go to step 7 

    OK: REPLACE SKID CONTROL ECU 

  7. REPLACE SKID CONTROL ECU 
    1. Check the sensor installation.

      OK: There is no clearance between the sensor and rear axle carrier. 

      NOTE: Check the speed sensor signal after the replacement (see TEST MODE PROCEDURE  ).

    NG: REPLACE REAR SPEED SENSOR 

    Fig 5: Identifying Clearance Between Sensor And Rear Axle Carrier
    G05189235Courtesy of © TOYOTA, LICENSE AGREEMENT TMS1002

    OK: REPLACE SKID CONTROL ECU