LEMON Manuals: Even more car manuals for everyone: 1960-2025
Home >> Toyota >> 2009 >> RAV4 Base, 2.5 F, AWD >> Repair and Diagnosis (Single Page) >> Engine Performance >> System >> Engine Control System (2AR-FE) - Diagnostic Codes (4 Of 4) >> DTC P2119 Throttle Actuator Control Throttle Body Range / Performance >> Confirmation Driving Pattern
April 5, 2026: LEMON Manuals is launched! Read the announcement.

Confirmation Driving Pattern

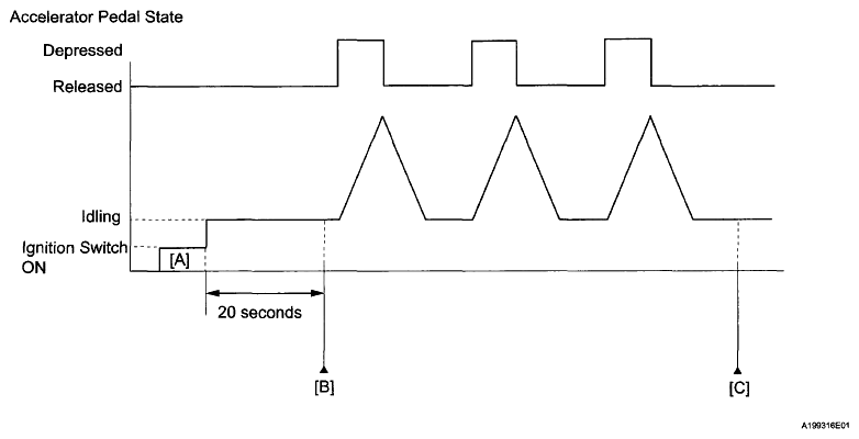
Fig 1: Identifying Confirmation Driving Pattern
G05997020Courtesy of © TOYOTA, LICENSE AGREEMENT TMS1002
  1. Connect the Techstream to the DLC3.
  2. Turn the ignition switch to ON and turn the Techstream on.
  3. Clear DTCs (even if no DTCs are stored, perform the clear DTC operation) [A].
  4. Start the engine.
  5. Idle the engine for 20 seconds.
  6. Enter the following menus: Powertrain / Engine and ECT / Utility / All Readiness.
  7. Input the DTC: P2119.
  8. Check the DTC judgment result [B].
    TESTER DISPLAY DESCRIPTION

    Tester Display Description
    NORMAL
    • DTC judgment completed
    • System normal
    ABNORMAL
    • DTC judgment completed
    • System abnormal
    INCOMPLETE
    • DTC judgment not completed
    • Perform driving pattern after confirming DTC enabling conditions
    UNKNOWN
    • Unable to perform DTC judgment
    • Number of DTCs which do not fulfill DTC preconditions has reached ECU memory limit

    HINT:

    • If the judgment result shows ABNORMAL, the system has a malfunction.
    • If the judgment result shows INCOMPLETE or UNKNOWN, fully depress and release the accelerator pedal 3 times, and then check the DTC judgment result at step [C].
  9. If the test result is UNKNOWN, enter the following menus: Powertrain / Engine and ECT / Trouble Code / Pending.
  10. Read Pending DTCs.

    HINT:

    If a pending DTC is output, the system is malfunctioning.

  11. If the test result is INCOMPLETE or UNKNOWN and no pending DTC is output, perform a universal trip and check for permanent DTCs (See DTC CHECK / CLEAR ).

    HINT:

    • If a permanent DTC is output, the system is malfunctioning.
    • If no permanent DTC is output, the system is normal.