LEMON Manuals: Even more car manuals for everyone: 1960-2025
Home >> Toyota >> 2009 >> RAV4 Base, 2.5 F, AWD >> Repair and Diagnosis >> Brakes >> Traction Control >> Brake Control >> Downhill Assist Control Switch >> Removal
April 5, 2026: LEMON Manuals is launched! Read the announcement.

Downhill Assist Control Switch: Removal

  1. REMOVE NO. 1 SWITCH HOLE BASE 
    1. Remove the No. 1 switch hole base (See REMOVAL ).
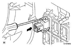
  2. REMOVE DOWNHILL ASSIST CONTROL SWITCH 
    1. Detach the 2 claws and remove the switch.

      HINT:

      Tape the screwdriver tip before use.

      Fig 1: Removing Downhill Assist Control Switch With Claws
      G06003444Courtesy of © TOYOTA, LICENSE AGREEMENT TMS1002