LEMON Manuals: Even more car manuals for everyone: 1960-2025
Home >> Toyota >> 2009 >> RAV4 Base, 2.5 F, AWD >> Repair and Diagnosis >> Steering >> Steering Column >> Steering Lock System >> System Diagram
April 5, 2026: LEMON Manuals is launched! Read the announcement.

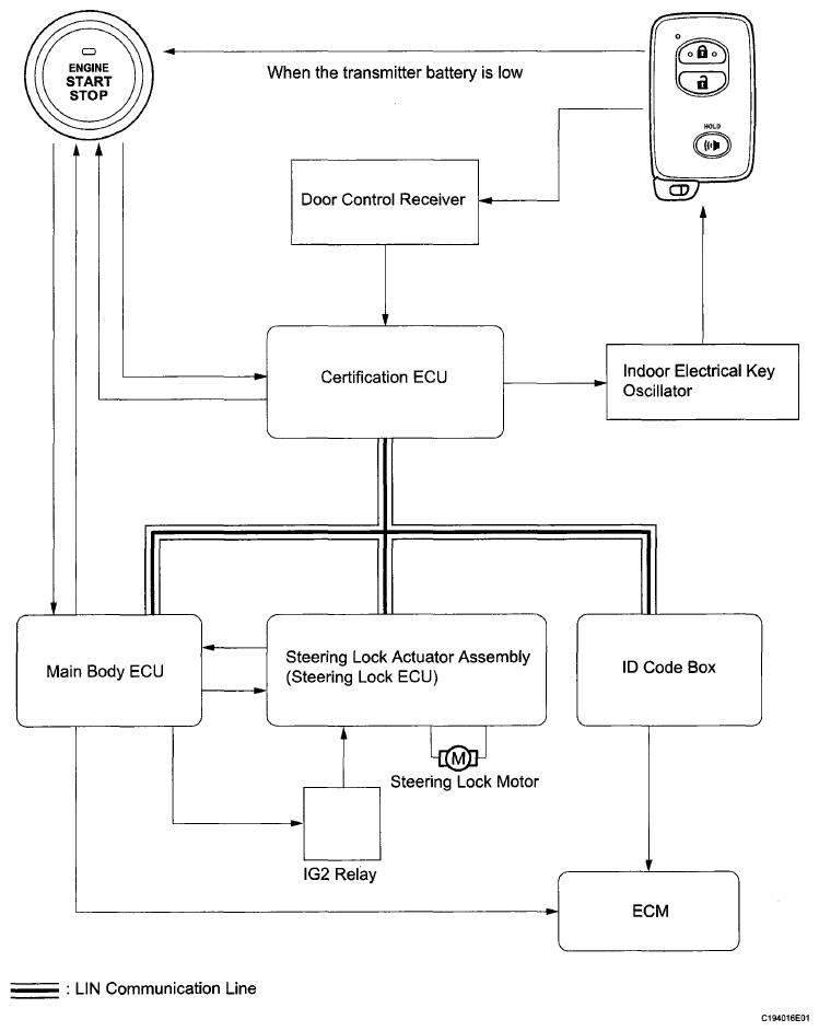
System Diagram

Fig 1: Steering Lock System Diagram
G06003598Courtesy of © TOYOTA, LICENSE AGREEMENT TMS1002

Input and Output Signals of Each ECU 

STEERING LOCK SYSTEM REFERENCE CHART

Transmitting ECU Receiving ECU Signal Communication Method
Main Body ECU Steering Lock ECU Power supply status (to steering lock motor) LIN
Steering Lock ECU
  • Certification ECU
  • Main Body ECU
  • ID Code Box
Sleep/available status LIN
Steering Lock ECU
  • Certification ECU
  • Main Body ECU
  • ID Code Box
Lock/unlock sensor status LIN
Steering Lock ECU
  • Certification ECU
  • Main Body ECU
  • ID Code Box
Steering lock status LIN
Steering Lock ECU
  • Certification ECU
  • Main Body ECU
  • ID Code Box
Motor control status LIN
Steering Lock ECU
  • Certification ECU
  • Main Body ECU
  • ID Code Box
Diagnostic response status LIN
Steering Lock ECU
  • Certification ECU
  • Main Body ECU
  • ID Code Box
Lock/unlock sensor malfunction LIN
Steering Lock ECU
  • Certification ECU
  • Main Body ECU
  • ID Code Box
Power supply malfunction (to steering lock motor) LIN
Steering Lock ECU
  • Certification ECU
  • Main Body ECU
  • ID Code Box
Motor driver malfunction LIN
Steering Lock ECU
  • Certification ECU
  • Main Body ECU
  • ID Code Box
Lock bar stuck status LIN
Steering Lock ECU
  • Certification ECU
  • Main Body ECU
  • ID Code Box
Push button start function status LIN
Steering Lock ECU
  • Certification ECU
  • Main Body ECU
  • ID Code Box
Lock/unlock relay drive status LIN
Steering Lock ECU
  • Certification ECU
  • Main Body ECU
  • ID Code Box
Engine start control status LIN
Certification ECU Steering Lock ECU Lock/unlock request LIN