LEMON Manuals: Even more car manuals for everyone: 1960-2025
Home >> Toyota >> 2009 >> RAV4 Base, 2.5 F, AWD >> Repair and Diagnosis >> Transmission >> Transfer Case >> Transfer Assembly >> Disassembly
April 5, 2026: LEMON Manuals is launched! Read the announcement.

Transfer Assembly: Disassembly

  1. REMOVE TRANSFER AND TRANSAXLE SETTING STUD BOLT 
    1. Remove the stud bolt.
      Fig 1: Identifying Transaxle Setting Stud Bolt
      G05584686Courtesy of © TOYOTA, LICENSE AGREEMENT TMS1002
  2. REMOVE TRANSFER CASE STRAIGHT PIN 
    1. Remove the 2 straight pins.
  3. REMOVE TRANSFER CASE NO. 1 PLUG 
    1. Remove the No. 1 plug.
    2. Remove the gasket from the No. 1 plug.
      Fig 2: Locating Straight Pins
      G05584687Courtesy of © TOYOTA, LICENSE AGREEMENT TMS1002
  4. REMOVE TRANSFER CASE NO. 2 PLUG 
    1. Remove the No. 2 plug.
    2. Remove the gasket from the No. 2 plug.
      Fig 3: Identifying Transfer Case No. 2 Plug
      G05584688Courtesy of © TOYOTA, LICENSE AGREEMENT TMS1002
  5. REMOVE TRANSFER DRAIN PLUG 
    1. Remove the drain plug.
    2. Remove the gasket from the drain plug.
      Fig 4: Identifying Transfer Drain Plug
      G05584689Courtesy of © TOYOTA, LICENSE AGREEMENT TMS1002
  6. REMOVE TRANSFER CASE OIL SEAL LH 
    1. Using SST, tap out the oil seal from the case.

      SST 09308-00010 

      NOTE: Do not damage the oil seal lip.
      Fig 5: Removing Transfer Case Oil Seal LH
      G06002728Courtesy of © TOYOTA, LICENSE AGREEMENT TMS1002
  7. REMOVE TRANSFER CASE OIL SEAL RH 
    1. Using SST, tap out the oil seal from the case.

      SST 09308-00010 

      NOTE: Do not damage the oil seal lip.
      Fig 6: Removing Transfer Case Oil Seal RH
      G05584691Courtesy of © TOYOTA, LICENSE AGREEMENT TMS1002
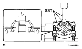
  8. INSPECT RING GEAR BACKLASH 
    1. Using a dial indicator, measure the backlash of the ring gear at 3 points.

      Standard backlash: 

      0.10 to 0.20 mm (0.0039 to 0.0079 in.) 

      If the backlash is not within the specified range, adjust the backlash or repair as necessary.

      Fig 7: Measuring Backlash Of Ring Gear
      G05584692Courtesy of © TOYOTA, LICENSE AGREEMENT TMS1002
  9. REMOVE NO. 1 TRANSFER CASE COVER 
    1. Remove the 8 bolts.
      Fig 8: Locating No. 1 Transfer Case Cover Bolts
      G05584693Courtesy of © TOYOTA, LICENSE AGREEMENT TMS1002
    2. Using a brass bar and hammer, tap out the cover from the case.
      Fig 9: Tapping Out Cover From Case
      G05584694Courtesy of © TOYOTA, LICENSE AGREEMENT TMS1002
  10. REMOVE TRANSFER RING GEAR 
    1. Remove the ring gear from the transfer case.
  11. REMOVE TRANSFER CASE STRAIGHT PIN 
    1. Remove the 2 straight pins from the transfer case.
      Fig 10: Identifying Ring Gear And Transfer Case
      G05584695Courtesy of © TOYOTA, LICENSE AGREEMENT TMS1002
  12. REMOVE TRANSFER OUTPUT SHAFT 
    1. Remove the 5 bolts and output shaft.
      Fig 11: Locating Transfer Output Shaft Bolts
      G06002734Courtesy of © TOYOTA, LICENSE AGREEMENT TMS1002
    2. Using SST and a hammer, unstake the lock nut.

      SST 09930-00010 

    3. Remove the lock nut.
      Fig 12: Unstaking Lock Nut
      G05584697Courtesy of © TOYOTA, LICENSE AGREEMENT TMS1002
  13. REMOVE TRANSFER OUTPUT REAR SHAFT SUB-ASSEMBLY 
    1. Using SST and a press, press out the shaft from the driven pinion.

      SST 09950-00020, 09950-60010 (09951 -00220), 09950-70010 (09951-07100) 

      Fig 13: Pressing Out Shaft From Driven Pinion
      G05584698Courtesy of © TOYOTA, LICENSE AGREEMENT TMS1002
  14. REMOVE TRANSFER DRIVEN PINION FRONT BEARING 
    1. Using SST and a press, press out the driven pinion from the bearing.

      SST 09950-00020, 09950-60010 (09951-00220), 09950-70010 (09951-07100) 

      Fig 14: Pressing Out Driven Pinion From Bearing
      G05584699Courtesy of © TOYOTA, LICENSE AGREEMENT TMS1002
    2. Remove the O-ring from the bearing.
      Fig 15: Identifying O-Ring
      G05584700Courtesy of © TOYOTA, LICENSE AGREEMENT TMS1002
  15. REMOVE TRANSFER OUTPUT SHAFT WASHER 
    1. Remove the washer from the transfer pinion gear.
      Fig 16: Identifying Transfer Pinion Gear Washer
      G05584701Courtesy of © TOYOTA, LICENSE AGREEMENT TMS1002
  16. REMOVE RING GEAR MOUNTING CASE BEARING (for LH side) 
    1. Using SST, remove the bearing from the mounting case.

      SST 09950-40011 (09951 -04010, 09952-04010, 09953-04030, 09954-04010, 09955-04061, 09957-04010, 09958-04011), 09950-60010 (09951-00540) 

      Fig 17: Removing Bearing From Mounting Case
      G05584702Courtesy of © TOYOTA, LICENSE AGREEMENT TMS1002
    2. Using SST and a hammer, tap out the bearing.

      SST 09310-35010 

  17. REMOVE RING GEAR MOUNTING CASE WASHER 
    Fig 18: Tapping Out Bearing
    G05584703Courtesy of © TOYOTA, LICENSE AGREEMENT TMS1002
  18. REMOVE RING GEAR MOUNTING CASE BEARING (for RH side) 
    1. Using SST, remove the bearing from the mounting case.

      SST 09950-40011 (09951-04010,09952-04010, 09953-04020, 09954-04010, 09955-04061, 09957-04010, 09958-04011), 09950-60010 (09951-00540) 

      Fig 19: Removing Bearing From Mounting Case
      G05584704Courtesy of © TOYOTA, LICENSE AGREEMENT TMS1002
    2. Using SST and a hammer, tap out the bearing (race) from the cover.

      SST 09636-20010 

  19. REMOVE TRANSFER RING GEAR MOUNTING CASE NO. 2 WASHER 
  20. REMOVE SHAFT SNAP RING 
    1. Using a snap ring expander, remove the snap ring.
      Fig 20: Removing Snap Ring Using Snap Ring Expander
      G05584705Courtesy of © TOYOTA, LICENSE AGREEMENT TMS1002
  21. REMOVE TRANSFER RING GEAR MOUNTING CASE 
    1. Using SST and a press, press out the ring gear from the mounting case.

      SST 09950-60010 (09951-00400) 

      Fig 21: Pressing Out Ring Gear From Mounting Case Using SST And Press
      G05584706Courtesy of © TOYOTA, LICENSE AGREEMENT TMS1002
  22. REMOVE BREATHER OIL DEFLECTOR 
    1. Remove the 2 bolts and oil deflector.
      Fig 22: Identifying Breather Oil Deflector With Bolts
      G05584707Courtesy of © TOYOTA, LICENSE AGREEMENT TMS1002
  23. REMOVE TRANSFER CASE BREATHER PLUG 
    1. Remove the breather plug from the transfer case.
      Fig 23: Locating Transfer Case Breather Plug
      G05584708Courtesy of © TOYOTA, LICENSE AGREEMENT TMS1002