LEMON Manuals: Even more car manuals for everyone: 1960-2025
Home >> Toyota >> 2009 >> RAV4 Base, 2.5 F, AWD >> Repair and Diagnosis >> Transmission >> Transfer Case >> Transfer Assembly >> Reassembly
April 5, 2026: LEMON Manuals is launched! Read the announcement.

Transfer Assembly: Reassembly

  1. INSTALL BREATHER OIL DEFLECTOR 
    1. Install the deflector with the 2 bolts.

      Torque: 6.5 N*m (66 kgf*cm, 58 in.*lbf) 

  2. INSTALL RING GEAR MOUNTING CASE PLATE WASHER 
    1. Install a new washer to the transfer case.

      HINT:

      Install a washer of the same thickness as before.

      Fig 1: Identifying Breather Oil Deflector With Bolts
      G06002747Courtesy of © TOYOTA, LICENSE AGREEMENT TMS1002
  3. INSTALL TRANSFER RING GEAR MOUNTING CASE NO. 2 WASHER 
    1. Install a new washer to the cover.

      HINT:

      Install a washer of the same thickness as before.

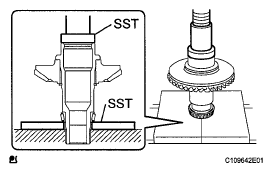
  4. INSTALL TRANSFER RING GEAR MOUNTING CASE 
    1. Using SST and a press, press in the mounting case to the ring gear.

      SST 09316-12010, 09950-60010 (09951-00560) 

      Fig 2: Pressing Mounting Case To Ring Gear Using SST And Press
      G05584710Courtesy of © TOYOTA, LICENSE AGREEMENT TMS1002
  5. INSTALL SHAFT SNAP RING 
    1. Using a snap ring expander, install a new snap ring.
      Fig 3: Installing Shaft Snap Ring
      G05584705Courtesy of © TOYOTA, LICENSE AGREEMENT TMS1002
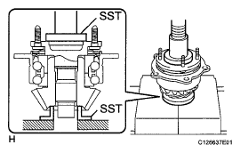
  6. INSTALL RING GEAR MOUNTING CASE BEARING (for RH side) 
    1. Using SST and a press, press in the bearing (race) to the cover.

      SST 09950-60020 (09951-00750, 09952-06010), 09950-70010 (09951-07150) 

      Fig 4: Pressing Bearing (Race) To Cover
      G05584712Courtesy of © TOYOTA, LICENSE AGREEMENT TMS1002
    2. Using SST and a press, press in the bearing to the mounting case.

      SST 09336-16010, 09950-60010 (09951-00400) 

    3. Apply gear oil to the bearing.
      Fig 5: Pressing Bearing To Mounting Case
      G05584713Courtesy of © TOYOTA, LICENSE AGREEMENT TMS1002
  7. INSTALL RING GEAR MOUNTING CASE BEARING (for LH side) 
    1. Using SST and a press, press in the bearing (race) to the case.

      SST 09950-60010 (09951-00540, 09951 -00620, 09952-06010), 09950-70010 (09951-07150) 

      Fig 6: Pressing Bearing (Race) To Case
      G05584714Courtesy of © TOYOTA, LICENSE AGREEMENT TMS1002
    2. Using SST and a press, press in the bearing to the mounting case.

      SST 09336-16010, 09950-60010 (09951-00560) 

    3. Apply gear oil to the mounting case bearing.
      Fig 7: Pressing Bearing To Mounting Case
      G05584715Courtesy of © TOYOTA, LICENSE AGREEMENT TMS1002
  8. INSTALL TRANSFER OUTPUT SHAFT WASHER 
    1. Install the washer to the driven pinion.
      Fig 8: Identifying Transfer Pinion Gear Washer
      G05584701Courtesy of © TOYOTA, LICENSE AGREEMENT TMS1002
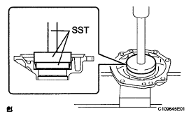
  9. INSTALL TRANSFER DRIVEN PINION FRONT BEARING 
    1. Using SST and a press, press in the bearing to the driven pinion.

      SST 09950-60010 (09951 -00440), 09950-60020 (09951-00750), 09950-70010 (09951-07150) 

      Fig 9: Pressing Bearing To Driven Pinion
      G05584717Courtesy of © TOYOTA, LICENSE AGREEMENT TMS1002
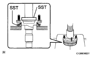
  10. INSTALL TRANSFER OUTPUT REAR SHAFT DUST DEFLECTOR 
    1. Using SST and a press, press in the dust deflector to the output shaft.

      SST 09316-12010 

      Fig 10: Pressing Dust Deflector To Output Shaft
      G06002756Courtesy of © TOYOTA, LICENSE AGREEMENT TMS1002
  11. INSTALL TRANSFER OUTPUT REAR SHAFT SUB-ASSEMBLY 
    1. Using SST and a press, press in the output rear shaft to the driven pinion.

      SST 09316-12010 

      Fig 11: Pressing Output Rear Shaft To Driven Pinion
      G05584719Courtesy of © TOYOTA, LICENSE AGREEMENT TMS1002
    2. Install a new nut to the output shaft.

      Torque: 360 N*m (3671 kgf*cm, 266 ft.*lbf) 

      Fig 12: Identifying Output Shaft Nut
      G05584720Courtesy of © TOYOTA, LICENSE AGREEMENT TMS1002
  12. INSTALL TRANSFER SHAFT 
    1. Install a new O-ring to the driven pinion.
      Fig 13: Identifying Driven Pinion O-Ring
      G06002759Courtesy of © TOYOTA, LICENSE AGREEMENT TMS1002
    2. Install the driven pinion to the case with the 5 bolts.

      Torque: 38 N*m (390 kgf*cm, 28 ft.*lbf) 

      Fig 14: Locating Transfer Case Bolts
      G05584696Courtesy of © TOYOTA, LICENSE AGREEMENT TMS1002
  13. INSPECT DRIVEN PINION PRELOAD 
    1. Using a torque wrench, measure the preload.

      Standard preload (turning): 

      0.17 to 1.86 N*m (1.7 to 19.0 kgf*cm, 1.5 to 16.5 in.*lbf) 

      Fig 15: Measuring Driven Pinion Preload
      G05584723Courtesy of © TOYOTA, LICENSE AGREEMENT TMS1002
  14. INSTALL TRANSFER RING GEAR 
    1. Coat 3 or 4 teeth at the 4 different positions on the ring gear with Prussian blue.
      Fig 16: Coating Ring Gear Teeth With Prussian Blue
      G05584724Courtesy of © TOYOTA, LICENSE AGREEMENT TMS1002
    2. Install the mounting case to the transfer case.
      Fig 17: Identifying Mounting Case And Transfer Case
      G06002763Courtesy of © TOYOTA, LICENSE AGREEMENT TMS1002
  15. INSTALL NO. 1 TRANSFER CASE COVER 
    1. Install the transfer cover with the 8 bolts.

      Torque: 47 N*m (480 kgf*cm, 35 ft.*lbf) 

      Fig 18: Locating No. 1 Transfer Case Cover Bolts
      G05584693Courtesy of © TOYOTA, LICENSE AGREEMENT TMS1002
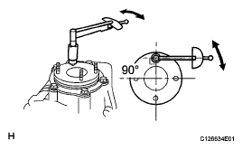
  16. ADJUST RING GEAR BACKLASH 
    1. Using a dial indicator, measure the backlash of the ring gear at 3 positions at least.

      Standard backlash: 

      0.10 to 0.20 mm (0.0039 to 0.0079 in.) 

      Fig 19: Measuring Backlash Of Ring Gear
      G05584692Courtesy of © TOYOTA, LICENSE AGREEMENT TMS1002

      HINT:

      The measure values should be used as reference when selecting washer, so take a note of the values. If the backlash is not within the specification, replace the washer on the ring gear side with one of a different thickness using the following procedure.

      Standard washer thickness 

      WASHER THICKNESS SPECIFICATION

      Mark Thickness Mark Thickness
      A0 1.97 mm (0.0776 In.) CO 2.37 mm (0.0933 in.)
      A1 1.99 mm (0.0783 in.) C1 2.39 mm (0.0941 in.)
      A2 2.01 mm (0.0791 in.) C2 2.41 mm (0.0949 in.)
      A3 2.03 mm (0.0799 in.) C3 2.43 mm (0.957 in.)
      A4 2.05 mm (0.0807 in.) C4 2.45 mm (0.0965 in.)
      A5 2.07 mm (0.0815 in.) C5 2.47 mm (0.0972 in.)
      A6 2.09 mm (0.0823 in.) C6 2.49 mm (0.098 in.)
      A7 2.11 mm (0.0831 in.) C7 2.51 mm (0.0988 in.)
      A8 2.13 mm (0.0839 in.) C8 2.53 mm (0.0996 in.)
      A9 2.15 mm (0.0846 in.) C9 2.55 mm (0.1004 in.)
      B0 2.17 mm (0.0854 in.) DO 2.57 mm (0.1012 in.)
      B1 2.19 mm (0.0862 in.) D1 2.59 mm (0.102 in.)
      B2 2.21 mm (0.087 in.) D2 2.61 mm (0.1028 in.)
      B3 2.23 mm (0.0878 in.) D3 2.63 mm (0.1035 in.)
      B4 2.25 mm (0.0886 in.) D4 2.65 mm (0.1043 in.)
      B5 2.27 mm (0.0894 in.) 05 2.67 mm (0.1051 in.)
      B6 2.29 mm (0.0902 in.) D6 2.39 mm (0.0941 in.)
      B7 2.31 mm (0.0909 in.) D7 2.71 mm (0.1067 in.)
      B8 2.33 mm (0.0917 in.) 08 2.73 mm (0.1075 in.)
      B9 2.35 mm (0.0925 in.) D9 2.75 mm (0.1083 in.)
  17. ADJUST TOTAL PRELOAD 
    1. Using a torque wrench, measure the total preload.

      Driven pinion preload: 

      0.28 to 0.79 N*m (2.86 to 8.06 kgf*cm, 2.48 to 7.0 in.*lbf) 

      Fig 20: Measuring Driven Pinion Preload
      G05584723Courtesy of © TOYOTA, LICENSE AGREEMENT TMS1002

      HINT:

      Turn the driven pinion counterclockwise and clockwise several times.

      If the preload is not as specified, select a proper washer again.

      Standard washer thickness 

      WASHER THICKNESS SPECIFICATION

      Mark Thickness Mark Thickness
      A0 1.18 mm (0.0465 in.) C2 1.62 mm (0.0638 in.)
      A1 1.20 mm (0.0472 in.) C3 1.64 mm (0.0646 in.)
      A2 1.22 mm (0.048 in.) C4 1.66 mm (0.0654 in.)
      A3 1.24 mm (0.0488 in.) C5 1,68 mm (0.0661 in.)
      A4 1.26 mm (0.0496 in.) C6 1.70 mm (0.067 in.)
      A5 1.28 mm (0.0504 in.) C7 1.72 mm (0.0677 in.)
      A6 1.30 mm (0.0512 in.) C8 1.74 mm (0.0685 in.)
      A7 1.32 mm (0.052 in.) C9 1.76 mm (0.0693 in.)
      A8 1.34 mm (0.0528 in.) DO 1.78 mm (0.0701 in.)
      A9 1.36 mm (0.535 in.) D1 1.80 mm (0.0709 in.)
      B0 1.38 mm (0.0543 in.) D2 1.82 mm (0.0717 in.)
      B1 1.40 mm (0.0551 in.) D3 1.84 mm (0.0724 in.)
      B2 1.42 mm (0.0559 in.) D4 1.86 mm (0.0732 in.)
      B3 1.44 mm (0.0567 in.) 05 1.88 mm (0.074 in.)
      B4 1.46 mm (0.0575 in.) D6 1.90 mm (0.0748 in.)
      B5 1.48 mm (0.0583 in.) D7 1.92 mm (0.0756 in.)
      B6 1.50 mm (0.0591 in.) D8 1.94 mm (0.0764 in.)
      B7 1.52 mm (0.0598 In.) D9 1.96 mm (0.0772 in.)
      B8 1.54 mm (0.0606 In.) E0 1.98 mm (0.0781 in.)
      B9 1.56 mm (0.0614 in.) E1 2.00 mm (0.0787 in.)
      C0 1.58 mm (0.0622 in.) E2 2.02 mm (0.0795 in.)
      C1 1.60 mm (0.063 in.) - -
  18. INSPECT TOOTH CONTACT BETWEEN RING GEAR AND DRIVE PINION 
    1. Rotate the ring gear several times.
    2. Peer into the service filler hole or remove the ring gear to check the tooth contact pattern.
      NOTE:
      • Check the tooth contact pattern at 4 or more positions around the circumference of the ring gear.
      • When replacing washers (backlash adjustment, preload adjustment or tooth contact adjustment), reapply Prussian blue.

      HINT:

      The Prussian blue pattern indicates the tooth contact points.

    3. If the teeth are not contacting properly, select a driven pinion bearing front (outer race) side washer from the chart and install the washer.
      NOTE: If a washer (for tooth contact adjustment) is replaced with one of a different thickness, the backlash will also change. Therefore, it is necessary to adjust the backlash.
      Fig 21: Identifying Tooth Contact Pattern
      G05584729Courtesy of © TOYOTA, LICENSE AGREEMENT TMS1002
    4. Perform the following procedures for face or flank contact.
      1. Use the backlash adjustment washer (ring gear mounting case washer) to move and adjust the ring gear. (*1)
      2. Perform the ring gear and driven pinion tooth contact inspection again.

        HINT:

        If the tooth contact is incorrect, repeat step *1.

      3. Perform the ring gear and driven pinion backlash inspection. If the ring gear and driven pinion backlash is not within the standard range, replace the ring gear and driven pinion with new ones.
    5. Perform the following procedures for heel or toe contact.
      1. Select a transfer driven pinion bearing front (outer race) side washer (transfer output shaft washer) from the chart and install the washer.
      NOTE: Do not reuse a transfer pinion bearing spacer.

      Standard washer thickness 

      WASHER THICKNESS SPECIFICATION

      Mark Thickness Mark Thickness
      01 1.02 mm (0.0402 in.) 15 1.30 mm (0.0512 in.)
      02 1.04 mm (0.0409 in.) 16 1.32 mm (0.0520 in.)
      03 1.06 mm (0.0417 in.) 17 1.34 mm (0.0528 in.)
      04 1.08 mm (0.0425 in.) 18 1.36 mm (0.0535 in.)
      05 1.10 mm (0.0433 in.) 19 1.38 mm (0.0543 in.)
      06 1.12 mm (0.0441 in.) 20 1.40 mm (0.0551 in.)
      07 1.14 mm (0.0449 in.) 21 1.42 mm (0.0559 in.)
      08 1.16 mm (0.0457 in.) 22 1.44 mm (0.0567 in.)
      09 1.18 mm (0.0465 in.) 23 1.46 mm (0.0575 in.)
      10 1.20 mm (0.0472 in.) 24 1.48 mm (0.0583 in.)
      11 1.22 mm (0.0480 in.) 25 1.50 mm (0.0591 in.)
      12 1.24 mm (0.0488 in.) 26 1.52 mm (0.0598 in.)
      13 1.26 mm (0.0496 in.) 27 1.54 mm (0.0606 in.)
      14 1.28 mm (0.0504 in.) 28 1.56 mm (0.0614 in.)
  19. COMPLETELY INSTALL TRANSFER SHAFT 
    1. Using a screwdriver and hammer, unstake the pinion gear nut.
    2. Install the 5 bolts with the transfer shaft to the case.

      Torque: 38 N*m (390 kgf*cm, 28 ft.*lbf) 

    3. Install the No. 1 transfer case cover.
      1. Using non-residue solvent, clean the contact surfaces of the housing and cover.
        Fig 22: Locating Transfer Case Bolts
        G05584696Courtesy of © TOYOTA, LICENSE AGREEMENT TMS1002
      2. Apply seal packing to the cover as shown in the illustration.

        Seal packing: 

        Toyota Genuine Seal Packing Black, Three Bond 1207B or equivalent 

        Fig 23: Identifying Seal Packing Applying Area On Cover
        G05584731Courtesy of © TOYOTA, LICENSE AGREEMENT TMS1002
      3. Install the 8 bolts with the cover to the case.

        Torque: 47 N*m (480 kgf*cm, 35 ft.*lbf) 

  20. INSTALL TRANSFER CASE OIL SEAL LH  (See TRANSFER CASE OIL SEAL (FOR RH SIDE) )
  21. INSTALL TRANSFER CASE OIL SEAL RH  (See REPLACEMENT )
  22. INSTALL TRANSFER CASE STRAIGHT PIN 
    1. Using a plastic-faced hammer, install the straight pin as shown in the straight pin.
      Fig 24: Locating No. 1 Transfer Case Cover Bolts
      G05584693Courtesy of © TOYOTA, LICENSE AGREEMENT TMS1002
      Fig 25: Installing Transfer Case Straight Pin
      G05584733Courtesy of © TOYOTA, LICENSE AGREEMENT TMS1002
  23. INSTALL TRANSFER CASE BREATHER PLUG 
    1. Using SST and a hammer, tap in a new breather plug.

      SST 09612-10093 (09612-10061) 

      Fig 26: Tapping Breather Plug Using SST And Hammer
      G05584734Courtesy of © TOYOTA, LICENSE AGREEMENT TMS1002
  24. INSTALL TRANSFER DRAIN PLUG 
    1. Install a new gasket and the plug to the transfer case.

      Torque: 39 N*m (398 kgf*cm, 29 ft.*lbf) 

  25. INSTALL TRANSFER CASE NO. 1 PLUG 
    1. Install a new gasket and the plug to the transfer case.

      Torque: 39 N*m (398 kgf*cm, 29 ft.*lbf) 

      Fig 27: Identifying Transfer Drain Plug
      G05584689Courtesy of © TOYOTA, LICENSE AGREEMENT TMS1002
  26. INSTALL TRANSFER CASE NO. 2 PLUG 
    1. Install a new gasket and the plug to the transfer case.

      Torque: 39 N*m (398 kgf*cm, 29 ft.*lbf) 

  27. INSTALL TRANSFER AND TRANSAXLE SETTING STUD BOLT 
    1. Apply sealer to stud bolts.
    2. Install the stud bolts.
      Fig 28: Identifying Transfer Case No. 2 Plug
      G05584688Courtesy of © TOYOTA, LICENSE AGREEMENT TMS1002

      Torque: 39 N*m (398 kgf*cm, 29 ft.*lbf) 

      HINT:

      Install the transfer side of the stud bolt (see ) to the case.

      Fig 29: Identifying Sealer Applying Area On Stud Bolt
      G05584737Courtesy of © TOYOTA, LICENSE AGREEMENT TMS1002