LEMON Manuals: Even more car manuals for everyone: 1960-2025
Home >> Toyota >> 2009 >> Sienna CE >> Repair and Diagnosis >> Transmission >> Transfer Case >> Transfer Unit >> Reassembly
April 5, 2026: LEMON Manuals is launched! Read the announcement.

Transfer Unit: Reassembly

  1. INSTALL TRANSFER DRIVEN PINION REAR BEARING 
    1. Using SST(s) and a press, install the transfer driven pinion rear bearing outer race to the transfer case.

      SST 09950-60010 (09951-00620), 09950-70010 (09951-07150) 

      NOTE: Place something like wood blocks under the case to keep its level.
      Fig 1: Installing Transfer Driven Pinion Rear Bearing
      G05241059Courtesy of © TOYOTA, LICENSE AGREEMENT TMS1002
  2. INSTALL TRANSFER OUTPUT WASHER 
    1. Install the transfer output washer to the transfer case.

      HINT:

      Reuse the washer.

  3. INSTALL TRANSFER DRIVEN PINION FRONT BEARING 
    1. Install the transfer driven pinion front bearing outer race to the transfer case with SST(s), bolt and nut.

      SST 09950-60020 (09951-00750, 09951-00770, 09951-00810), 09316-60011 (09316-00061) 

    Fig 2: Installing Transfer Driven Pinion Front Bearing
    G05241060Courtesy of © TOYOTA, LICENSE AGREEMENT TMS1002
  4. INSTALL RING GEAR MOUNTING CASE PLATE WASHER 
    1. Install the ring gear mounting case plate washer to the transfer case.

      HINT:

      Reuse the washer.

  5. INSTALL CENTER DIFFERENTIAL CASE TAPERED ROLLER BEARING 
    1. Using SST(s) and a press, install the center differential case tapered roller bearing LH outer race to the transfer case.

      SST 09950-70010 (09951-07200), 09316-60011 (09316-00021) 

      Fig 3: Installing Center Differential Case Tapered Roller Bearing With SST
      G05241061Courtesy of © TOYOTA, LICENSE AGREEMENT TMS1002
  6. INSTALL TRANSFER DRIVEN PINION FRONT BEARING 
    1. Using SST(s) and a press, install the transfer driven pinion front bearing inner race to the driven pinion.
      Fig 4: Identifying Transfer Driven Pinion Front Bearing
      G05241062Courtesy of © TOYOTA, LICENSE AGREEMENT TMS1002
  7. INSTALL DRIVEN PINION 
    1. Install the driven pinion to the transfer case.
      Fig 5: Installing Driven Pinion To Transfer Case
      G05241063Courtesy of © TOYOTA, LICENSE AGREEMENT TMS1002
    2. Install a new transfer pinion bearing spacer and anew transfer driven pinion rear bearing inner race to the driven pinion.
      Fig 6: Identifying Transfer Pinion Bearing Spacer And Inner Race To Driven Pinion
      G05241064Courtesy of © TOYOTA, LICENSE AGREEMENT TMS1002
    3. Using SST(s), tighten a new transfer gear nut (at a standard torque.)

      SST 09326-20011, 09556-16030 

      Torque: 277 to 378 N*m (2,820 to 3,855 kgf*cm, 204 to 279 ft.*lbf) 

      NOTE: Do not stake the transfer gear nut.

      HINT:

      Use a torque wrench with a fulcrum length of 750 mm (29.53 in.)

      Fig 7: Tightening Transfer Gear Nut
      G05241065Courtesy of © TOYOTA, LICENSE AGREEMENT TMS1002
  8. INSPECT AND ADJUST DRIVEN PINION PRELOAD 
    1. Using SST(s) and a torque wrench, measure thee initial torque of the driven pinion.

      SST 09326-20011, 09556-16030 

      Torque: New bearing 

      1.1 to 1.6 N*m (10 to 16 kgf*cm, 9.7 to 14.2 in.*lbf) 

      Used bearing 

      0.9 to 1.4 N*m (9 to 14 kgf*cm, 8.0 to 12.4 in.*lbf) 

      HINT:

      Use a torque wrench with a fulcrum length of 160 mm (6.30 in.)

      NOTE: Measure preload after rotating the bearing both clockwise and counterclockwise to make it fit.
    2. Fig 8: Checking Driven Pinion Preload Using SST(s)
      G05241066Courtesy of © TOYOTA, LICENSE AGREEMENT TMS1002
    3. If the preload is too large, replace the transfer pinion bearing spacer with a new one.
    4. If the preload is too small, repeatedly adjust the preload by tightening the transfer gear nut 5 to 10 degrees at a time until the standard value is obtained.
    5. If the preload is insufficient, even though the tightening torque of the transfer gear nut exceeds the maximum of the standard value., loosen the transfer gear nut and apply gear oil SAE 90 (GL-5) to the transfer gear nut and the screw thread and the base of driven pinion. And then repeat the preceding operation. If the tightening torque is bearing spacer with anew one and adjust it.

      Torque: 378 N*m (3.855 kgf*cm, 279 ft.*lbf) 

  9. INSTALL RING GEAR 
    1. Heat the ring gear in boiling water from 90 to 100°C (194 to 212°F).
    2. Completely remove grease and moisture on the contact surfaces of the ring gear and the transfer ring gear mounting case.
      Fig 9: Heating Ring Gear
      G05241067Courtesy of © TOYOTA, LICENSE AGREEMENT TMS1002
    3. Align the matchmarks on the ring gear and transfer ring gear mounting case and quickly assemble them.
    4. Tighten the 12 bolts.

      Torque: 78 N*m (790 kgf*cm, 57 ft.*lbf) 

      NOTE:
      • Tighten the bolts in diagonal order in splitting several times.
      • After the ring gear has well cooled down, fully tighten the bolts.
      • Mark the bolt heads in order to check if they are retightened or not.
        Fig 10: Locating Matchmarks On Ring Gear And Transfer Ring Gear Mounting Case
        G05139151Courtesy of © TOYOTA, LICENSE AGREEMENT TMS1002
  10. INSTALL CENTER DIFFERENTIAL CASE TAPERED ROLLER BEARING 
    1. Using SST(s) and a press, install the inner race of the center differential case tapered roller bearing to the transfer ring gear mounting case.

      SST 09506-35010, 09950-60010 (09951 -00430), 09223-00010 

      NOTE: When replacing the inner race, replace it together with the outer race.
      Fig 11: Identifying Center Differential Case Tapered Roller Bearing
      G05241069Courtesy of © TOYOTA, LICENSE AGREEMENT TMS1002
  11. INSTALL TRANSFER RING GEAR MOUNTING CASE 
    1. Install the transfer ring gear mounting case to the transfer case.
      NOTE: Damage to the spline, the bearing's rotating surface and gear face may cause a decrease in their strength. Care should be taken when installing them.
    Fig 12: Installing Transfer Ring Gear Mounting Case
    G05241041Courtesy of © TOYOTA, LICENSE AGREEMENT TMS1002
  12. INSTALL NO. 2 TRANSFER RING GEAR MOUNTING CASE WASHER 
    1. Install the No. 2 transfer ring gear mounting case washer to the transfer RH bearing retainer sub-assembly.

      HINT:

      Reuse the washer.

  13. INSTALL CENTER DIFFERENTIAL CASE TAPERED ROLLER BEARING 
    1. Using SST(s) and a press, install the center differential case tapered roller bearing RH outer race to the transfer RH bearing retainer sub-assembly.

      SST 09950-60010 (09951 -00620), 09950-70010 (09951-07150) 

      Fig 13: Installing Center Differential Case Tapered Roller Bearing
      G05241071Courtesy of © TOYOTA, LICENSE AGREEMENT TMS1002
  14. INSTALL TRANSFER RH BEARING RETAINER SUB-ASSEMBLY 
    1. Place the transfer with the surface where the transfer RH bearing retainer sub-assembly is facing up.
    2. Align the centers of the transfer ring gear mounting case and the transfer case.
      Fig 14: Identifying Transfer RH Bearing Retainer Sub-Assembly
      G05241072Courtesy of © TOYOTA, LICENSE AGREEMENT TMS1002
    3. Insert SST into the transfer RH bearing retainer sub-assembly.

      SST 09387-00090 

      Fig 15: Inserting SST Into Transfer RH Bearing Retainer Sub-Assembly
      G05241073Courtesy of © TOYOTA, LICENSE AGREEMENT TMS1002
    4. With SST and the transfer RH bearing sub-assembly in close contact, install the transfer RH bearing retainer sub-assembly together with SST into the transfer case.
      NOTE: Avoid interference between the case and the retainer, and between the SST and the transfer ring gear mounting case.

      HINT:

      If the engagement is tight, tap SST with a hammer placing a brass bar on the center of SST.

    5. Make sure that the transfer RH bearing retainer sub-assembly and transfer case contact closely.
      Fig 16: Installing Transfer RH Bearing Retainer Sub-Assembly
      G05241074Courtesy of © TOYOTA, LICENSE AGREEMENT TMS1002
    6. Tighten the 7 bolts evenly in order shown in the illustration.

      Torque: 28 N*m (286 kgf*cm, 21 ft.*lbf) 

      Fig 17: Locating Bolts Tighten Sequence
      G05241075Courtesy of © TOYOTA, LICENSE AGREEMENT TMS1002
    7. Remove the SST.
      Fig 18: Removing SST
      G05241076Courtesy of © TOYOTA, LICENSE AGREEMENT TMS1002
  15. INSPECT DIFFERENTIAL RING GEAR BACKLASH 
    1. Set the dial gauge perpendicular to the ring gear face, fix the driven pinion, and check backlash by moving the ring gear.

      Backlash: 

      0.10 to 0.15 mm (0.0039 to 0.0059 in.) 

      NOTE: Measure it at 3 points or more on the ring gear periphery.
      Fig 19: Checking Differential Ring Gear Backlash
      G05241056Courtesy of © TOYOTA, LICENSE AGREEMENT TMS1002
    2. If the measured value is out of standard, select a proper washer for the center differential case tapered roller bearing on the LH side from the table below and install it to obtain the standard value.
      WASHER THICKNESS REFERENCE

      Mark Washer Thickness mm (in.) Mark Washer Thickness mm (in.) Mark Washer Thickness mm (in.)
      AA 2.07 (0.0814) AB 2.10(0.0826) AC 2.13 (0.0838)
      BA 2.16 (0.0850) BB 2.19(0.0862) BC 2.22 (0.0874)
      CA 2.25 (0.0885) CB 2.28 (0.0897) CC 2.31 (0.0909)
      DA 2.34 (0.0921) DB 2.37 (0.0933) DC 2.40 (0.0944)
      EA 2.43 (0.0956) EB 2.46 (0.0968) EC 2.49 (0.0980)
      FA 2.52 (0.0992) FB 2.55 (0.1003) FC 2.58 (0.1015)
      GA 2.61 (0.1027) GB 2.64 (0.1039) GC 2.67 (0.1051)
      HA 2.70 (0.1062) HB 2.73 (0.1074) HC 2.76 (0.1086)
      JA 2.79 (0.1098) JB 2.82 (0.1110) JC 2.85 (0.1122)
      KA 2.88 (0.1133) KB 2.91 (0.1145) KC 2.94 (0.1157)
      LA 2.97 (0.1169) LB 3.00 (0.1181)    

      HINT:

      When the backlash is larger or smaller than the standard, select a thinner or thicker washer respectively.

    3. Ring gear mounting case plate washer location is shown in the illustration.
      Fig 20: Identifying Ring Gear Mounting Case Plate Washer Location
      G05241078Courtesy of © TOYOTA, LICENSE AGREEMENT TMS1002
  16. INSPECT TOOTH CONTACT BETWEEN RING GEAR AND DRIVE PINION 
    1. Apply red lead primer thinly and uniformly to both faces of the ring gear and rotate it several times.
      NOTE: Check the tooth contact on the ring gear at 4 places or more.
      Fig 21: Applying Red Lead Primer On Ring Gear
      G05241057Courtesy of © TOYOTA, LICENSE AGREEMENT TMS1002
    2. Observe the pattern shown by red lead primer.
      Fig 22: Identifying Ring Gear And Drive Pinion Tooth Contact Pattern
      G05241080Courtesy of © TOYOTA, LICENSE AGREEMENT TMS1002
    3. In case of poor tooth contact, select a washer for the driven pinion bearing front side from the following table and replace it.
      NOTE: If the washer thickness is changed, the backlash will be also changed.
      WASHER THICKNESS REFERENCE

      Mark Washer Thickness mm (in.) Mark Washer Thickness mm (in.) Mark Washer Thickness mm (in.)
      AA 1.20 (0.0472) AC 1.22(0.0480) BB 1.24 (0.0488)
      CA 1.26 (0.0496) CC 1.28(0.0503) DB 1.30 (0.0511)
      EA 1.32 (0.0519) EC. 1.34(0.0527) FB 1.36 (0.0535)
      GA 1.38 (0.0543) GC 1.40(0.0551) HB 1.42 (0.0559)
      JA 1.44 (0.0566) JC 1.46(0.0574) KB 1.48 (0.0582)
      LA 1.50 (0.0590) LC 1.52(0.0598) MB 1.54 (0.0606)
      NA 1.56 (0.0614) NC 1.58(0.0622) PB 1.60 (0.0629)
      QA 1.62 (0.0637) QC 1.64(0.0645)    
    4. The location of the transfer output washer for tooth contact adjustment is shown in the illustration.
      Fig 23: Identifying Location Of Transfer Output Washer For Tooth Contact Adjustment
      G05241081Courtesy of © TOYOTA, LICENSE AGREEMENT TMS1002
  17. ADJUST TOTAL PRELOAD 
    1. Using SST(s) and a torque wrench, measure the initial torque with the driven pinion bearing contact with the ring gear face.

      SST 09326-20011 

      Torque: New bearing 

      +0.2 to 0.4 N*m (+2.3 to 3.9 kgf*cm, 1.8 to 3.5 in.*lbf) 

      Used bearing 

      +0.15 to 0.30 N*m (+1.6 to 3.1 kgf*cm, 1.3 to 2.7 in.*lbf) 

      NOTE: Before measurement, rotate the bearing in both directions several times to make it fit.

      HINT:

      Use a torque wrench with a fulcrum length of 160 mm (6.30 in.)

    2. Fig 24: Checking Total Preload Of Drive Pinion
      G05241082Courtesy of © TOYOTA, LICENSE AGREEMENT TMS1002
    3. If the value is out of standard range, select the washer for the center differential case tapered roller bearing RH side from the following table and replace it.
      WASHER THICKNESS REFERENCE

      Mark Washer Thickness mm (in.) Mark Washer Thickness mm (in.) Mark Washer Thickness mm (in.)
      AA 1.47 (0.0578) AB 1.50(0.0590) AC 1.53 (0.0602)
      BA 1.56 (0.0614) BB 1.59(0.0625) BC 1.62 (0.0637)
      CA 1.65 (0.0649) CB 1.68(0.0661) CC 1.71 (0.0673)
      DA 1.74 (0.0685) DB 1.77(0.0696) DC 1.80 (0.0708)
      EA 1.83 (0.0720) EB 1.86(0.0732) EC 1.89 (0.0744)
      FA 1.92 (0.0755) FB 1.95(0.0767) FC 1.98 (0.0779)
      GA 2.01 (0.0790) GB 2.04 (0.0803) GC 2.07 (0.0814)
      HA 2.10 (0.0826) HB 2.13 (0.0838) HC 2.16 (0.0850)
      JA 2.19 (0.0862) JB 2.22 (0.0874) JC 2.25 (0.0885)
      KA 2.28 (0.0897) KB 2.31 (0.0909) KC 2.34 (0.0921)
      LA 2.37 (0.0933) LB 2.40 (0.0944) LC 2.43 (0.0956)
      MA 2.46 (0.0968) MB 2.49 (0.0980) MC 2.52 (0.0992)
      NA 2.55 (0.1003) NB 2.58 (0.1015)    
    4. The location of the transfer ring gear mounting case washer No. 2 for preload adjustment is show in the illustration.
      Fig 25: Identifying Location Of Transfer Ring Gear Mounting Case Washer No 2
      G05241083Courtesy of © TOYOTA, LICENSE AGREEMENT TMS1002
    5. Using a chisel, stake the transfer gear nut.
      Fig 26: Staking Transfer Gear Nut
      G05241084Courtesy of © TOYOTA, LICENSE AGREEMENT TMS1002
  18. REMOVE TRANSFER RH BEARING RETAINER SUB-ASSEMBLY 
    1. Remove the 7 bolts from the transfer RH bearing retainer sub-assembly.
      Fig 27: Locating Transfer RH Bearing Retainer Sub-Assembly With Bolts
      G05241035Courtesy of © TOYOTA, LICENSE AGREEMENT TMS1002
    2. Using SST, make a clearance between the transfer RH bearing retainer sub-assembly and the transfer case.

      SST 09950-00020 

    3. Remove the SST
      Fig 28: Identifying Transfer RH Bearing Retainer Sub-Assembly And Transfer Case With SST
      G05241036Courtesy of © TOYOTA, LICENSE AGREEMENT TMS1002
    4. Using SST, remove the transfer RH bearing retainer sub-assembly from the transfer case.

      SST 09520-10021 

      Fig 29: Removing Transfer RH Bearing Retainer Sub-Assembly And Transfer Case
      G05241037Courtesy of © TOYOTA, LICENSE AGREEMENT TMS1002
  19. REMOVE CENTER DIFFERENTIAL CASE TAPERED ROLLER BEARING 
    1. Fix the transfer RH bearing retainer sub-assembly in a vise.
    2. Using SST(s), remove the center differential case tapered roller bearing RH outer race and transfer ring gear mounting case washer No. 2 from the transfer RH bearing retainer sub-assembly.

      SST 09308-00010 

      Fig 30: Removing Center Differential Case Tapered Roller Bearing
      G05241088Courtesy of © TOYOTA, LICENSE AGREEMENT TMS1002
  20. INSTALL SIDE GEAR SHAFT HOLDER BEARING 
    1. Install the side gear shaft holder bearing to the transfer RH bearing retainer sub-assembly.
    2. Using snap ring pliers, install the side gear shaft holder hole snap ring.

      HINT:

      Check that the side gear shaft holder hole snap ring fits in the groove of the transfer RH bearing retainer sub-assembly.

      Fig 31: Installing Side Gear Shaft Holder Hole Snap Ring
      G05241089Courtesy of © TOYOTA, LICENSE AGREEMENT TMS1002
  21. INSTALL TRANSFER RH BEARING RETAINER OIL SEAL 
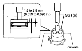
    1. Using SST(s) and a press, install the transfer RH bearing retainer oil seal No. 2 to the transfer RH bearing retainer sub-assembly.

      SST 09950-60010(09951-00350,09951-00560, 09952-06010), 09950-70010 (09951-07150) 

      NOTE: Carefully press-fit so that the oil seal will not be tilted.
    2. Fig 32: Identifying Transfer Rh Bearing Retainer Oil Seal Gap Dimension
      G05241090Courtesy of © TOYOTA, LICENSE AGREEMENT TMS1002
    3. Apply small amount of MP grease No. 2 to the oil seal lip.
  22. INSTALL NO. 2 TRANSFER RING GEAR MOUNTING CASE WASHER 
    1. Install the No. 2 selected transfer ring gear mounting washer to the transfer RH bearing retainer sub-assembly.
  23. INSTALL CENTER DIFFERENTIAL CASE TAPERED ROLLER BEARING 
    1. Using SST(s) and a press, install the center differential case tapered roller bearing RH outer race to the transfer RH bearing retainer sub-assembly.

      SST 09950-60010 (09951-00620), 09950-70010 (09951-07150) 

      Fig 33: Identifying Center Differential Case Tapered Roller Bearing
      G05241091Courtesy of © TOYOTA, LICENSE AGREEMENT TMS1002
  24. INSTALL O-RING 
    1. Coat the 2 O-rings with hypoid gear oil.
    2. Install the 2 O-rings to the transfer RH bearing retainer sub-assembly.
      NOTE: Be careful not to twist the O-ring and fit it properly in the retainer's groove.
      Fig 34: Installing O-Rings To Transfer RH Bearing Retainer Sub-Assembly
      G05241092Courtesy of © TOYOTA, LICENSE AGREEMENT TMS1002
  25. INSTALL TRANSFER RH BEARING RETAINER SUB-ASSEMBLY 
    1. Place the transfer with the surface where the transfer RH bearing retainer sub-assembly is facing up.
    2. Align the centers of the transfer ring gear mounting case and the transfer case.
    3. Apply MP grease No. 2 thinly to area A as shown in the illustration.

      HINT:

      Apply MP grease No. 2 to prevent the oil seal lip from rolling back.

      Fig 35: Identifying Transfer RH Bearing Retainer Sub-Assembly Grease Area
      G05241093Courtesy of © TOYOTA, LICENSE AGREEMENT TMS1002
    4. Insert SST into the transfer RH bearing retainer sub-assembly.

      SST 09387-00090 

      NOTE: Insert SST straight in order not to damage the oil seal.
      Fig 36: Inserting SST Transfer RH Bearing Retainer Sub-Assembly
      G05241073Courtesy of © TOYOTA, LICENSE AGREEMENT TMS1002
    5. With SST and the transfer RH bearing sub-assembly in close contact, install the transfer RH bearing retainer sub-assembly together with SST into the transfer case.
      NOTE:
      • Avoid interference between the case and the retainer, and between the SST and the transfer ring gear mounting case.
      • Carefully check the retainer's O-ring for damage and incorrect fitting.

      HINT:

      • If the engagement is tight, tap SST with a hammer placing a brass bar on the center of SST.
      • If SST and retainer are not in close contact, the seal for the inner end of the retainer may not be properly aligned when the retainer goes into position. This may result in the lip of the oil seal being rolled back during installation.
      • If SST and retainer are not in close contact, the center of the retainer or transfer ring gear mounting case may come out of position when the retainer is being installed. This can cause the lip of the oil seal to be rolled back.
      Fig 37: Installing Transfer RH Bearing Retainer Sub-Assembly With SST
      G05241074Courtesy of © TOYOTA, LICENSE AGREEMENT TMS1002
    6. Make sure that the transfer RH bearing retainer sub-assembly and transfer case contact closely.
    7. Tighten the 7 bolts evenly in order shown in the illustration.

      Torque: 28 N*m (286 kgf*cm, 21 ft.*lbf) 

      Fig 38: Locating Bolt Tighten Sequence
      G05241075Courtesy of © TOYOTA, LICENSE AGREEMENT TMS1002
    8. Remove the SST.
      Fig 39: Removing SST
      G05241076Courtesy of © TOYOTA, LICENSE AGREEMENT TMS1002
  26. INSPECT TOTAL PRELOAD 
    1. Using SST(s) and a torque wrench, measure the initial torque with the driven pinion being in contact with the ring gear face.

      SST 09326-20011 

      Torque: New bearing 

      +0.2 to 0.4 N*m (+2.3 to 3.9 kgf*cm, 1.8 to 3.5 in.*lbf) 

      Used bearing 

      +0.15 to 0.30 N*m (+1.6 to 3.1 kgf*cm, 1.3 to 2.7 in.*lbf) 

      HINT:

      Use a torque wrench with a fulcrum length of 160 mm (6.30 in.)

      Fig 40: Checking Total Preload Of Drive Pinion
      G05241098Courtesy of © TOYOTA, LICENSE AGREEMENT TMS1002
  27. INSTALL TRANSFER RH BEARING RETAINER OIL SEAL 
    1. Using SST(s), install the transfer RH bearing retainer oil seal to the transfer RH bearing retainer sub-assembly to the position as shown in the illustration.

      SST 09223-46011 

      NOTE: Install the oil seal carefully so that it will not be tilted.
    2. Apply MP grease to the oil seal lip.
      Fig 41: Installing Transfer RH Bearing Retainer Oil Seal
      G05241099Courtesy of © TOYOTA, LICENSE AGREEMENT TMS1002
  28. INSTALL TRANSFER CASE OIL SEAL 
    1. Using SST(s), install the transfer case oil seal to the transfer case at the position as shown in the illustration.

      SST 09387-00010, 09950-70010 (09951 -07150) 

      NOTE: Install the oil seal carefully so that it will not be tilted.
    2. Apply small amount of MP grease to the oil seal lip.
      Fig 42: Installing Transfer Case Oil Seal
      G05139183Courtesy of © TOYOTA, LICENSE AGREEMENT TMS1002
  29. INSTALL CTR DIFFERENTIAL LOCK SLEEVE 
    1. Coat a new O-ring with hypoid gear oil.
    2. Install the O-ring to the CTR differential lock sleeve.
      NOTE: Be careful not to twist the O-ring and fit it properly in the retainer's groove.
      Fig 43: Installing O-Ring To CTR Differential Lock Sleeve
      G05241101Courtesy of © TOYOTA, LICENSE AGREEMENT TMS1002
    3. Using SST(s), install the CTR differential lock sleeve to the transfer case.

      SST 09950-60010 (09951-00610), 09950-70010 (09951-07150) 

      Fig 44: Installing CTR Differential Lock Sleeve To Transfer Case
      G05241102Courtesy of © TOYOTA, LICENSE AGREEMENT TMS1002
    4. Using snap ring pliers, install the shaft snap ring.
      NOTE: Check that the snap ring is fitted in the groove of the ring gear mounting case.
      Fig 45: Installing Shaft Snap Ring
      G05241103Courtesy of © TOYOTA, LICENSE AGREEMENT TMS1002
  30. INSTALL TRANSFER EXTENSION HOUSING TYPE T OIL SEAL 
    1. Using SST(s), install the transfer extension housing type T oil seal to the transfer extension housing at the position as shown in the illustration.

      SST 09950-60010 (09951-00380, 09951-00580, 09951-07150, 09952-06010), 09950-70010 

      NOTE: Install the oil seal carefully so that it will not be tilted.
    2. Apply small amount of MP grease No. 2 to the oil seal lip.
      Fig 46: Installing Transfer Extension Housing Type T Oil Seal
      G05241104Courtesy of © TOYOTA, LICENSE AGREEMENT TMS1002
  31. INSTALL TRANSFER EXTENSION HOUSING DUST DEFLECTOR 
    1. Using SST(s) and press, install a new transfer extension housing dust deflector to the transfer extension housing sub-assembly.

      SST 09950-60020 (09951-00710), 09950-70010 (09951-07150) 

      Fig 47: Identifying Transfer Extension Housing Dust Deflector
      G05241105Courtesy of © TOYOTA, LICENSE AGREEMENT TMS1002
  32. INSTALL TRANSFER EXTENSION HOUSING SUB-ASSEMBLY 
    1. Apply sealant 1281 to the transfer extension housing sub-assembly in continuous beaded from of 1.2 mm diameter as show in the illustration.
      NOTE:
      • Wipe any grease off from the attaching surfaces.
      • Install the transfer extension housing sub-assembly within 10 minutes after applying the sealant.
        Fig 48: Applying Sealant 1281 To Transfer Extension Housing Sub-Assembly
        G05241106Courtesy of © TOYOTA, LICENSE AGREEMENT TMS1002
    2. Install the transfer extension housing sub-assembly to the transfer case with the 4 bolts.

      Torque: 26 N*m (260 kgf*cm, 19 ft.*lbf) 

    3. Remove the transfer assembly from the overhaul attachment.
      Fig 49: Locating Transfer Extension Housing Sub-Assembly To Transfer Case
      G05241107Courtesy of © TOYOTA, LICENSE AGREEMENT TMS1002
  33. INSTALL TRANSFER AND TRANSAXLE SETTING STUD BOLT 
    1. Install the transfer and transaxle setting stud bolts to the parts of the transfer case as show in the illustration.

      Torque: 39 N*m (400 kgf*cm, 30 ft.*lbf) 

      NOTE: Install the sealant-coated side of the transfer and transaxle stud bolt to the transfer case.
      Fig 50: Identifying Sealant-Coated Part Of Transfer And Transaxle Setting Stud Bolt
      G05241108Courtesy of © TOYOTA, LICENSE AGREEMENT TMS1002
  34. INSTALL TRANSFER CASE STRAIGHT PIN 
    1. Using a plastic hammer, install the transfer case straight pins to the transfer case as shown in thee illustration.
      Fig 51: Identifying Transfer Case Straight Pin Dimension
      G05139192Courtesy of © TOYOTA, LICENSE AGREEMENT TMS1002
  35. INSTALL TRANSFER DYNAMIC DAMPER 
    1. Install the transfer dynamic damper to the transfer extension housing sub-assembly with the 3 bolts.

      Torque: 26 N*m (260 kgf*cm, 19 ft.*lbf) 

      Fig 52: Locating Transfer Dynamic Damper
      G05241110Courtesy of © TOYOTA, LICENSE AGREEMENT TMS1002
  36. INSTALL BREATHER OIL DEFLECTOR 
    1. Install the breather oil deflector to the transfer case cover No. 1 with the bolt.

      Torque: 6.5 N*m (66 kgf*cm, 57 in.*lbf) 

      NOTE: Be careful about the direction of the deflector's fold.
      Fig 53: Locating Breather Oil Deflector
      G05241111Courtesy of © TOYOTA, LICENSE AGREEMENT TMS1002
  37. INSTALL NO. 1 TRANSFER CASE COVER 
    1. Apply sealant 1281 to the transfer case cover No. 1 in a continuous bead of 1.2 mm diameter as show in the illustration.
      NOTE:
      • Wipe any grease off from the attaching surfaces.
      • Install the transfer case cover No. 1 within 10 minutes after application of the sealant.
        Fig 54: Identifying Sealant Area 1281 To Transfer Case Cover No 1
        G05241112Courtesy of © TOYOTA, LICENSE AGREEMENT TMS1002
    2. Install the transfer case cover No. 1 to the transfer case with 8 bolts.

      Torque: 20 N*m (200 kgf*cm, 14 ft.*lbf) 

      Fig 55: Locating Transfer Case Cover No 1 With Bolts
      G05241021Courtesy of © TOYOTA, LICENSE AGREEMENT TMS1002
  38. INSTALL TRANSFER CASE BREATHER PLUG 
    1. Using SST(s) and a hammer, install the transfer case breather plug to the transfer case cover No. 1.

      SST 09612-10093 (09612-10061) 

      Fig 56: Installing Transfer Case Breather Plug
      G05241114Courtesy of © TOYOTA, LICENSE AGREEMENT TMS1002
  39. INSTALL TRANSFER COVER GASKET 
    1. Install a new transfer cover gasket to the transfer case.
      Fig 57: Locating Transfer Cover Gasket To Transfer Case
      G05241019Courtesy of © TOYOTA, LICENSE AGREEMENT TMS1002