LEMON Manuals: Even more car manuals for everyone: 1960-2025
Home >> Toyota >> 2009 >> Sienna LE, AWD >> Repair and Diagnosis >> Engine Performance >> Engine Control Systems >> Engine Control System - System & Component Testing, On-Vehicle Inspection, Removal, Inspection & Installation >> Camshaft Timing Oil Control Valve Assembly >> Inspection
April 5, 2026: LEMON Manuals is launched! Read the announcement.

Camshaft Timing Oil Control Valve Assembly: Inspection

  1. INSPECT CAMSHAFT TIMING OIL CONTROL VALVE ASSEMBLY 
    1. Resistance inspection
      1. Using an ohmmeter, measure the resistance between the terminals.

        Resistance: 6.9 to 7.9 Ω at 20°C (68°F) 

        If necessary, replace the camshaft timing oil control valve assembly.

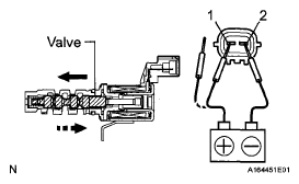
    2. Movement inspection
      1. Connect the positive (+) lead from the battery to terminal 1 and connect the negative (-) lead to terminal 2, and check the movement of the valve.
        NOTE: Confirm that the valve moves freely and does not stick in any position.

        If necessary, replace the camshaft timing oil control valve assembly.

        Fig 1: Identifying Positive Lead Battery To Terminal 1 And Negative Lead To Terminal 2
        G05136346Courtesy of © TOYOTA, LICENSE AGREEMENT TMS1002

        HINT:

        Accumulation of foreign objects causes subtle pressure leaks. The subtle pressure leaks will cause the cam to advance, and this will cause a DTC to be set.