LEMON Manuals: Even more car manuals for everyone: 1960-2025
Home >> Toyota >> 2009 >> Tacoma X-Runner >> Repair and Diagnosis >> Steering >> Steering Column >> Steering Column Assembly >> Reassembly
April 5, 2026: LEMON Manuals is launched! Read the announcement.

Steering Column Assembly: Reassembly

  1. INSTALL NO.1 TILT STEERING SUPPORT COLLAR 
    1. Install the No. 1 tilt steering support collar from the steering column tube lower.
      Fig 1: Removing No.1 Tilt Steering Support Collar
      G06086799Courtesy of © TOYOTA, LICENSE AGREEMENT TMS1002
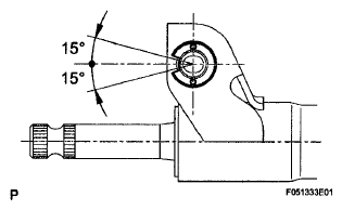
    2. Using a hammer and vise, install the steering column bracket spacer.
    NOTE:
    • The inclination of the steering column bracket spacer should be within +-15° when installing, as shown in the illustration.
    • The turning angle of the No. 1 tilt steering support collar should be within +-15° when installing.
    Fig 2: Identifying Inclination Angle Of Steering Column Bracket Spacer
    G06086800Courtesy of © TOYOTA, LICENSE AGREEMENT TMS1002
  2. INSTALL STEERING MAIN SHAFT ASSEMBLY 
    1. Install the steering main shaft onto the steering column tube upper and steering column tube lower.
    2. Using a snap ring expander, install a new snap ring onto the main shaft.
      Fig 3: Installing Snap Ring Onto Main Shaft
      G06086801Courtesy of © TOYOTA, LICENSE AGREEMENT TMS1002
    3. Install the steering column No. 1 ring onto the steering main shaft.
  3. INSTALL KEY INTER LOCK SOLENOID (for Automatic Transmission) 
    1. Install the key inter lock solenoid onto the steering column bracket assembly upper with 2 screws.
  4. INSTALL IGNITION OR STARTER SWITCH ASSEMBLY 
    1. Engage the ignition starter switch assembly into the steering column bracket assembly upper with the 2 claws.
    Fig 4: Identifying Steering Main Shaft Assembly
    G06086802Courtesy of © TOYOTA, LICENSE AGREEMENT TMS1002
  5. INSTALL UN-LOCK WARNING SWITCH ASSEMBLY 
    1. Install the un-lock warning switch assembly onto the steering column bracket assembly upper.
    2. Connect the un-lock warning switch assembly connector to the ignition switch assembly.
  6. INSTALL IGNITION SWITCH LOCK CYLINDER & KEY SET 
    1. Make sure that the ignition switch lock cylinder assembly is in the accessory position.
    2. Install the ignition switch lock cylinder assembly.

      HINT:

      When the ignition lock cylinder assembly engages, a click sound is heard.

  7. INSTALL TRANSPONDER KEY AMPLIFIER 
    NOTE: Take care not to push the amplifier up forcibly to prevent it from being damaged.
    1. Align the transponder key amplifier with the installation position of the upper bracket with the amplifier inclined.
    2. Push up the transponder key amplifier and connect it to the upper bracket.
  8. INSPECT STEERING LOCK OPERATION 
    1. Check that the steering mechanism is activated when removing the key.
    2. Check that the steering mechanism is deactivated when inserting the key and turning it to ACC position.
  9. INSTALL UPPER STEERING COLUMN CLAMP 
    1. Provisionally install the steering column bracket assembly upper and steering column upper clamp with the 2 new tapered-head bolts.
    2. Tighten the 2 tapered-head bolts until the bolt heads break off.
  10. INSTALL TILT LEVER RETURN SPRING 
    1. Install the tilt lever return spring onto the bracket and steering tilt lever.
    Fig 5: Identifying Tilt Lever Return Spring
    G06086803Courtesy of © TOYOTA, LICENSE AGREEMENT TMS1002
  11. INSTALL STEERING INTERMEDIATE SHAFT ASSEMBLY 
    1. Align the matchmarks on the steering intermediate shaft sub-assembly and steering main shaft assembly.
    2. Temporarily install the steering intermediate shaft sub-assembly with the bolt.

      Torque: 35 N*m (357 kgf*cm, 26 ft.*lbf) 

      Fig 6: Locating Steering Intermediate Shaft Sub-Assembly With Bolt
      G06086804Courtesy of © TOYOTA, LICENSE AGREEMENT TMS1002