LEMON Manuals: Even more car manuals for everyone: 1960-2025
Home >> Toyota >> 2009 >> Tundra Base, 4.0 U >> Repair and Diagnosis >> External Pages >> Different car >> Section 249 (Engine Control System (2TR-FE)) >> SFI System >> DTC P0110 Intake Air Temperature Circuit; DTC P0112 Intake Air Temperature Circuit Low Input; DTC P0113 Intake Air Temperature Circuit High Input >> Inspection Procedure
April 5, 2026: LEMON Manuals is launched! Read the announcement.

Inspection Procedure

WARNING: This page is about a different car, the 2009 Toyota Tacoma. However, it is still accessible from the selected car via links, so may be relevant.

HINT:

  1. READ DATA LIST (INTAKE AIR TEMPERATURE) 
    1. Connect the Techstream to the DLC3.
    2. Turn the ignition switch to ON and turn the Techstream ON.
    3. Enter the following menus: Powertrain/Engine and ECT/All Data/Intake Air.
    4. Read the values displayed on the Techstream.

      Standard: 

      Same value as actual IAT. 

      Result 

      RESULT CHART

      Temperature Displayed Proceed to
      -40°C (-40°F) A
      140°C (284°F) B
      Same as actual IAT C

      HINT:

      • If there is an open circuit, the Techstream indicates -40°C (-40°F).
      • If there is a short circuit, the Techstream indicates 140°C (284°F).

        B:  Go to step  4

        C: CHECK FOR INTERMITTENT PROBLEMS  (See CHECK FOR INTERMITTENT PROBLEMS  )

        A: Go to next step 

  2. READ DATA LIST (CHECK FOR OPEN IN WIRE HARNESS) 
    1. Disconnect the M1 MAF meter connector.
    2. Connect terminals THA and E2 of the MAF meter wire harness side connector.
    3. Connect the Techstream to the DLC3.
    4. Turn the ignition switch to ON and turn the Techstream ON.
    5. Enter the following menus: Powertrain/Engine and ECT/All Data/Intake Air.
    6. Read the value displayed on the Techstream.

      Standard: 

      140°C (284°F) 

    7. Reconnect the MAF meter connector.

      OK: CONFIRM GOOD CONNECTION TO SENSOR. IF OK, REPLACE MASS AIR FLOW METER 

      Fig 1: Checking For Open In Wire Harness
      G05198106Courtesy of © TOYOTA, LICENSE AGREEMENT TMS1002

      NG: Go to next step 

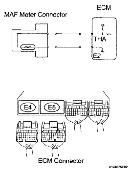
  3. READ DATA LIST (CHECK FOR OPEN IN ECM) 
    1. Disconnect the M1 MAF meter connector.
    2. Connect terminals THA and E2 of the ECM connector.

      HINT:

      Before checking, do a visual and contact pressure check for the ECM connector.

    3. Connect the Techstream to the DLC3.
    4. Turn the ignition switch to ON and turn the Techstream ON.
    5. Enter the following menus: Powertrain/Engine and ECT/All Data/Intake Air.
    6. Read the value displayed on the Techstream.

      Standard: 

      140°C (284°F) 

    7. Reconnect the MAF meter connector.

      NG: CONFIRM GOOD CONNECTION TO ECM. IF OK, REPLACE ECM  (See REMOVAL  )

      Fig 2: Checking For Open In ECM
      G05198107Courtesy of © TOYOTA, LICENSE AGREEMENT TMS1002

      OK: REPAIR OR REPLACE HARNESS OR CONNECTOR 

  4. READ DATA LIST (CHECK FOR SHORT IN WIRE HARNESS) 
    1. Disconnect the M1 MAF meter connector.
    2. Connect the Techstream to the DLC3.
    3. Turn the ignition switch to ON and turn the Techstream ON.
    4. Enter the following menus: Powertrain/Engine and ECT/All Data/Intake Air.
    5. Read the value displayed on the Techstream.

      Standard: 

      -40°C (-40°F) 

    6. Reconnect the MAF meter connector.
      Fig 3: Checking For Short In Wire Harness
      G05198108Courtesy of © TOYOTA, LICENSE AGREEMENT TMS1002

      OK: REPLACE MASS AIR FLOW METER 

      NG: Go to next step 

  5. READ DATA LIST (CHECK FOR SHORT IN ECM) 
    1. Disconnect the E4 and E5 ECM connector.
    2. Connect the Techstream to the DLC3.
    3. Turn the ignition switch to ON and turn the Techstream ON.
    4. Enter the following menus: Powertrain/Engine and ECT/All Data/Intake Air.
    5. Read the value displayed on the Techstream.

      Standard: 

      -40°C (-40°F) 

    6. Reconnect the ECM connectors.

      NG: REPLACE ECM  (See REMOVAL  )

      Fig 4: Checking For Short In ECM
      G05198109Courtesy of © TOYOTA, LICENSE AGREEMENT TMS1002

      OK: REPAIR OR REPLACE HARNESS OR CONNECTOR