LEMON Manuals: Even more car manuals for everyone: 1960-2025
Home >> Toyota >> 2009 >> Venza 2.7 E, AWD >> Repair and Diagnosis >> Brakes >> Traction Control >> Brake Control/Dynamic Control System >> Vehicle Stability Control System >> DTC C1249/49 Open in Stop Light Switch Circuit >> Inspection Procedure
April 5, 2026: LEMON Manuals is launched! Read the announcement.

Inspection Procedure

  1. CHECK STOP LIGHT OPERATION 
    1. Check that the stop lights come on when the brake pedal is depressed, and go off when the brake pedal is released.

      OK 

      ILLUMINATION CONDITION CHART

      Condition Illumination Condition
      Brake pedal depressed ON
      Brake pedal released OFF

      NG: Go to step  4

      OK: Go to next step 

  2. READ VALUE USING TECHSTREAM (STOP LIGHT SWITCH) 
    1. Connect the Techstream to the DLC3.
    2. Turn the ignition switch to ON.
    3. Select the Data List on the Techstream (See DATA LIST / ACTIVE TEST  ).

      ABS/VSC/TRAC 

      ABS/VSC/TRAC DATA LIST

      Tester Display Measurement Item/Range Normal Condition Diagnostic Note
      Stop Light SW Stop light switch / ON or OFF ON: Brake pedal depressed
      OFF: Brake pedal released
      -
    4. Check that the stop light switch display observed on the Techstream changes according to brake pedal operation.

      OK: 

      The Techstream displays ON or OFF according to brake pedal operation  .

      NG: Go to step  11

      OK: Go to next step 

  3. RECONFIRM DTC 
    1. Turn the ignition switch off.
    2. Clear the DTCs (See DTC CHECK / CLEAR  ).
    3. Start the engine.
    4. Depress the brake pedal several times to test the stop light circuit.
    5. Check if the same DTC is recorded (See DTC CHECK / CLEAR  ).

      Result 

      RESULT CHART

      Result Proceed to
      DTC (C1249/49) is not output A
      DTC (C1249/49) is output B

      HINT:

      If troubleshooting has been carried out according to Problem Symptoms Table, refer back to the table and proceed to the next step (See PROBLEM SYMPTOMS TABLE  ).

      B: REPLACE BRAKE ACTUATOR ASSEMBLY  (See REMOVAL  )

      A: CHECK FOR INTERMITTENT PROBLEMS  (See HOW TO PROCEED WITH TROUBLESHOOTING )

  4. INSPECT STOP FUSE 
    1. Remove the STOP fuse from the main body ECU (driver side junction block).
    2. Measure the resistance according to the value(s) in the table below.

      Standard Resistance 

      RESISTANCE SPECIFICATION

      Tester Connection Condition Specified Condition
      STOP (10 A) fuse Always Below 1 Ω

      Text in Illustration 

      ILLUSTRATION LEGEND

      *1 Main Body ECU (Driver Side Junction Block)
      *2 STOP Fuse
      Fig 1: Identifying Stop Fuse
      G06026107Courtesy of © TOYOTA, LICENSE AGREEMENT TMS1002

      NG: REPLACE STOP FUSE 

      OK: Go to next step 

  5. INSPECT STOP LIGHT SWITCH (POWER SOURCE TERMINAL) 
    1. Install the STOP fuse.
    2. Make sure that there is no looseness at the locking part and the connecting part of the connector.
    3. Disconnect the stop light switch connector.
    4. Measure the voltage according to the value(s) in the table below.

      Standard Voltage 

      VOLTAGE SPECIFICATION

      Tester Connection Condition Specified Condition
      A35-2 - Body ground Always 11 to 14 V

      Text in Illustration 

      ILLUSTRATION LEGEND

      *1 Front view of wire harness connector (to Stop Light Switch)
      Fig 2: Identifying Stop Light Switch Connector Terminals
      G06026108Courtesy of © TOYOTA, LICENSE AGREEMENT TMS1002

      NG: REPAIR OR REPLACE HARNESS OR CONNECTOR (POWER SOURCE CIRCUIT) 

      OK: Go to next step 

  6. INSPECT STOP LIGHT SWITCH 
    1. Measure the resistance according to the value(s) in the table below.

      Standard Resistance 

      RESISTANCE SPECIFICATION

      Tester Connection Switch Condition Specified Condition
      1 - 2 Switch pin free Below 1 Ω
      1 - 2 Switch pin pushed in 10 kΩ or higher
      Fig 3: Inspecting Stop Light Switch
      G06013863Courtesy of © TOYOTA, LICENSE AGREEMENT TMS1002

      NG: REPLACE STOP LIGHT SWITCH  (See STOP LIGHT SWITCH )

      OK: Go to next step 

  7. INSPECT STOP LIGHT CONTROL (BRK) RELAY 
    1. Remove the stop light control (BRK) relay.
    2. Measure the resistance according to the value(s) in the table below.

      Standard Resistance 

      RESISTANCE SPECIFICATION

      Tester Connection Condition Specified Condition
      3 - 4 Voltage is not applied between terminals 1 and 2 Below 1 Ω

      Text in Illustration 

      ILLUSTRATION LEGEND

      *1 Stop Light Control (BRK) Relay
      Fig 4: Inspecting Stop Light Control (BRK) Relay
      G06026110Courtesy of © TOYOTA, LICENSE AGREEMENT TMS1002

      NG: REPLACE STOP LIGHT CONTROL (BRK) RELAY 

      OK: Go to next step 

  8. CHECK HARNESS AND CONNECTOR (STOP LIGHT SWITCH - ENGINE ROOM RELAY BLOCK) 
    1. Measure the resistance according to the value(s) in the table below.

      Standard Resistance 

      RESISTANCE SPECIFICATION

      Tester Connection Condition Specified Condition
      A35-1 - Stop light control (BRK) relay terminal 4 Always Below 1 Ω

      Text in Illustration 

      ILLUSTRATION LEGEND

      *1 Front view of wire harness connector (to Stop Light Switch)
      *2 Engine Room Relay Block
      *3 Stop Light Control (BRK) Relay
      Fig 5: Identifying Stop Light Switch Connector And Engine Room Relay Block
      G06026111Courtesy of © TOYOTA, LICENSE AGREEMENT TMS1002

      NG: REPAIR OR REPLACE HARNESS OR CONNECTOR 

      OK: Go to next step 

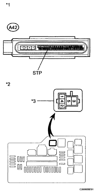
  9. CHECK HARNESS AND CONNECTOR (SKID CONTROL ECU - ENGINE ROOM RELAY BLOCK) 
    1. Make sure that there is no looseness at the locking part and the connecting part of the connector.
    2. Disconnect the skid control ECU connector.
    3. Measure the resistance according to the value(s) in the table below.

      Standard Resistance 

      RESISTANCE SPECIFICATION

      Tester Connection Condition Specified Condition
      A42-30 (STP) - Stop light control (BRK) relay terminal 3 Always Below 1 Ω

      Text in Illustration 

      ILLUSTRATION LEGEND

      *1 Front view of wire harness connector (to Brake Actuator (Skid Control ECU)
      *2 Engine Room Relay Block
      *3 Stop Light Control (BRK) Relay
      Fig 6: Identifying Skid Control ECU Connector And Engine Room Relay Block
      G06026112Courtesy of © TOYOTA, LICENSE AGREEMENT TMS1002

      NG: REPAIR OR REPLACE HARNESS OR CONNECTOR 

      OK: Go to next step 

  10. RECONFIRM DTC 
    1. Clear the DTCs (See DTC CHECK / CLEAR  ).
    2. Start the engine.
    3. Depress the brake pedal several times to test the stop light circuit.
    4. Check if the same DTC is recorded (See DTC CHECK / CLEAR  ).

      HINT:

      Reinstall the relay, connectors, etc. and restore the vehicle to its prior condition before rechecking for DTCs.

      Result 

      RESULT CHART

      Result Proceed to
      DTC (C1249/49) is not output A
      DTC (C1249/49) is output B

      HINT:

      If troubleshooting has been carried out according to Problem Symptoms Table, refer back to the table and proceed to the next step (See PROBLEM SYMPTOMS TABLE  ).

      B: REPLACE BRAKE ACTUATOR ASSEMBLY  (See REMOVAL  )

      A: INSPECT LIGHTING SYSTEM (STOP LIGHT CIRCUIT)  (See PROBLEM SYMPTOMS TABLE )

  11. CHECK HARNESS AND CONNECTOR (SKID CONTROL ECU - ENGINE ROOM RELAY BLOCK) 
    1. Turn the ignition switch off.
    2. Remove the stop light control (BRK) relay.
    3. Make sure that there is no looseness at the locking part and the connecting part of the connector.
    4. Disconnect the skid control ECU connector.
    5. Measure the resistance according to the value(s) in the table below.

      Standard Resistance 

      RESISTANCE SPECIFICATION

      Tester Connection Condition Specified Condition
      A42-30 (STP) - Stop light control (BRK) relay terminal 3 Always Below 1 Ω

      Text in Illustration 

      ILLUSTRATION LEGEND

      *1 Front view of wire harness connector (to Brake Actuator (Skid Control ECU)
      *2 Engine Room Relay Block
      *3 Stop Light Control (BRK) Relay
      Fig 7: Identifying Skid Control ECU Connector And Engine Room Relay Block
      G06026112Courtesy of © TOYOTA, LICENSE AGREEMENT TMS1002

      NG: REPAIR OR REPLACE HARNESS OR CONNECTOR 

      OK: REPLACE BRAKE ACTUATOR ASSEMBLY  (See REMOVAL  )