LEMON Manuals: Even more car manuals for everyone: 1960-2025
Home >> Toyota >> 2009 >> Venza 2.7 E, AWD >> Repair and Diagnosis >> Brakes >> Traction Control >> Brake Control/Dynamic Control System >> Vehicle Stability Control System >> TC and CG Terminal Circuit >> Inspection Procedure
April 5, 2026: LEMON Manuals is launched! Read the announcement.

Inspection Procedure

HINT:

When the warning lights continue to blink, a ground short in the wiring of terminal TC of the DLC3 or an internal ground short in one or more ECUs is suspected.

  1. CHECK CAN COMMUNICATION SYSTEM 
    1. Check if a CAN communication system DTC is output (See DIAGNOSIS SYSTEM ).

      Result 

      RESULT CHART

      Result Proceed to
      DTC is not output A
      DTC is output B

      B: INSPECT CAN COMMUNICATION SYSTEM  (See HOW TO PROCEED WITH TROUBLESHOOTING )

      A: Go to next step 

  2. INSPECT DLC3 
    1. Turn the ignition switch to ON.
    2. Measure the voltage according to the value(s) in the table below.

      Standard Voltage 

      VOLTAGE SPECIFICATION

      Tester Connection Switch Condition Specified Condition
      D1-13 (TC) - D1-4 (CG) Ignition switch ON 11 to 14 V

      Text in Illustration 

      ILLUSTRATION LEGEND

      *1 Front view of DLC3
      Fig 1: Identifying DLC3 Connector Terminals
      G06026145Courtesy of © TOYOTA, LICENSE AGREEMENT TMS1002

      NG: Go to step  4

      OK: Go to next step 

  3. CHECK ECM (TC of DLC3 INPUT) 
    1. Turn the ignition switch off.
    2. Reconnect the ECM connector.
    3. Using SST, connect terminals TC and CG of the DLC3.

      SST 09843-18040 

      Text in Illustration 

      ILLUSTRATION LEGEND

      *1 Front view of DLC3
      Fig 2: Identifying DLC3 Connector Terminals
      G06026145Courtesy of © TOYOTA, LICENSE AGREEMENT TMS1002
    4. Turn the ignition switch to ON.
    5. Check that the check engine warning light is blinking.

      Result 

      RESULT CHART

      Result Proceed to
      Check engine warning light is blinking A
      Check engine warning light is not blinking B

      HINT:

      If troubleshooting has been carried out according to Problem Symptoms Table, refer back to the table and proceed to the next step before replacing the part (See PROBLEM SYMPTOMS TABLE  ).

      B: REPAIR OR REPLACE WIRE HARNESS OR ECM (TC of ECM CIRCUIT) 

      A: REPLACE BRAKE ACTUATOR ASSEMBLY  (See REMOVAL  )

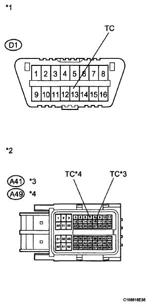
  4. CHECK HARNESS AND CONNECTOR (TC of DLC3 - ECM) 
    1. Turn the ignition switch off.
    2. Disconnect the ECM connector.
    3. Measure the resistance according to the value(s) in the table below.

      Standard Resistance for 2GR-FE 

      RESISTANCE SPECIFICATION

      Tester Connection Condition Specified Condition
      D1-13 (TC) - A41-16 (TC) Always Below 1 Ω
      D1-13 (TC) - Body ground Always 10 kΩ or higher

      for 1AR-FE 

      RESISTANCE SPECIFICATION

      Tester Connection Condition Specified Condition
      D1-13 (TC) - A49-7 (TC) Always Below 1 Ω
      D1-13 (TC) - Body ground Always 10 kΩ or higher

      Text in Illustration 

      ILLUSTRATION LEGEND

      *1 Front view of DLC3
      *2 Front view of wire harness connector (to ECM)
      *3 for 2GR0FE
      *4 FOR 1AR-FE
      Fig 3: Identifying DLC3 And ECM Connector Terminals
      G06026147Courtesy of © TOYOTA, LICENSE AGREEMENT TMS1002

      NG: REPAIR OR REPLACE HARNESS OR CONNECTOR 

      OK: Go to next step 

  5. CHECK HARNESS AND CONNECTOR (CG of DLC3 - BODY GROUND) 
    1. Measure the resistance according to the value(s) in the table below.

      Standard Resistance 

      RESISTANCE SPECIFICATION

      Tester Connection Condition Specified Condition
      D1-4 (CG) - Body ground Always Below 1 Ω

      Text in Illustration 

      ILLUSTRATION LEGEND

      *1 Front view of DLC3
      Fig 4: Identifying CG Terminal Of DLC3 Connector
      G06026148Courtesy of © TOYOTA, LICENSE AGREEMENT TMS1002

      NG: REPAIR OR REPLACE HARNESS OR CONNECTOR 

      OK: Go to next step 

  6. CHECK ECM (TC of DLC3 INPUT) 
    1. Turn the ignition switch off.
    2. Reconnect the ECM connector.
    3. Using SST, connect terminals TC and CG of the DLC3.

      SST 09843-18040 

      Text in Illustration 

      ILLUSTRATION LEGEND

      *1 Front view of DLC3
      Fig 5: Identifying DLC3 Connector Terminals
      G06026145Courtesy of © TOYOTA, LICENSE AGREEMENT TMS1002
    4. Turn the ignition switch to ON.
    5. Check that the check engine warning light is blinking.

      Result 

      RESULT CHART

      Result Proceed to
      Check engine warning light is blinking A
      Check engine warning light is not blinking B

      HINT:

      If troubleshooting has been carried out according to Problem Symptoms Table, refer back to the table and proceed to the next step before replacing the part (See PROBLEM SYMPTOMS TABLE  ).

      B: REPAIR OR REPLACE WIRE HARNESS OR ECM (TC of ECM CIRCUIT) 

      A: REPLACE BRAKE ACTUATOR ASSEMBLY  (See REMOVAL  )