LEMON Manuals: Even more car manuals for everyone: 1960-2025
Home >> Toyota >> 2009 >> Venza 2.7 E, AWD >> Repair and Diagnosis >> Engine Performance >> System >> Engine Control System (1AR-FE) - System Testing, Removal & Installation >> ECM Power Source Circuit >> Inspection Procedure
April 5, 2026: LEMON Manuals is launched! Read the announcement.

Inspection Procedure

NOTE: Inspect the fuses for circuits related to this system before performing the following inspection procedure.
  1. CHECK HARNESS AND CONNECTOR (ECM - BODY GROUND) 
    1. Disconnect the ECM connector.
    2. Measure the resistance according to the value (s) in the table below.

      Standard Resistance (Check for Open) 

      TESTER CONNECTION SPECIFIED CONDITION CHART

      Tester Connection Condition Specified Condition
      B58-104 (E1) - Body ground Always Below 1 Ω

      Text in Illustration 

      ILLUSTRATION LEGEND

      *1 Front view of wire harness connector (to ECM)
    3. Fig 1: Identifying B58 ECM Connector Terminals
      G06023341Courtesy of © TOYOTA, LICENSE AGREEMENT TMS1002
    4. Reconnect the ECM connector.

      NG: REPAIR OR REPLACE HARNESS OR CONNECTOR (ECM - BODY GROUND) 

      OK: Go to Next Step 

  2. INSPECT ECM (IGSW VOLTAGE) 
    1. Disconnect the ECM connector.
    2. Turn the ignition switch to ON.
    3. Measure the voltage according to the value (s) in the table below.

      Standard Voltage 

      TESTER CONNECTION SPECIFIED CONDITION CHART

      Tester Connection Switch Condition Specified Condition
      A49-28 (IGSW) - Body ground Ignition switch ON 11 to 14 V

      Text in Illustration 

      ILLUSTRATION LEGEND

      *1 Front view of wire harness connector (to ECM)
    4. Fig 2: Identifying A49 ECM Connector Terminals
      G06023342Courtesy of © TOYOTA, LICENSE AGREEMENT TMS1002
    5. Reconnect the ECM connector.

      NG: Go to step  6

      OK: Go to Next Step 

  3. INSPECT ENGINE ROOM JUNCTION BLOCK ASSEMBLY (EFI MAIN RELAY) 
    1. Remove the engine room junction block assembly from the engine room relay block.
    2. Disconnect the engine room junction block assembly connector.
    3. Measure the resistance according to the value (s) in the table below.

      Standard Resistance 

      TESTER CONNECTION SPECIFIED CONDITION CHART

      Tester Connection Condition Specified Condition
      1E-1 - 1A-1 (Engine room junction block assembly) No battery voltage applied across terminals 1F-12 and 1F-4 or 1F-12 and 1F-5 10 kΩ or higher
      Battery voltage applied across terminals 1F-12 and 1F-4 or 1F-12 and 1F-5 Below 1 Ω
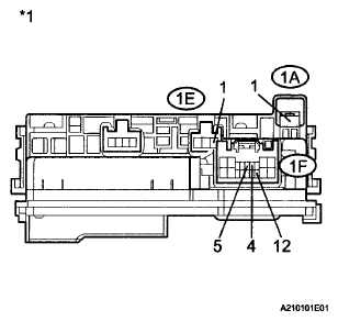
      Fig 3: Identifying Engine Room Junction Block Assembly
      G06023343Courtesy of © TOYOTA, LICENSE AGREEMENT TMS1002

      Text in Illustration 

      ILLUSTRATION LEGEND

      *1 Component without harness connected (Engine Room Junction Block Assembly)
    4. Reconnect the engine room junction block assembly connector.
    5. Reinstall the engine room junction block assembly.

      NG: REPLACE ENGINE ROOM JUNCTION BLOCK ASSEMBLY  (See REMOVAL )

      OK: Go to Next Step 

  4. CHECK HARNESS AND CONNECTOR (ENGINE ROOM JUNCTION BLOCK ASSEMBLY ECM) 
    1. Remove the engine room junction block assembly from the engine room relay block.
      Fig 4: Checking Harness And Connector (Engine Room Junction Block Assembly ECM)
      G06023344Courtesy of © TOYOTA, LICENSE AGREEMENT TMS1002
    2. Disconnect the engine room junction block assembly connector.
    3. Disconnect the ECM connector.
    4. Measure the resistance according to the value (s) in the table below.

      Standard Resistance (Check for Open) 

      TESTER CONNECTION SPECIFIED CONDITION CHART

      Tester Connection Condition Specified Condition
      1E-1 - A49-2 (+B) Always Below 1 Ω
      1E-1 - A49-1 (+B2) Always Below 1 Ω
      1F-12 - A49-6 (MREL) Always Below 1 Ω

      Standard Resistance (Check for Short) 

      TESTER CONNECTION SPECIFIED CONDITION CHART

      Tester Connection Condition Specified Condition
      1E-1 or A49-2 (+B) - Body ground Always 10 kΩ or higher
      1E-1 or A49-1 (+B2) - Body ground Always 10 kΩ or higher
      1F-12 or A49-6 (MREL) - Body ground Always 10 kΩ or higher

      Text in Illustration 

      ILLUSTRATION LEGEND

      *1 Engine Room Junction Block Assembly *2 Front view of wire harness connector (to Engine Room Junction Block Assembly)
      *3 Front view of wire harness connector (to ECM) - -
    5. Reconnect the ECM connector.
    6. Reconnect the engine room junction block assembly connector.
    7. Reinstall the engine room junction block assembly.

      NG: REPAIR OR REPLACE HARNESS OR CONNECTOR (ENGINE ROOM JUNCTION BLOCK ASSEMBLY - ECM) 

      OK: Go to Next Step 

  5. CHECK HARNESS AND CONNECTOR (ENGINE ROOM JUNCTION BLOCK ASSEMBLY BODY GROUND) 
    1. Remove the engine room junction block assembly from the engine room relay block.
      Fig 5: Checking Harness And Connector (Engine Room Junction Block Assembly Body Ground)
      G06023653Courtesy of © TOYOTA, LICENSE AGREEMENT TMS1002
    2. Disconnect the engine room junction block assembly connector.
    3. Measure the resistance according to the value (s) in the table below.

      Standard Resistance 

      TESTER CONNECTION SPECIFIED CONDITION CHART

      Tester Connection Condition Specified Condition
      1F-5 - Body ground Always Below 1 Ω
      1F-4 - Body ground Always Below 1 Ω

      Text in Illustration 

      ILLUSTRATION LEGEND

      *1 Engine Room Junction Block Assembly *2 Front view of wire harness connector (to Engine Room Junction Block Assembly)
    4. Reconnect the engine room junction block assembly connector.
    5. Reinstall the engine room junction block assembly.

      NG: REPAIR OR REPLACE HARNESS OR CONNECTOR (ENGINE ROOM JUNCTION BLOCK ASSEMBLY - BODY GROUND) 

      OK: REPAIR OR REPLACE HARNESS OR CONNECTOR (ENGINE ROOM JUNCTION BLOCK ASSEMBLY - BATTERY) 

  6. INSPECT RELAY (IG2 RELAY) 
    1. Remove the IG2 relay from the engine room relay block.
    2. Measure the resistance according to the value (s) in the table below.

      Standard Resistance 

      TESTER CONNECTION SPECIFIED CONDITION CHART

      Tester Connection Condition Specified Condition
      3-5 No battery voltage applied across terminals 1 and 2 10 kΩ or higher
      3-5 Battery voltage applied across terminals 1 and 2 Below 1 Ω
    3. Reinstall the IG2 relay.
      Fig 6: IG2 Relay Circuit Diagram
      G06023346Courtesy of © TOYOTA, LICENSE AGREEMENT TMS1002

      NG: REPLACE RELAY (IG2 RELAY) 

      OK: Go to Next Step 

  7. CHECK HARNESS AND CONNECTOR (IG2 RELAY - ECM) 
    1. Remove the IG2 relay from the engine room relay block.
      Fig 7: Checking Harness And Connector (IG2 Relay - ECM)
      G06023347Courtesy of © TOYOTA, LICENSE AGREEMENT TMS1002
    2. Disconnect the ECM connector.
    3. Measure the resistance according to the value (s) in the table below.

      Standard Resistance (Check for Open) 

      TESTER CONNECTION SPECIFIED CONDITION CHART

      Tester Connection Condition Specified Condition
      5 (IG2 relay terminal) - A49-28 (IGSW) Always Below 1 Ω

      Standard Resistance (Check for Short) 

      TESTER CONNECTION SPECIFIED CONDITION CHART

      Tester Connection Condition Specified Condition
      5 (IG2 relay terminal) or A49-28 (IGSW) - Body ground Always 10 kΩ or higher

      Text in Illustration 

      ILLUSTRATION LEGEND

      *1 Front view of wire harness connector (to ECM) *2 Engine Room Relay Block
    4. Reinstall the IG2 relay.
    5. Reconnect the ECM connector.

      NG: REPAIR OR REPLACE HARNESS OR CONNECTOR (IG2 RELAY - ECM) 

      OK: Go to Next Step 

  8. CHECK HARNESS AND CONNECTOR (IG2 RELAY POWER SOURCE) 
    1. Remove the IG2 relay from the engine room relay block.
    2. Measure the voltage according to the value (s) in the table below.

      Standard Voltage 

      TESTER CONNECTION SPECIFIED CONDITION CHART

      Tester Connection Condition Specified Condition
      3 (IG2 relay terminal) - Body ground Always 11 to 14 V

      Text in Illustration 

      ILLUSTRATION LEGEND

      *1 Engine Room Relay Block
    3. Fig 8: Checking Harness And Connector (IG2 Relay Power Source)
      G06023348Courtesy of © TOYOTA, LICENSE AGREEMENT TMS1002
    4. Reinstall the IG2 relay.

      NG: REPAIR OR REPLACE HARNESS OR CONNECTOR (IG2 RELAY - BATTERY) 

      OK: Go to Next Step 

  9. CHECK HARNESS AND CONNECTOR (IG2 RELAY - BODY GROUND) 
    1. Remove the IG2 relay from the engine room relay block.
    2. Measure the resistance according to the value (s) in the table below.

      Standard Resistance 

      TESTER CONNECTION SPECIFIED CONDITION CHART

      Tester Connection Condition Specified Condition
      2 (162 relay terminal) - Body ground Always Below 1 Ω

      Text in Illustration 

      ILLUSTRATION LEGEND

      *1 Engine Room Relay Block

      Result 

      RESULT CHART

      Result Proceed to
      OK (w/o Smart Key System) A
      OK (w/ Smart Key System) B
      NG C
      Fig 9: Identifying IG2 Relay
      G06023348Courtesy of © TOYOTA, LICENSE AGREEMENT TMS1002
    3. Reinstall the IG2 relay.

      B: Go to step  12

      C: REPAIR OR REPLACE HARNESS OR CONNECTOR (IG2 RELAY - BODY GROUND) 

      A: Go to Next Step 

  10. CHECK HARNESS AND CONNECTOR (IG2 RELAY - IGNITION SWITCH ASSEMBLY) 
    1. Remove the IG2 relay from the engine room relay block.
      Fig 10: Checking Harness And Connector (IG2 Relay - Ignition Switch Assembly)
      G06023350Courtesy of © TOYOTA, LICENSE AGREEMENT TMS1002
    2. Disconnect the ignition switch assembly connector.
    3. Measure the resistance according to the value (s) in the table below.

      Standard Resistance (Check for Open) 

      TESTER CONNECTION SPECIFIED CONDITION CHART

      Tester Connection Condition Specified Condition
      1 (IG2 relay terminal) - D12-6 (IG2) Always Below 1 Ω

      Standard Resistance (Check for Short) 

      TESTER CONNECTION SPECIFIED CONDITION CHART

      Tester Connection Condition Specified Condition
      1 (IG2 relay terminal) or D12-6 (IG2) - Body ground Always 10 kΩ or higher

      Text in Illustration 

      ILLUSTRATION LEGEND

      *1 Front view of wire harness connector (to Ignition Switch Assembly) *2 Engine Room Relay Block
    4. Reinstall the IG2 relay.
    5. Reconnect the ignition switch assembly connector.

      NG: REPAIR OR REPLACE HARNESS OR CONNECTOR (IG2 RELAY - IGNITION SWITCH ASSEMBLY) 

      OK: Go to Next Step 

  11. INSPECT IGNITION SWITCH ASSEMBLY 
    1. Disconnect the ignition switch assembly connector.
    2. Measure the resistance according to the value (s) in the table below.

      Standard Resistance 

      TESTER CONNECTION SPECIFIED CONDITION CHART

      Tester Connection Ignition Switch Position Specified Condition
      All terminals LOCK 10 kΩ or higher
      2-3 ACC Below 1 Ω
      2 - 3 - 4, 6 - 7 ON Below 1 Ω
      1 - 2 - 4,6 - 7 - 8 START Below 1 Ω

      Text in Illustration 

      ILLUSTRATION LEGEND

      *1 Component without harness connected (Ignition Switch Assembly)
    3. Fig 11: Identifying Ignition Switch Assembly Connector Terminals
      G06023351Courtesy of © TOYOTA, LICENSE AGREEMENT TMS1002
    4. Reconnect the ignition switch assembly connector.

      NG: REPLACE IGNITION SWITCH ASSEMBLY  (See IGNITION SWITCH )

      OK: REPAIR OR REPLACE HARNESS OR CONNECTOR (IGNITION SWITCH ASSEMBLY - BATTERY) 

  12. CHECK HARNESS AND CONNECTOR (IG2 RELAY - POWER MANAGEMENT CONTROL ECU) 
    1. Disconnect the power management control ECU connector.
      Fig 12: Checking Harness And Connector (IG2 Relay - Power Management Control ECU)
      G06023352Courtesy of © TOYOTA, LICENSE AGREEMENT TMS1002
    2. Remove the IG2 relay from the engine room relay block.
    3. Measure the resistance according to the value (s) in the table below.

      Standard Resistance (Check for Open) 

      TESTER CONNECTION SPECIFIED CONDITION CHART

      Tester Connection Condition Specified Condition
      1 (IG2 relay terminal) - D42-8 (IG2D) Always Below 1 Ω

      Standard Resistance (Check for Short) 

      TESTER CONNECTION SPECIFIED CONDITION CHART

      Tester Connection Condition Specified Condition
      1 (IG2 relay terminal) - D42-8 (IG2D) - Body ground Always 10 kΩ or higher

      Text in Illustration 

      ILLUSTRATION LEGEND

      *1 Front view of wire harness connector (to Power Management Control ECU) *2 Engine Room Relay Block
    4. Reconnect the power management control ECU connector.
    5. Reinstall the IG2 relay.

      NG: REPAIR OR REPLACE HARNESS OR CONNECTOR (IG2 RELAY - POWER MANAGEMENT CONTROL ECU) 

      OK: GO TO SMART KEY SYSTEM  (See PROBLEM SYMPTOMS TABLE )